P-0201-001.pdf - 第81页
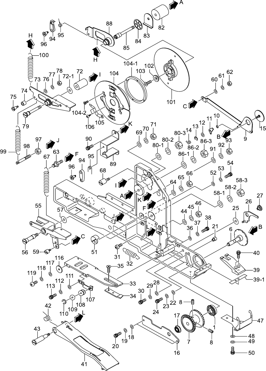
0108-002 6-2 ㇱຠ⇟ภ ㇱ ຠ ฬ ⠨ PART No . P ART NAME REMARKS CT-3291L CT-3292L CT-3291TL CT-3292TL 1 630 006 8979 BEARING,RAD I AL 1111 749R--01H-002 6 630 039 2890 GEA R 1 1 749R --01B-008 6 630 041 5025 GEA R 1 1 749S--01B…

0003-001
32mm ࠹ࡊࡈࠖ࠳ 32mm TAPE FEEDER
㧔☼⌕࠹ࡊ↪㧕 (for Adhesive Tape)
Fig. 6-2 ࠹ࡊ㚟േㇱ Tape Driving Section

0108-002
6-2
ㇱຠ⇟ภ ㇱ ຠ ฬ ⠨
PART No. PART NAME REMARKS
CT-3291L
CT-3292L
CT-3291TL
CT-3292TL
1 630 006 8979 BEARING,RADIAL 1111 749R--01H-002
6 630 039 2890 GEAR 1 1 749R--01B-008
6 630 041 5025 GEAR 1 1 749S--01B-008
7 630 050 8208 SPROCKET(ASSY SPROCKET) 1111
8 630 000 8920 SET SCREW 2222 M4X6 SET
9 630 050 8215 LEVER(ASSY SWING PLATE) 1 1
9 630 051 0898 LEVER(ASSY SWING PLATE) 1 1
10 630 010 6015 COLLAR 1111 749R--01B-012
11 630 039 3040 LEVER(RATCHET CLICK) 1 749R--01B-019
11 630 041 4912 LEVER(RATCHET CLICK) 1 1 749S--01B-019
12 411 088 9005 WASHER F 3X6X0.5 1111 FWS3 F
13 411 000 9304 RING E 2 1111 749S--01H-009
14 630 039 3033 SPRING,TORSION 1111 749R--01B-018
15 630 039 3118 PIN,LOCATE 1 1 749R--01B-038
15 630 041 5001 PIN,LOCATE 1 1 749S--01B-038
16 630 039 3415 FRAME 1 1 749R--01B-087
16 630 041 6695 FRAME 1 1 749S--01B-087
17 630 007 1641 BEARING,RADIAL 1111 749R--01H-001
18 411 141 3902 WASHER V 3X7X0.5 2222 FW3
19 411 141 2806 WASHER SPR 3 2222 SW3
20 630 000 7527 BOLT,HEX-SCT 2222 M3X10
21 630 041 2383 PIN,GUIDE 1111 749R--01B-020
22 411 141 3902 WASHER V 3X7X0.5 1111 FW3
23 411 141 2806 WASHER SPR 3 1111 SW3
24 630 000 7503 BOLT,HEX-SCT 1111 M3X6
25 630 039 2975 COLLAR 1111 749R--01B-014
26 630 050 7607 LEVER(ASSY LOCATE NOTCH) 1111
27 630 039 3088 PIN,LOCATE 1111 749R--01B-024
28 411 141 3902 WASHER V 3X7X0.5 1111 FW3
29 411 141 2806 WASHER SPR 3 1111 SW3
30 630 000 7503 BOLT,HEX-SCT 1111 M3X6
31 411 152 8101 SCR TRS 3X6 1111 749R--01H-006
32 630 039 3071 SPRING,TENSION 1111 749R--01B-023
33 630 037 8984 CHUTE 1111 749R--01B-095
34 630 037 8962 PLATE(SCRAPER) 1111 749R--01B-099
35 411 002 2600 SCR FLT 3X6 2222 M3X6 FLT
36 411 141 3902 WASHER V 3X7X0.5 3333 FW3
37 411 141 2806 WASHER SPR 3 3333 SW3
ᵈᗧ
NOTE
ᢙ㊂
Q'ty
⇟
ภ
Key No.

0003-001
6-2
ㇱຠ⇟ภ ㇱ ຠ ฬ ⠨
PART No. PART NAME REMARKS
CT-3291L
CT-3292L
CT-3291TL
CT-3292TL
38 630 000 7527 BOLT,HEX-SCT 3 3 3 3 M3X10
39 630 037 8971 CHUTE 1 1 749R--01B-081
39 630 041 6541 CHUTE 1 1 749S--01B-081
39 -1 630 041 4899 PLATE 1 1 749S--01B-101
40 630 000 7527 BOLT,HEX-SCT 2 2 2 2 M3X10
41 630 050 8239 LEVER(ASSY SUPPRESSOR) 1 1 1 1
42 630 039 3255 SPRING,TORSION 1 1 749R--01B-057
42 630 041 4974 SPRING,TORSION 1 1 749S--01B-057
43 630 037 3101 PIN,LOCATE(SUPPRESSOR) 1 1 1 1 749R--01B-037
44 411 141 4008 WASHER V 4X9X0.8 1 1 1 1 FW4
45 411 141 2905 WASHER SPR 4 1 1 1 1 SW4
46 411 141 0307 NUT HEX 4 1 1 1 1 M4
47 630 050 7645 HOOK(ASSY HOOK) 1 1
47 630 051 0928 HOOK(ASSY HOOK) 1 1
48 411 141 3902 WASHER V 3X7X0.5 2 2 2 2 FW3
49 411 141 2806 WASHER SPR 3 2 2 2 2 SW3
50 630 000 7503 BOLT,HEX-SCT 2 2 2 2 M3X6
51 630 039 3224 PIN,GUIDE 1 1 1 1 749R--01B-052
52 411 141 4008 WASHER V 4X9X0.8 1 1 1 1 FW4
53 411 141 2905 WASHER SPR 4 1 1 1 1 SW4
54 630 000 7640 BOLT,HEX-SCT 1 1 1 1 M4X14
55 630 037 8997 LEVER(SWING ARM) 1 1 749R--01B-013
55 630 041 5032 LEVER(SWING ARM) 1 1 749S--01B-013
56 630 039 2999 PIN,LOCATE(SWING ARM) 1 1 1 1 749R--01B-015
57 630 039 2975 COLLAR 1 1 1 1 749R--01B-014
58 -1 411 141 4107 WASHER V 5X10X1 1 1 1 1 FW5
58 -2 411 141 6705 WASHER SPR 5 1 1 1 1 SW5
58 -3 411 141 0505 NUT HEX 5 1 1 1 1 M5
59 630 039 2937 PIN,HINGE 1 1 1 1 749R--01B-011
60 411 141 3902 WASHER V 3X7X0.5 1 1 1 1 FW3
61 411 141 2806 WASHER SPR 3 1 1 1 1 SW3
62 411 140 9905 NUT HEX 3 1 1 1 1 M3
63 630 042 5765 HOOK 1 1 749R--01B-093
63 630 041 4943 HOOK 1 1 749S--01B-093
64 411 141 4008 WASHER V 4X9X0.8 1 1 1 1 FW4
65 411 141 2905 WASHER SPR 4 1 1 1 1 SW4
66 411 141 0307 NUT HEX 4 1 1 1 1 M4
67 630 042 8322 SPRING,TENSION 1 1 749R--01B-055
67 630 041 4882 SPRING,TENSION 1 1 749S--01B-055
68 630 039 3514 PIN,GUIDE 1 1 1 1 749R--01B-091
69 411 141 4008 WASHER V 4X9X0.8 1 1 1 1 FW4
70 411 141 2905 WASHER SPR 4 1 1 1 1 SW4
ᵈᗧ
NOTE
ᢙ㊂
Q'ty
⇟
ภ
Key No.