P-0201-001.pdf - 第88页
0108-002 32mm ࠹ࡊࡈࠖ࠳ 32mm TAPE FEEDER 㧔☼⌕࠹ࡊ↪㧕 (for Adhesive Tape) Fig. 6-6 TAG Assy TAG Assy TG-3251, 3252 TG-3251, 3252

0003-001
6-3
ㇱຠ⇟ภ ㇱ ຠ ฬ ⠨
PART No. PART NAME REMARKS
CT-3291L
CT-3292L
CT-3291TL
CT-3292TL
1 630 050 0677 FRAME(RL3251LA SUB ASSY1)
2 630 040 4760 PIN,LOCATE 582RL-01B-009
3 411 141 3902 WASHER V 3X7X0.5 FW3
4 411 141 2806 WASHER SPR 3 SW3
5 411 140 9905 NUT HEX 3 M3
6 630 040 4777 COLLAR 582RL-01B-010
7 630 040 2254 PLATE,LOCATE 582RL-01B-008
8 411 141 4008 WASHER V 4X9X0.8 FW4
9 411 141 2905 WASHER SPR 4 SW4
10 411 141 0307 NUT HEX 4 M4
11 630 040 4647 PIN,GUIDE 582RL-01B-016
12 630 040 4630 HOOK 582RL-01B-015
13 630 040 4623 PIN,LOCATE 582RL-01B-013
14 630 036 0967 BOLT(FLT HEX-SCT) 582RL-01H-002
15 630 040 2551 LEVER 582RL-01B-011
16 630 050 6266 LEVER(ASSY BRAKE)
17 411 152 8101 SCR TRS 3X6 582RL-01H-004
17 -1 411 141 2806 WASHER SPR 3 SW3
18 411 001 0201 RING E 5 582RL-01H-003
19 630 040 4579 SPRING,TENSION 582RL-01B-014
20 630 044 1871 PIN,GUIDE 582RL-01B-006
21 630 040 2124 BOLT,HEX-SCT(REEL HOLDER) 582RL-01B-007
22 411 004 6903 NUT HEX 6 M6-3 F
2
1
1
1
2
1
1
1
1
1
1
1
3
2
2
2
2
2
2
2
2
ᢙ㊂
Q'ty
1
2
⇟
ภ
Key No.
ᵈᗧ
NOTE

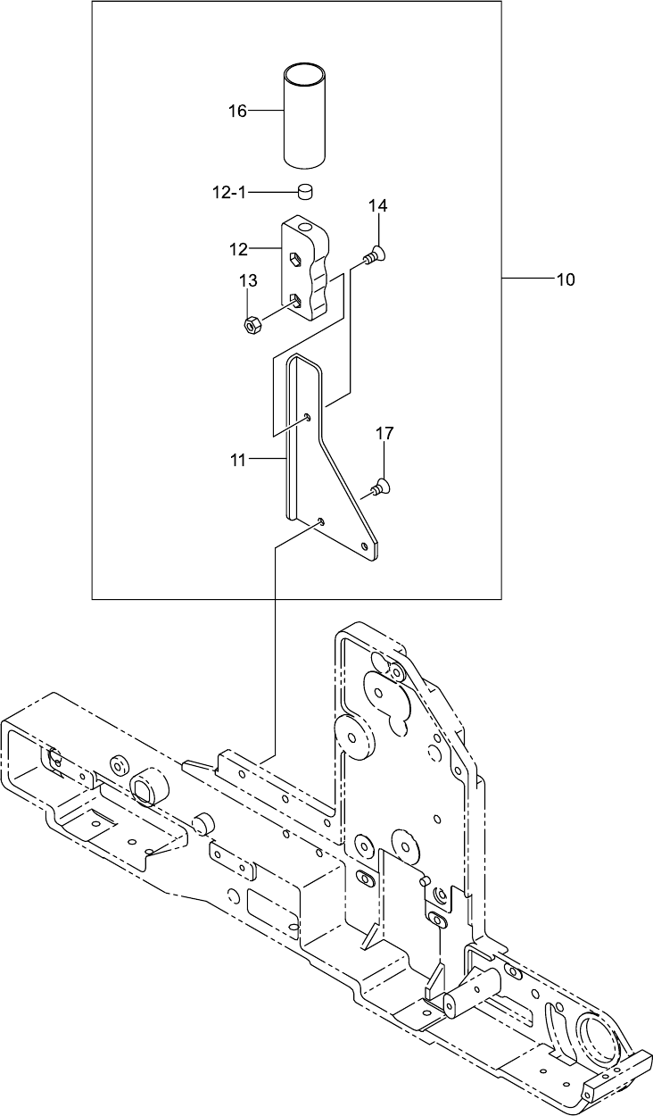
0108-002
32mm ࠹ࡊࡈࠖ࠳ 32mm TAPE FEEDER
㧔☼⌕࠹ࡊ↪㧕 (for Adhesive Tape)
Fig. 6-6 TAG Assy TAG Assy
TG-3251, 3252 TG-3251, 3252

0108-002
6-6
ㇱຠ⇟ภ ㇱຠฬ ⠨
PART No. PART NAME REMARKS
CT-3291TL
CT-3292TL
10 630 071 0724 ASSY,BRACKET(TG-3251) 1
10 630 071 0731 ASSY,BRACKET(TG-3252) 1
11 630 054 4800 BRACKET 1 1 582TR-01B-001
12 630 070 7601 BRACKET(GRIP) 1 1 582TR-01B-002
12 -1 630 085 1526 UNIT,I/O 1 1 582TR-01H-001
13 411 054 8506 NUT HEX 4 1 1 M4 F
14 411 113 4708 SCR FLT 4X10 1 1 M4X10 FLT
16 630 039 7086 TUBE,WIRING 1 582TR-01H-002
16 630 039 7062 TUBE,WIRING 1 582TS-01H-002
17 411 140 7208 SCR FLT 4X6 2 2 M4X6 FLT
BLUE
RED
(BLUE)
(RED)
ᵈᗧ
NOTE
ᢙ㊂
Q'ty
⇟
ภ
Key No.