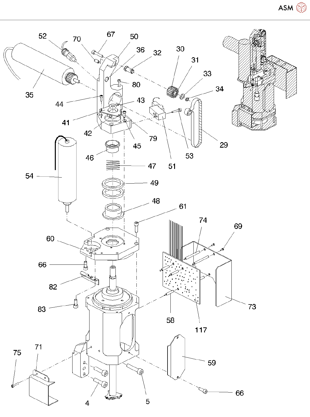
Pick

Pick & place-head f. CAN-BUS Page 1 / 11 23.11.2021

100%1 / 11
Pick & place-head f. CAN-BUS
Page 1 / 11 23.11.2021
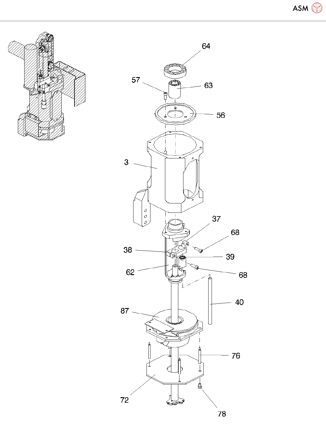
Pick & place-head f. CAN-BUS
Page 2 / 11 23.11.2021
Pick & place-head f. CAN-BUS
Page 3 / 11 23.11.2021