4OM-1003-007 - 第104页
(22) T ape Feed Unit Section 1.3 Maintenance Spots 051 1-002 1-41 AIL01ETRP Lever End of T ape Feed Stopper and 1M38 Cam Follower Outer Ring Stopper Block Every Month Lubrication (MOL YNOC GREASE AP1) Apply grease to the…

Cam Follower 3M20
Every 3 Months Lubrication
(DAPHNE EPONEX GREASE No. 1)
Apply grease with a dispense gun.
* Use No. 14 (olive) nozzle.
Linear Guide (Horizontal Plane) 3M21
Every 3 Months Lubrication
(DAPHNE EPONEX GREASE No. 1)
A. Oil Inlets
Inject grease into the oil inlet with a grease
gun.
* Use the U- and P-type attachments.
B. Ball Surfaces
Wipe off old grease with a rag and apply
new one to the ball surfaces with a dispense
gun.
* Use No. 19 (brown) nozzle.
Grease should be applied every 3 months after
the initial month.
Linear Guide (Vertical Plane) 3M22
Every 3 Months Lubrication
(DAPHNE EPONEX GREASE No. 1)
A. Oil Inlets
Inject grease into the oil inlet with a grease
gun.
* Use the U- and P-type attachments.
B. Ball Surfaces
Wipe off old grease with a rag and apply
new one to the ball surfaces with a dispense
gun.
* Use No. 19 (brown) nozzle.
Grease should be applied every 3 months after
the initial month.
U Type
P Type
U Type
P Type
A
B
A
B
Fig. 4A45
Placement Up/Down Section
1.3 Maintenance Spots
0407-002 1-40 AIL01ETRP

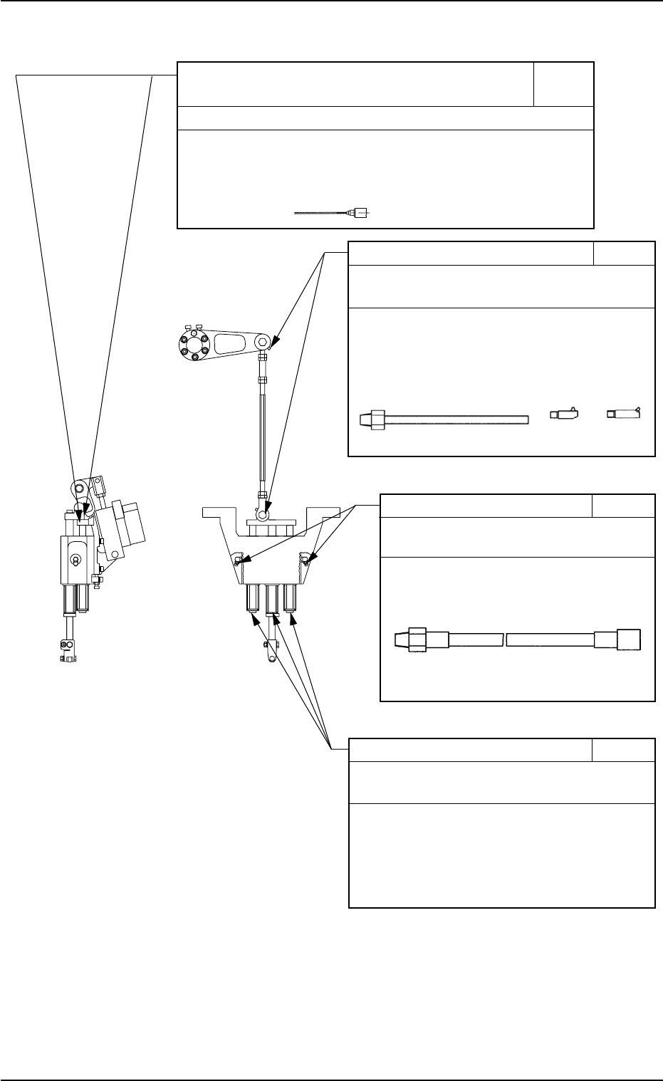
(22) Tape Feed Unit Section
1.3 Maintenance Spots
0511-002 1-41 AIL01ETRP
Lever End of Tape Feed Stopper and 1M38
Cam Follower Outer Ring Stopper Block
Every Month Lubrication (MOLYNOC GREASE AP1)
Apply grease to the contacting surface of the cam follower with
a dispense gun.
* Use No. 19 (brown) nozzle.
Rod Ends 6M7
Every 6 Months Lubrication
(DAPHNE EPONEX GREASE No. 1)
Inject new grease from the grease nipple with
a grease gun.
* Use U- and L-type or U- and V-type
attachments.
U Type L Type V Type
Ball Splines 3M24
Every 3 Months Lubrication
(DAPHNE EPONEX GREASE No. 1)
Inject new grease from the grease nipple
with a grease gun.
* Use SPK-3C attachment.
Grease should be applied every 3 months
after the initial month.
Springs 3M25
Every 3 Months Lubrication
(DAPHNE EPONEX GREASE No. 1)
Wipe off the old grease on each spring with
a rag and apply new one by hand or using a
brush.
Grease should be applied every 3 months after
the initial month.
Fig. 4A46

(23) Nozzle Guide Section
1.3 Maintenance Spots
0511-003 1-42 AIL01ETRP
Fig. 4A47
Nozzle Guide Cam Upper and Lower Surfaces 1M39
Every Month Lubrication (MOLYNOC GREASE AP1)
Replenish grease every month or after the machine has been stopped for
a long period of time (more than a week).
Apply grease evenly to the upper and lower surfaces of the nozzle guide
cam by hand or using a brush and perform an aging operation.
Refer to "4.5 "Aging" Tab" in "Section 6" of the instruction manual (Vol. 2:
Operation (Supervisor)) for the aging operation.
Note: Wipe off the dispersed grease.