4OM-1003-007 - 第35页
Safe-24 AIL01E-P Safety Precautions 0412-001 4. Alert Labels The alert labels (described below) are used for this machine. Please read the instructions on each label carefully and check the contents, observing the actual…

Safe-23 AIL01E-P
Safety Precautions
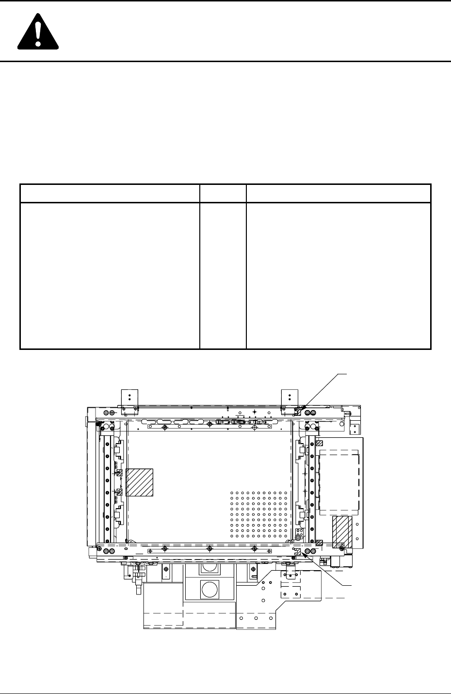
X/Y Table P.C.B. Detection Sensors
When a P.C.B. is not positioned correctly on the X/Y table, these sensors are used to stop
the machine.
Table 1X7
Sensor Name Symbol Countermeasures
X/Y Table P.C.B. Detection (Fixed) BPH47
X/Y Table P.C.B. Detection (Movable) BPH49
Fig. 1X24 Location of X/Y Table P.C.B. Detection Sensors
When one of the left sensors has
detected an error, the following
measures are taken.
• The power to drive the X/Y table is
shut off.
• The rotary turret stops after a cycle
of operation.
Ref.: The rotary turret stops with its
angle at 0° or 360°.
BPH49
BPH47
0412-001

Safe-24 AIL01E-P
Safety Precautions
0412-001
4. Alert Labels
The alert labels (described below) are used for this machine.
Please read the instructions on each label carefully and check the contents, observing the
actual object.
Be sure to follow the instructions for safety purposes.
These labels should be kept clean and easily legible at a far safe distance.
When a label has deteriorated and become illegible, contact our service department for
the replacement with a new one.

Safe-25 AIL01E-P
Safety Precautions
0502-002
Location of Alert Labels
The alert labels are affixed on dangerous and caution-required areas.
Refer to "Alert Labels and Description" for details.
This label location shown below is based on TCM-X300S.
Fig. 1X25 Front View 1
Note
(28)
(9)
(8)