4OM-1003-007 - 第408页
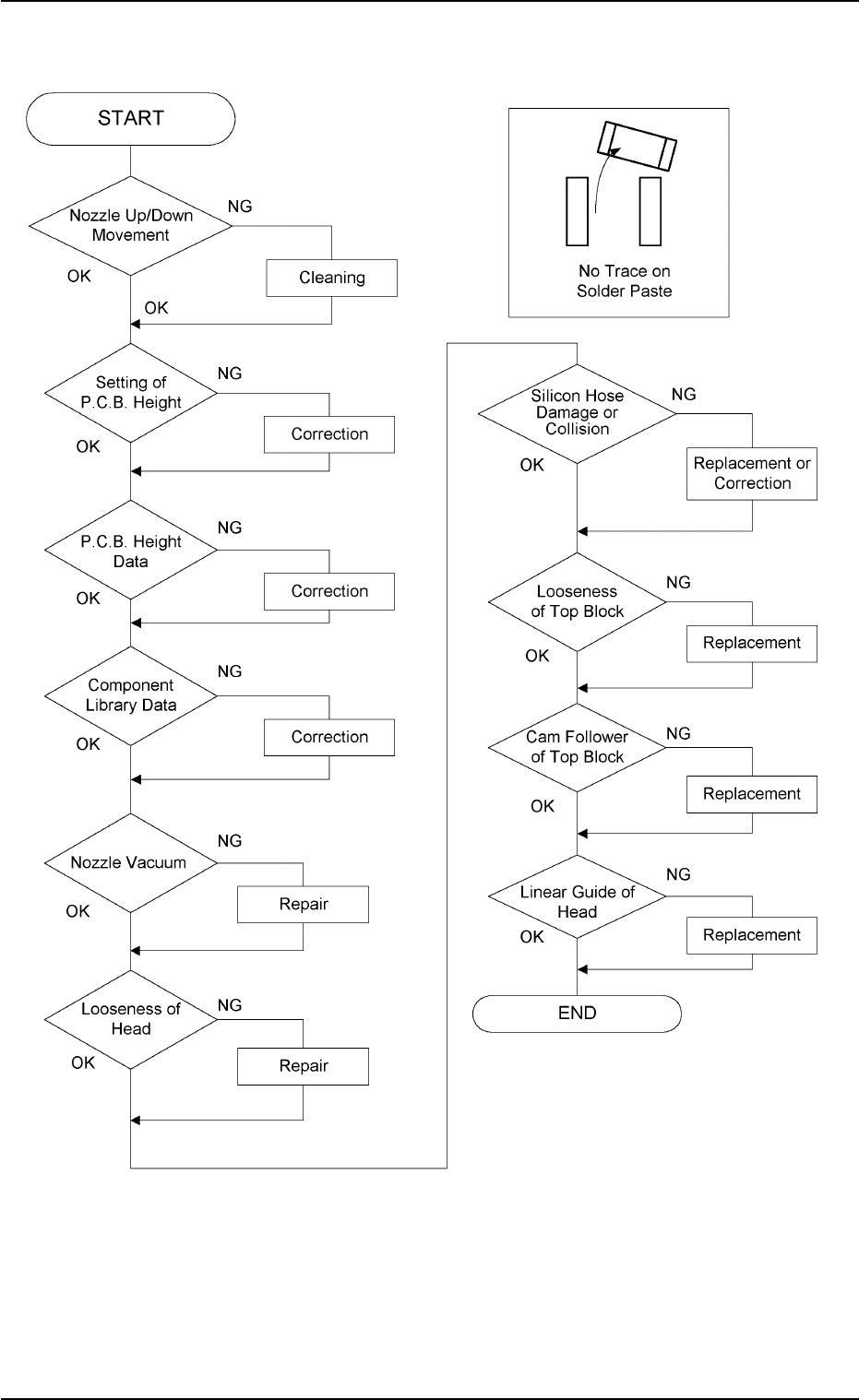
(3) Positional and Angular Deviations of Component Placement Fig. 4B40 0403-002 2-220 AIL01ETRP 5.3 T roubleshooting on Placement Errors

(2) No Component Placement Marks at Specified Positions on P.C.B.
Lands
Fig. 4B39
0403-002 2-219 AIL01ETRP
5.3 Troubleshooting on Placement Errors

(3) Positional and Angular Deviations of Component Placement
Fig. 4B40
0403-002 2-220
AIL01ETRP
5.3 Troubleshooting on Placement Errors

AIL01ETRP
1st Edition Issued May, 2003 Copying Prohibited
7th Edition Issued Nov., 2005
Compiled and Distributed by
0511-007