4OM-1003-007 - 第90页
(13) Feeder Carriage Section Fig. 4A28 T op View of Machine 1.3 Maintenance Spots 051 1-005 1-27 AIL01ETRP Linear Guide Rails 1M13 Every Month Cleaning Clean the rails with an oiled rag. Y oke Sides of Linear Motors 1M13…

Fig. 4A27-1 Cutter Section
1.3 Maintenance Spots
0511-003 1-26 AIL01ETRP
Angular Bearing 3M7-1
Every 3 Months Lubrication
(DAPHNE EPONEX GREASE No. 1)
Inject grease from the oil inlet with a
dispense gun. (4 places)
* Use No. 20 (pink) nozzle.
Waste Tape Chute 1W10
Every Week Cleaning
Detach the cover of the cutter section and
check for remaining chips. When some
chips are remaining, remove them with a
vacuum cleaner.
Rear Surface of Cutter Cover 1M12
Every Month Lubrication
(MOLYNOC GREASE AP1)
Apply grease thinly to the shadowed area by hand or
using a brush.
* Fill the area (groove where grease pools) with grease.

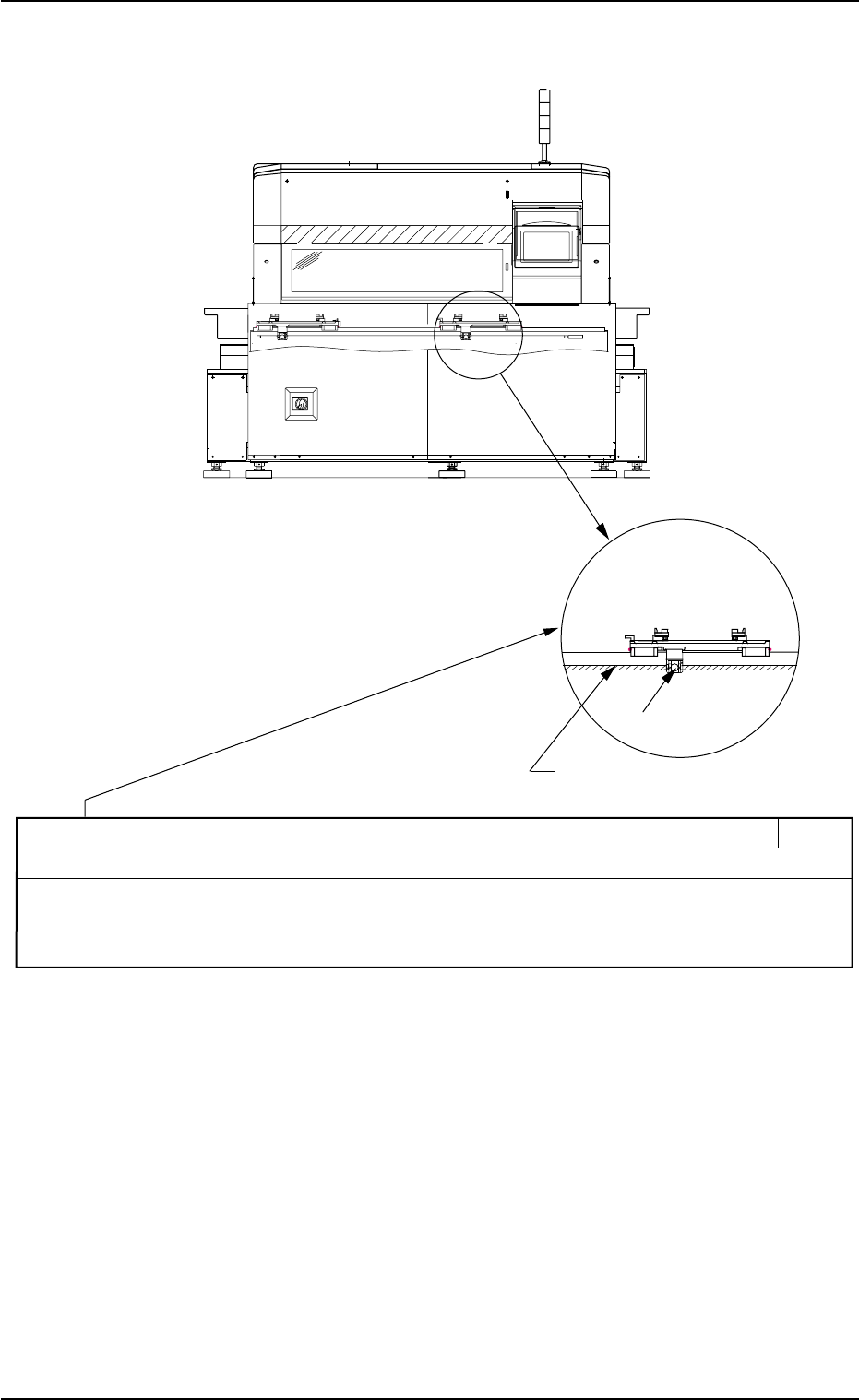
(13) Feeder Carriage Section
Fig. 4A28 Top View of Machine
1.3 Maintenance Spots
0511-005 1-27 AIL01ETRP
Linear Guide Rails 1M13
Every Month Cleaning
Clean the rails with an oiled rag.
Yoke Sides of Linear Motors 1M13-1
Every Month Inspection/Cleaning
Check for components and/or foreign substances
adhered to the yoke sides of the linear motors. If neces-
sary, clean the yoke sides with a rag.
Refer to "1.4.11 Cleaning of Linear Motor's Yoke Sides"
for details.
• Do not bring any metal of high magnetizability close
to this. Otherwise, such metal will easily be magne-
tized and attracted, causing an injury to the operator
and/or a mechanical breakdown.
• Do not bring any magnetizable material close to this.
Those who wear implanted pacemakers should not
work inside the machine. Otherwise, the pacemaker
may be affected by magnetism, leading to a serious
accident.
CAUTION
WARNING

Fig. 4A28-1 Front View of Machine
Linear Scale
Encoder Head
Linear Scale/Encoder Head 3M7-2
Every 3 Months Cleaning
Clean the linear scales and encoder heads every three months or every time the linear guides are
lubricated.
Refer to "1.4.10 Cleaning of Linear Scale Section" for details.
1.3 Maintenance Spots
0511-002 1-28 AIL01ETRP