4OM-1003-007 - 第93页
Grease Nipples Magnified View of Feeder Carriage Slide Block of Linear Guide Slide Block of Linear Guide (Rear Side) 6M5 Every 6 Months Lubrication (DAPHNE EPONEX GREASE No. 1) Grease should be applied every 6 months aft…

Grease Nipples
Magnified View of Feeder Carriage
Slide Block of Linear Guide
Slide Block of Linear Guide (Front Side) 6M4
Every 6 Months Lubrication (DAPHNE EPONEX GREASE No. 1)
Grease should be applied every 6 months after the initial month.
* Use the FL- and P-type or the U- and P-type attachments.
Refer to "1.4.9 Lubrication of Linear Guide in Feeder Carriage Section" for details.
P Type
FL Type
U Type
Fig. 4A29
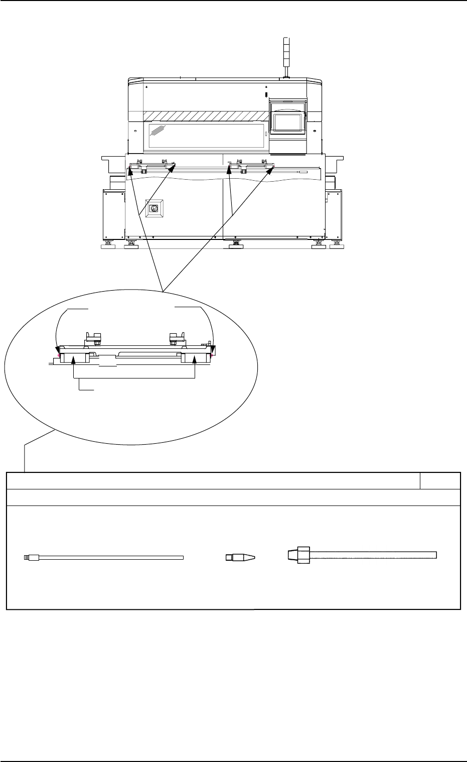
Front View of Machine
0511-003 1-29
AIL01ETRP
1.3 Maintenance Spots

Grease Nipples
Magnified View of Feeder Carriage
Slide Block of Linear Guide
Slide Block of Linear Guide (Rear Side) 6M5
Every 6 Months Lubrication (DAPHNE EPONEX GREASE No. 1)
Grease should be applied every 6 months after the initial month.
* Use the FL- and P-type or the U- and P-type attachments.
Refer to "1.4.9 Lubrication of Linear Guide in Feeder Carriage Section" for details.
P TypeFL Type U Type
Fig. 4A32 Rear View of Machine
1.3 Maintenance Spots
0511-002 1-30 AIL01ETRP

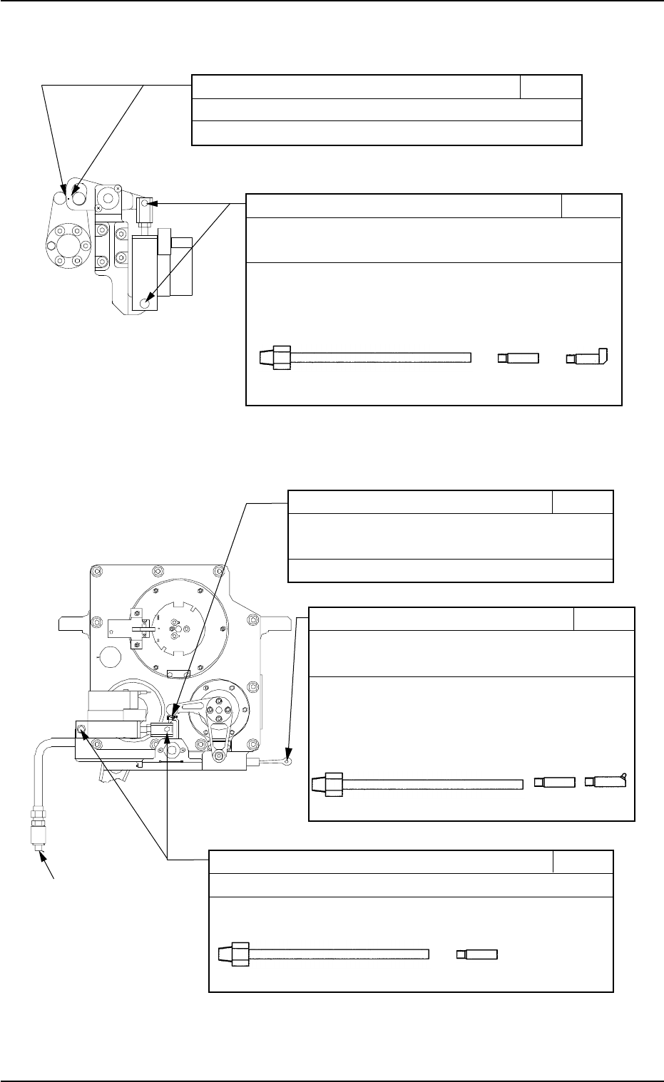
(14) Placement Change Correction Section
(15) Nozzle Change Section
Stopper Face 1M16
Every Month Lubrication
(MOLYNOC GREASE AP1)
Apply the grease by hand or using a brush.
Cylinder Fulcrum 1M17
Every Month Lubrication (MOLYNOC GREASE AP1)
Inject grease from the grease nipple with a grease gun.
* Use the U- and N-type attachments.
Oil Outlet
U Type N Type
Rod End 3M8
Every-3-Months Lubrication
(DAPHNE EPONEX GREASE No. 1)
Inject new grease from the grease nipple with a
grease gun.
* Use the U- and L-type or the U- and V-type
attachments.
U Type L Type V Type
Cam Switchover Surfaces 1M14
Every Month Lubrication (MOLYNOC GREASE AP1)
Apply the grease to both surfaces by hand or using a brush.
Cylinder Fulcrum
Every Month Lubrication
(MOLYNOC GREASE AP1)
Inject grease from the grease nipple with a grease gun.
* Use the U- and N-type or the U- and S-type
attachments.
1M15
U Type N Type S Type
1.3 Maintenance Spots
0511-002 1-31 AIL01ETRP
Fig. 4A35 Front View of Machine
Fig. 4A36 Front View of Machine