Nozzle changer 6-nozzles collect - 第6页
Nozzle changer 6-nozzles collect & place head S20/F4 Page 6 / 7 23.11.2021 Pos. Item no. Description Part marking 1 00116162S02 NOZZLE CHANGER F. 6 NOZZLE REV. HEAD F4 SPARE PART 2 00328843S03 NOZZLE MAGAZINE FOR NOZ…

Nozzle changer 6-nozzles collect & place head S20/F4
Page 5 / 7 23.11.2021

Nozzle changer 6-nozzles collect & place head S20/F4
Page 6 / 7 23.11.2021
Pos. Item no. Description Part marking
1 00116162S02 NOZZLE CHANGER F. 6 NOZZLE
REV. HEAD F4
SPARE PART
2 00328843S03 NOZZLE MAGAZINE FOR NOZZLE
TYPE 7XX
SPARE PART
3 00328842S03 PW6 NOZZLE MAGAZINE F.
NOZZLES TYPE 8XX
SPARE PART
4 00329623-02 PW6 SUPPORT COMPLETE WITH
DRIVE
5 00328971-02 PW6 SUPPORT FOR PW6
PROCESSED
6 00329170S01 PW6 SPRING HOOK SPARE PART
7 00095211-01 HEXAGON SOCKET HEAD CAP
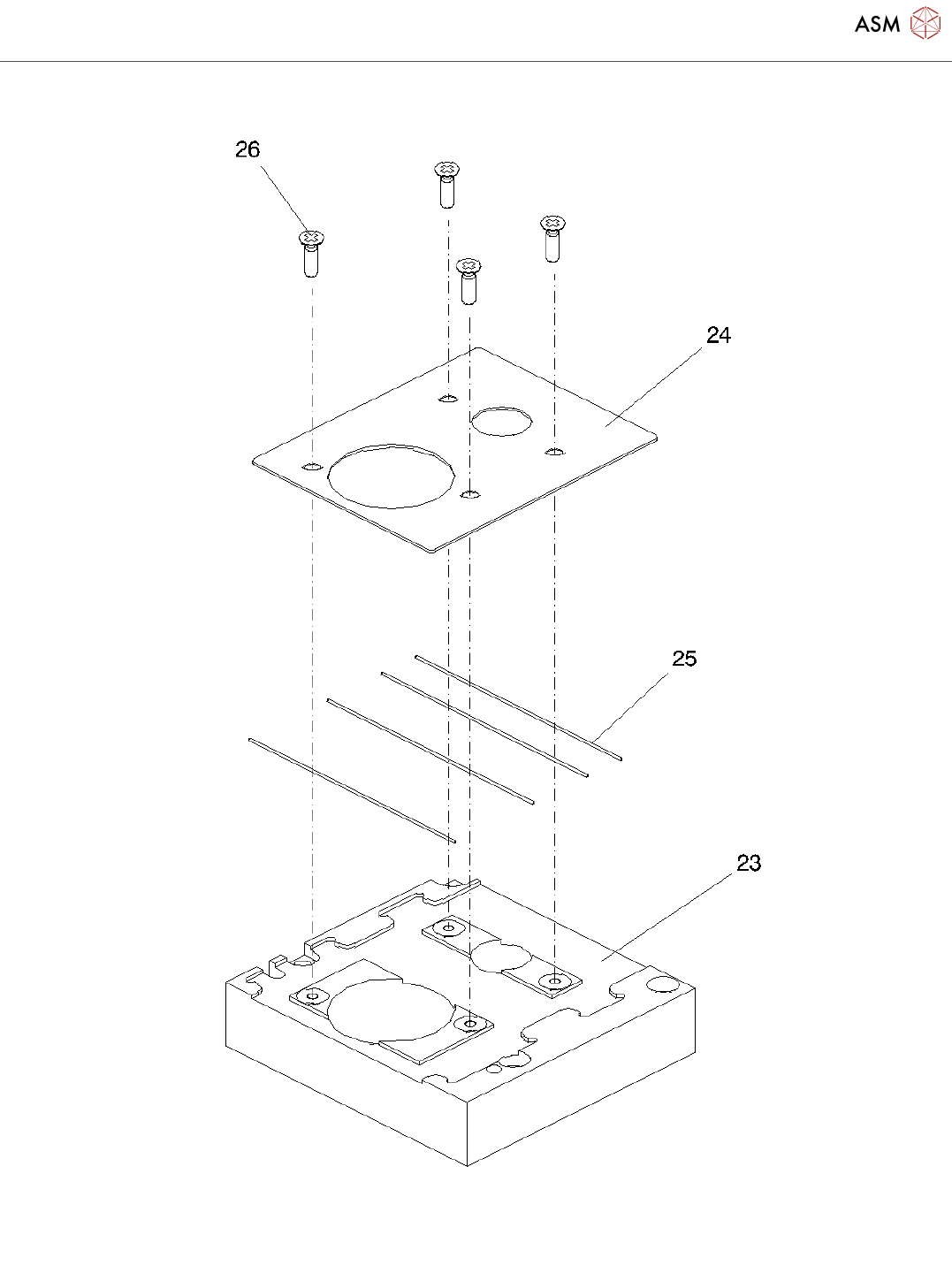
SCREW
8 00329169-01 PW6 RETAINING CLAMP
9 00329221-01 PW6 PUSH RAIL
10 00095614-01 DIN 6325 - 3M5 X 18-ST Spare Part
11 00619842-01 PARALLEL PIN 3M5*10
12 00329651-01 PAN HEAD SCREW M3*10
13 00329500-01 PW6 DRIVER FOR PUSH ROD
14 00333110S01 PW6 ROTARY DRIVE COMPLETE Spare Part
15 00332681-01 SCREW-IN ANGLE
16 00317578S02 VALVE 5/2 M5 1,5 BAR-7,5 BAR SPARE PART
17 00845012-01 HEXAGON SOCKET HEAD CAP
SCREW M3 X 5-8.8, COPPER + NI-
PLATED
18 00318170-01 DISTANCE BOLT
19 00329509-01 PW6 CHECK PLATE
20 00306438-01 DISTANCE BOLT TYPE B I/A-
M3X50-ST ZN
21 00317353S02 CONTROL UNIT NOZZLE CHANGER SPARE PART
22 00329332-02 PW6 REJECT DEVICE
23 00329335-02 PW6 BASE UNIT FOR REJECT DEVICE
24 00329336-02 PW6 REMOVAL PLATE
25 00329334-01 PW6 SPRING WIRE
26 00310384-01 DIN 965-M2,5 X 6-4.8 STANDARD PARTS
27 00313859-01 HEXAGON SOCKET HEAD CAP
SCREW
28 00845042-01 HEXAGON SOCKET HEAD CAP
SCREW M5 X 10-8.8

Nozzle changer 6-nozzles collect & place head S20/F4
Page 7 / 7 23.11.2021
Pos. Item no. Description Part marking
29 00845027-01 HEXAGON SOCKET HEAD CAP
SCREW M4 X 16-8.8
30 00310021-01 SILENCER U-M5 NR4645 STANDARD PARTS
31 00334552S01 HOSE 4*2,5 PUR TU 0425 BU-20 CONSUMABLE
32 00329696S02 REJECT BOX SPARE PART
33 00845033-01 HEXAGON SOCKET HEAD CAP
SCREW M4 X 45-8.8
34 00845032-01 HEXAGON SOCKET HEAD CAP
SCREW
35 00845025-01 HEXAGON SOCKET HEAD CAP
SCREW M4 X 10-8.8
36 00350480-01 SUPPORT, NOZZLE CHANGER
HOLDER S23
SPARE PART
Powered by TCPDF (www.tcpdf.org)