RS-1_RS-1-XL_RS-1R-Rev20 - 第133页
- - REF.NO NOTE PARTNO DESCRIPTION Qty 1 401-88588 LEFTSENSORUNIT_RS-1 1 2 401-46990 SENSOR_BR_A (1) 3 HX-00440 00-00 CABLEBAND (1) 4 401-46991 SENSOR_BR_B (1) 5 400-01079 SENSORBRAKETC (1) 6 400-…

- -
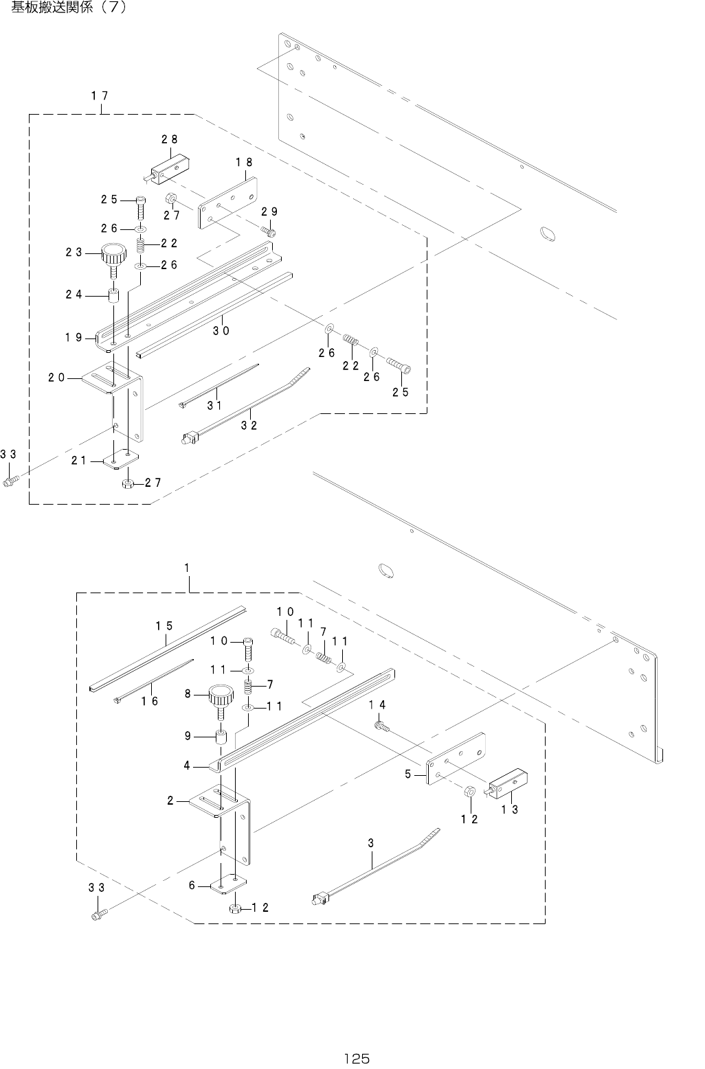
63.PWBCONVEYORCOMPONENTS(7)

- -
REF.NO NOTE PARTNO DESCRIPTION Qty
1 401-88588 LEFTSENSORUNIT_RS-1 1
2 401-46990 SENSOR_BR_A (1)
3 HX-0044000-00 CABLEBAND (1)
4 401-46991 SENSOR_BR_B (1)
5 400-01079 SENSORBRAKETC (1)
6 400-01076 SENSORSLIDEPLATE (1)
7 400-00912 SENSORADJUSTSPRING (3)
8 G6518-880-000 SETPICK-UP (1)
9 400-58815 SPACER (1)
10 SM-6041602-TN SCREWM4X16 (3)
11 WP-0430801-SC WASHERM4 (6)
12 NM-6040002-SE NUTM4X0.7 (3)
13 401-29046 SIDESENSORCABLEASM (1)
14 SL-4031091-SC SCREWM3L=10 (2)
15 HX-0036700-0A GROMMET (0.16)
16 EA-9500B00-00 CABLEBAND (5)
17 401-88589 RIGHTSENSORUNIT_RS-1 1
18 400-01079 SENSORBRAKETC (1)
19 401-46991 SENSOR_BR_B (1)
20 401-46990 SENSOR_BR_A (1)
21 400-01076 SENSORSLIDEPLATE (1)
22 400-00912 SENSORADJUSTSPRING (3)
23 G6518-880-000 SETPICK-UP (1)
24 400-58815 SPACER (1)
25 SM-6041602-TN SCREWM4X16 (3)
26 WP-0430801-SC WASHERM4 (6)
27 NM-6040002-SE NUTM4X0.7 (3)
28 401-29046 SIDESENSORCABLEASM (1)
29 SL-4031091-SC SCREWM3L=10 (1)
30 HX-0036700-0A GROMMET (0.16)
31 EA-9500B00-00 CABLEBAND (5)
32 HX-0044000-00 CABLEBAND (1)
33 SL-6031092-TN SCREWM3L=10 4

- -
64.PWBCONVEYORCOMPONENTS(8)