RS-1_RS-1-XL_RS-1R-Rev20 - 第147页
- - REF.NO NOTE PARTNO DESCRIPTION Qty 1 #01 400-73709 CONVEYOR_BELT_150 4 2 402-01092 SENSOR_ BR_AWC2 2 3 401-99998 STEPPINGMOTOR 1 4 401-99981 TI MING_BELT_AWC 1 5 GAW-02121000 PUL LEY 1 6 SM-805081…

- -
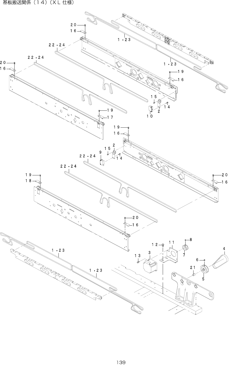
70.PWBCONVEYORCOMPONENTS(14)(TYPEXL)

- -
REF.NO NOTE PARTNO DESCRIPTION Qty
1
#01
400-73709 CONVEYOR_BELT_150 4
2 402-01092 SENSOR_BR_AWC2 2
3 401-99998 STEPPINGMOTOR 1
4 401-99981 TIMING_BELT_AWC 1
5 GAW-02121000 PULLEY 1
6 SM-8050812-TP SCREWM5X8 2
7 401-52119 PULLEY(F)TIMING 1
8 SM-8030612-TP SETSCREW 2
9 401-61237 BUPINRECEIVESENSASM 1
10 401-61236 BUPINEMISSIONSENSASM 1
11 401-99980 AWC_MOTOR_BR 1
12 SL-6051492-TN SCREWM5L=14 2
13 SL-6041242-TN BOLT 4
14 SL-4031291-SC SCREWM3X12 4
15 SL-6030892-TN SCREWM3L=8 4
16 E2046-725-000 PWBINNER 6
17 401-83031 PWB_INNER_SL 1
18 401-83034 PWB_INNER_SR 1
19 SL-4031091-SC SCREWM3L=10 8
20 SL-6031092-TN SCREW 8
21 401-99982 COLLAR_8_10 1
22
#01
401-13952 CONVEYOR_BELT_C_M 4
23
#02
402-15581 CONVEYOR_BELT_S_XL_ESD 4
24
#02
402-15582 CONVEYOR_BELT_C_XL_ESD 4

- -
71.PWBCONVEYORCOMPONENTS(15)(TYPEXL)