RS-1_RS-1-XL_RS-1R-Rev20 - 第182页
- - 88. FEEDERBANKCOMPON ENTS(4)

- -
REF.NO NOTE PARTNO DESCRIPTION Qty
1 402-15491 REEL_HOLDER_U 1
2 402-15492 REEL_HOLDER_PLATE_ASM (28)
3 402-15120 REEL_HOLDER_PLATE (2)
4 402-15133 ROLLER_SHAFT (2)
5 E3602-706-000 GUIDEROLLER12/16 (2)
6 E3602-706-000 GUIDEROLLER12/16 (28)
7 402-15119 REEL_HOLDER_SH_XL_B (1)
8 SL-4040891-SC SCREWM4X8 (2)
9 402-15118 REEL_HOLDER_STAY (1)
10 SM-3051052-TN SCREWM5L=10 (4)
11 402-15495 REEL_HOLDER_B_FIX 1
12 402-15493 REEL_HOLDER_B (1)
13 402-15121 TAPE_HOLDER_PL_L_XL (1)
14 402-15122 TAPE_HOLDER_PL_R_XL (1)
15 402-15137 T_BOX_FRAME (2)
16 SM-3040652-TN SCREWM4L=6 (8)
17 402-15134 SLIT_PLATE (3)
18 SL-4040891-SC SCREWM4X8 (6)
19 402-15136 T_BOX_STAY (4)
20 SL-4040891-SC SCREWM4X8 (8)
21 402-15119 REEL_HOLDER_SH_XL_B (2)
22 E3602-706-000 GUIDEROLLER12/16 (60)
23 402-15116 WASHER (20)
24 SL-4040891-SC SCREWM4X8 (4)
25 402-15135 SEPARATION_PLATE_RS (27)
26 401-85550 TRASH_BOX (1)
27 401-84971 POSITION_LAVEL_56 (2)
28 402-15494 REEL_HOLDER_B_FIX_PARTS (1)
29 400-94860 TH_CASTER (2)
30 SL-4040891-SC SCREWM4X8 (8)
31 402-15138 TH_CASTER_BR (2)
32 SL-4040891-SC SCREWM4X8 (4)
33 400-89239 E_TROLLEY_PLATE (2)
34 SM-1050801-SC SCREWM5X0.8L=8 (2)
35 NM-6050001-SC NUTM5X0.8TYPE1 (2)
36 402-15496 REGULATTION_BAR_FIX 1
37 E3602-706-000 GUIDEROLLER12/16 (31)
38 402-15115 REEL_HOLDER_SH_XL_U (1)
39 402-15116 WASHER (30)
40 402-15113 R_BAR_SUPPORT_L (1)
41 402-15114 R_BAR_SUPPORT_R (1)
42 402-15117 REGULATION_BAR_TR (1)
43 SL-6061292-TN SCREWM6L=12 (4)
44 402-15123 R_HOLDER_U_BR_L (1)
45 NM-6040001-SC NUTM4X0.7TYPE1 (2)
46 SL-4041091-SC SCREWM4L=10 (1)
47 SM-3041052-TN SCREWM4L=10 (2)
48 402-15124 R_HOLDER_U_BR_R (1)
49 NM-6040001-SC NUTM4X0.7TYPE1 (2)
50 SL-4041091-SC SCREWM4L=10 (1)
51 SM-3041052-TN SCREWM4L=10 (2)
52 SL-6061292-TN SCREWM6L=12 4
53 402-15157 STOPPER 4
54 402-15158 GUIDE 4
55 SL-6040892-TN SCREWM4L=8 8
56 SL-6061292-TN SCREWM6L=12 8
57 401-89896 TRASH_GUIDE_L2 2
58 401-89897 TRASH_GUIDE_C2 2
59 401-89898 TRASH_GUIDE_R2 2
60 401-89899 TRASH_GUIDE_RS2 2
61 SL-3061232-TN SCREWM6L=12 8
62 400-81751 B_COVER_SCREW 12
63 NM-3040520-SF FLANGENUTM4 12
64 401-99894 SEALING_PACKING_140 9
65 402-15156 SHOOT_COVER 2
66 402-15058 DUCT_BR_F 4
67 SL-3061232-TN SCREWM6L=12 4
68 401-88171 BANK_UNIT_R_COVER 1
69 401-81844 COVER_RUB_BR_F (2)
70 SL-6051092-TN SCREWM5L=10 (2)
71 WP-1052001-SC WASHER10 (2)
72 SL-6102042-TN SCREWM10L=20 (2)
73 401-88176 COVER_RUC_S (1)
74 SL-3061232-TN SCREWM6L=12 (5)
75 401-88177 COVER_RUC_BR (2)
76 NM-3040520-SF FLANGENUTM4 (2)
77 400-81751 B_COVER_SCREW (4)
78 401-58856 COVER_RUB (1)
79 SL-6061092-TN SCREWM6L=10 (4)

- -
88.FEEDERBANKCOMPONENTS(4)

- -
REF.NO NOTE PARTNO DESCRIPTION Qty
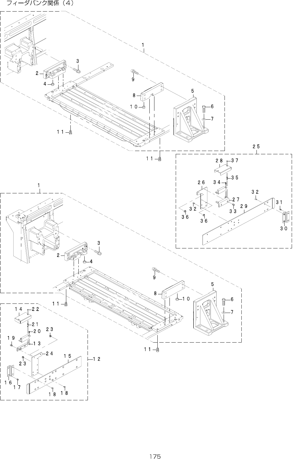
1 401-83611 BUNK_SUPPORT_ASM 2
2 401-83147 BANK_SUP_B_L (1)
3 SL-6083092-TN SCREWM8L=30 (4)
4 E2623-721-000 BANKLOCATEBUSHB (1)
5 401-09098 BANK_SUP_A (1)
6 SL-6104042-TN BOLT (4)
7 WP-1052001-SC WASHER10 (4)
8 401-83149 BANK_SUP_B_R (1)
9 SL-6083092-TN SCREWM8L=30 (4)
10 E2623-721-000 BANKLOCATEBUSHB (1)
11 SL-6082092-TN SCREWM8L=20 4
12
#01
401-83612 GUIDE_RAIL_FL_ASM 1
13 401-83192 BANK_CONNECTOR_B_BR (1)
14 401-83209 CONNECTOR_B_COVER (1)
15
#01
401-83193 ROLLER_GUIDE_F (1)
16 400-93852 ROLLER_GUIDE_SUPPORT_FL (1)
17 SL-6040892-TN SCREWM4L=8 (2)
18 SM-1051052-TN PLATESCREWM5L=10 (10)
19 SL-6051092-TN SCREWM5L=10 (2)
20 SM-6030802-TN SCREW (2)
21 HX-0035400-00 STUD (2)
22 SM-3030552-TN SCREWM3L=5 (2)
23 HX-0070600-0A MOUNTBASE (2)
24 401-83191 BANK_CONNECTOR_B_SUPPORT_BR (1)
25
#02
401-83613 GUIDE_RAIL_RL_ASM 1
26 401-83191 BANK_CONNECTOR_B_SUPPORT_BR (1)
27 401-83192 BANK_CONNECTOR_B_BR (1)
28 401-83209 CONNECTOR_B_COVER (1)
29
#02
401-83205 ROLLER_GUIDE_R (1)
30 400-93852 ROLLER_GUIDE_SUPPORT_FL (1)
31 SL-6040892-TN SCREWM4L=8 (2)
32 SM-1051052-TN PLATESCREWM5L=10 (10)
33 SL-6051092-TN SCREWM5L=10 (2)
34 SM-6030802-TN SCREW (2)
35 HX-0035400-00 STUD (2)
36 HX-0070600-0A MOUNTBASE (2)
37 SM-3030552-TN SCREWM3L=5 (2)