RS-1_RS-1-XL_RS-1R-Rev20 - 第216页
- - 105.CONVEYOR COVERCOMPONENTS(2 )(TYPEXL)

- -
REF.NO NOTE PARTNO DESCRIPTION Qty
1
#01
401-47271 CONVEYOR_COVER_M_ASM 1
2
#02
401-47272 CONVEYOR_COVER_L_ASM 1
3 401-47167 CONVEYOR_COVER_L (2)
4 401-47168 CONVEYOR_SIDE_COVER_L (2)
5 401-47169 CONVEYOR_UPPER_COVER_L (2)
6 401-47170 CONVEYOR_COVER_STOPPER (2)
7 400-01484 CONVEYORSHUTTERU(L,EN) (2)
8 400-01485 CONVEYORSHUTTERB(L,EN) (2)
9 SM-0040601-SC SCREWM4X0.7L=6 (38)
10 400-01490 TAPE (3)
11 E5721-729-000 LABEL (2)
12 E1143-721-000 WOOLENCLOTHPAPER (4)
13
#03
401-87792 CONVEYOR_COVER_EX_150L_ASM 1
14
#04
401-87793 CONVEYOR_COVER_EX_150R_ASM 1
15
#05
401-87794 CONVEYOR_COVER_EX_250L_ASM 1
16
#06
401-87795 CONVEYOR_COVER_EX_250R_ASM 1
17
#07
401-47189 CONVEYOR_COVER_L_200 (2)
18
#08
401-86619 CONVEYOR_COVER_L_300 (2)
19
#07
401-47190 CONVEYOR_SIDE_COVER_L_200 (2)
20
#08
401-86620 CONVEYOR_SIDE_COVER_L_300 (2)
21
#07
401-47191 CONVEYOR_UPPER_COVER_L_200 (2)
22
#08
401-86621 CONVEYOR_UPPER_COVER_L_300 (2)
23 401-47192 CONVEYOR_COVER_STOPPER_200 (2)
24 400-01484 CONVEYORSHUTTERU(L,EN) (2)
25 400-01485 CONVEYORSHUTTERB(L,EN) (2)
26
#07
SM-0040601-SC SCREWM4X0.7L=6 (40)
27
#08
SM-0040601-SC SCREWM4X0.7L=6 (38)
28 400-01490 TAPE (2.8)
29 E5721-729-000 LABEL (2)
30 E1143-721-000 WOOLENCLOTHPAPER (4)

- -
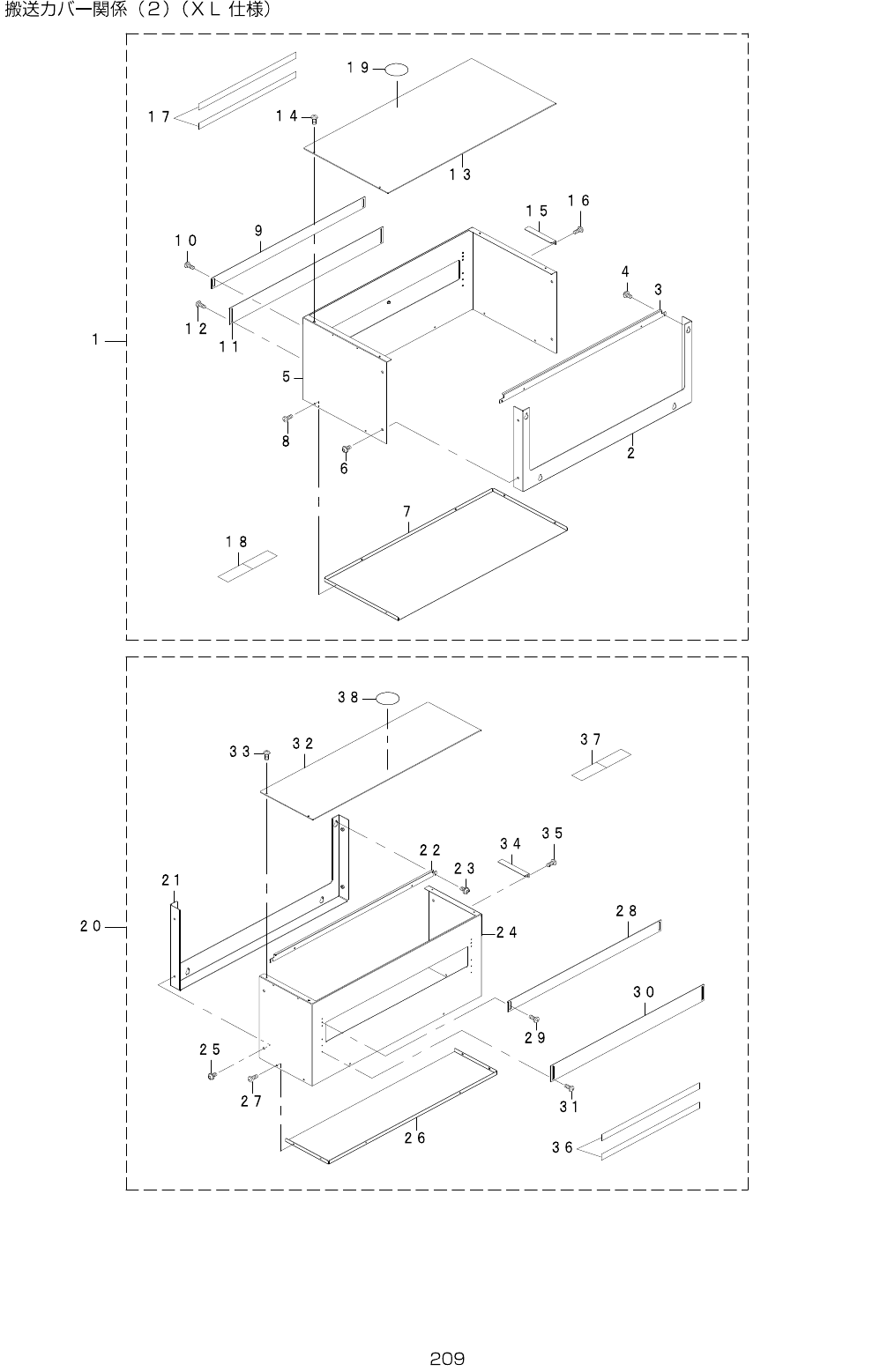
105.CONVEYORCOVERCOMPONENTS(2)(TYPEXL)

- -
REF.NO NOTE PARTNO DESCRIPTION Qty
1 402-15559 CONVEYOR_COVER_L_ASM_XL 1
2 402-15125 CONV_COVER_BR_XL (1)
3 402-15132 CONV_UPPER_COVER_SUPPORT_XL (1)
4 SL-3061232-TN SCREWM6L=12 (4)
5 402-15126 CONV_SIDE_COVER_L_XL (1)
6 SL-3061232-TN SCREWM6L=12 (4)
7 402-15128 CONV_LOWER_COVER_L_XL (1)
8 SM-0040601-SC SCREWM4X0.7L=6 (6)
9 400-92186 EN_COVER_SHUTTER_U_XL (1)
10 SM-0040601-SC SCREWM4X0.7L=6 (4)
11 400-92187 EN_COVER_SHUTTER_B_XL (1)
12 SM-0040601-SC SCREWM4X0.7L=6 (4)
13 402-15130 CONV_UPPER_COVER_L_XL (1)
14 SM-0040601-SC SCREWM4X0.7L=6 (2)
15 401-47192 CONVEYOR_COVER_STOPPER_200 (1)
16 SM-0040601-SC SCREWM4X0.7L=6 (2)
17 400-01490 TAPE (1.5)
18 E1143-721-000 WOOLENCLOTHPAPER (2)
19 E5721-729-000 LABEL (1)
20 402-15560 CONVEYOR_COVER_R_ASM_XL 1
21 402-15125 CONV_COVER_BR_XL (1)
22 402-15132 CONV_UPPER_COVER_SUPPORT_XL (1)
23 SL-3061232-TN SCREWM6L=12 (4)
24 402-15127 CONV_SIDE_COVER_R_XL (1)
25 SL-3061232-TN SCREWM6L=12 (4)
26 402-15129 CONV_LOWER_COVER_R_XL (1)
27 SM-0040601-SC SCREWM4X0.7L=6 (6)
28 400-92186 EN_COVER_SHUTTER_U_XL (1)
29 SM-0040601-SC SCREWM4X0.7L=6 (4)
30 400-92187 EN_COVER_SHUTTER_B_XL (1)
31 SM-0040601-SC SCREWM4X0.7L=6 (4)
32 402-15131 CONV_UPPER_COVER_R_XL (1)
33 SM-0040601-SC SCREWM4X0.7L=6 (2)
34 401-47192 CONVEYOR_COVER_STOPPER_200 (1)
35 SM-0040601-SC SCREWM4X0.7L=6 (2)
36 400-01490 TAPE (1.5)
37 E1143-721-000 WOOLENCLOTHPAPER (2)
38 E5721-729-000 LABEL (1)