RS-1_RS-1-XL_RS-1R-Rev20 - 第69页
- - REF.NO NOTE PARTNO DESCRIPTION Qty 1 401-96671 COVER_CUL_ASM_CD 1 2 401-96684 COVER_CUL (1) 3 SL-3061232-TN SCREWM6L=12 (10) 4 401-36850 MOTOR_COVER_R (1) 5 400-81751 B_COVER_SCREW (4) 6 401-4714…

- -
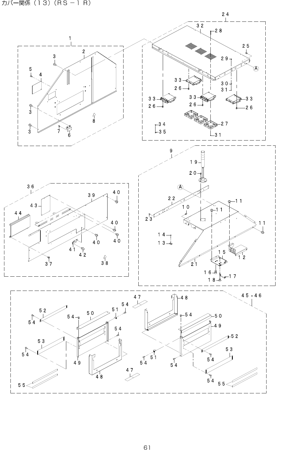
31.COVERCOMPONENTS(13)(RS-1R)

- -
REF.NO NOTE PARTNO DESCRIPTION Qty
1 401-96671 COVER_CUL_ASM_CD 1
2 401-96684 COVER_CUL (1)
3 SL-3061232-TN SCREWM6L=12 (10)
4 401-36850 MOTOR_COVER_R (1)
5 400-81751 B_COVER_SCREW (4)
6 401-47149 COVER_BR_B (1)
7 SL-6061292-TN SCREW (2)
8 CM-3009000-06 WATCH_YOUR_HANDS_LABEL(100) (1)
9 401-96672 COVER_CUR_ASM_CD 1
10 SL-6061292-TN SCREWM6L=12 (4)
11 SL-3061232-TN SCREWM6L=12 (12)
12 401-83469 CONNECTOR_BR (1)
13 HX-0029400-00 FIXEDBASE (2)
14 SM-4040601-SC SCREWM4X0.7L=6 (2)
15 401-89268 CB_BRACKET_RS (1)
16 SM-6061202-TN SCREW (4)
17 401-10219 FC_SUPPORT_Y_V2 (1)
18 SM-6060802-TN SCREW (2)
19 401-29009 SIGNALTOWERCABLEASM (1)
20 SL-6041292-TN SCREWM4L=12 (4)
21 401-83384 COVER_CUR (1)
22 401-96690 COVER_STAY_CUR (1)
23 SM-1051052-TN PLATESCREWM5L=10 (8)
24 401-96673 COVER_CUC_ASM_CD 1
25 SL-6061292-TN SCREWM6L=12 (4)
26 SL-6051292-TN SCREWM5L=12 (24)
27 401-89090 DCFANASM (3)
28 SL-4033591-SC SCREWM3L=35 (6)
29 SL-4031091-SC SCREWM3L=10 (4)
30 HX-0051900-00 FIXINGBASE (4)
31 NM-3034000-SF FLANGENUT (10)
32 402-67095 COVER_CUC_RIV (1)
33 401-83447 ASSIST_HINGE (4)
34 HX-0034400-00 HARNESSPARTS (3)
35 SM-4040601-SC SCREWM4X0.7L=6 (3)
36 401-96676 COVER_SUR_ASM_CD 1
37 400-81751 B_COVER_SCREW (8)
38 CM-3009000-06 WATCH_YOUR_HANDS_LABEL(100) (1)
39 401-83440 COVER_SUR (1)
40 SL-3061232-TN SCREWM6L=12 (7)
41 401-47149 COVER_BR_B (1)
42 SL-6061292-TN SCREWM6L=12 (2)
43 401-47150 MTC_SHUTTLE_COVER (1)
44 401-96692 SUR_MOTOR_COVER (1)
45
#01
401-87790 CONVEYOR_COVER_L_ASM 1
46
#02
401-87791 CONVEYOR_COVER_R_ASM 1
47 E1143-721-000 WOOLENCLOTHPAPER (4)
48 402-67099 CONVEYOR_COVER_L_RIV (2)
49 401-47168 CONVEYOR_SIDE_COVER_L (2)
50 401-47169 CONVEYOR_UPPER_COVER_L (2)
51 401-47170 CONVEYOR_COVER_STOPPER (2)
52 400-01484 CONVEYORSHUTTERU(LEN) (2)
53 400-01485 CONVEYORSHUTTERB(LEN) (2)
54 SM-0040601-SC SCREWM4X0.7L=6 (38)
55 400-01490 TAPE (3)

- -
32.COVERCOMPONENTS(14)(RS-1R)