00195044-22_UM_VisionTeachStation_5.x.x_DE_EN.pdf - 第18页

3 Bestellangaben und Lieferumfang Bedienungsanleitung Vision Teach Station 5.x.x 3.2 Kameras und Montagesätze Ausgabe 05/2019 18 HINWEI S 3 Die Abbildung 3.2 - 4 zeigt die Montageposition der BE-Kamera (Pos. 1) an der Vi…

100%1 / 184
Bedienungsanleitung Vision Teach Station 5.x.x 3 Bestellangaben und Lieferumfang
Ausgabe 05/2019 3.2 Kameras und Montagesätze
17
HINWEIS 3
Die Abbildung 3.2 - 3
zeigt die Montageposition der BE-Kamera (Pos. 1) an der Vision Teach
Station. Am Bestückautomaten ist die Kamera um die Horizontale um 180° gedreht. Es können
an der Vision Teach Station nur Bauelemente geteacht werden, die nicht größer als das
Gesichtsfeld der BE-Kamera sind (Einfachmessung). Mehrfachmessungen müssen am Auto-
maten durchgeführt werden. Die Orientierungserkennung asymmetrischer Gehäuseformen wird
an der Vision Teach Station nicht unterstützt.
3.2.2 Kamera-Typ 23 mit Montagesatz - Artikel-Nr. 03047371-xx (Option)
3
3
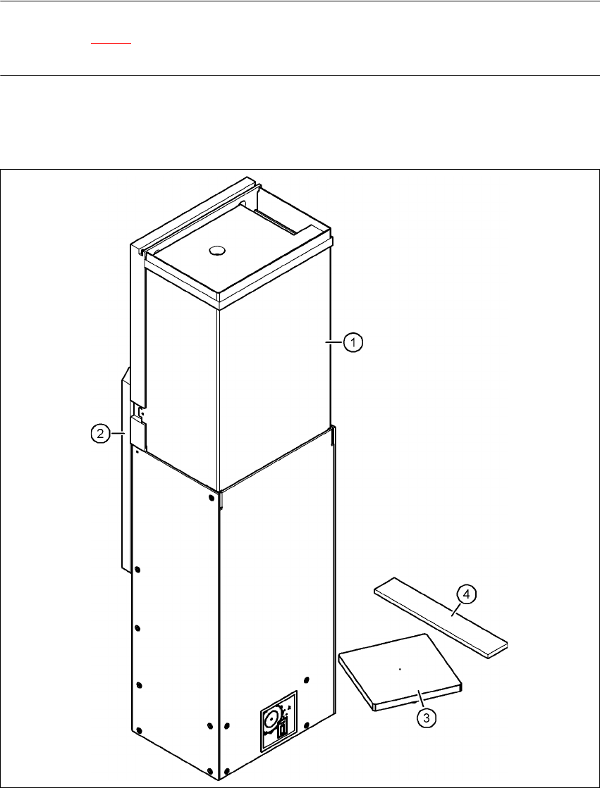
Abb. 3.2 - 4 Kamera-Typ 23 - Teile
3
(1) BE-Kamera C&P20, Typ 23, 6 x 6, digital, Artikel-Nr. 03003426-xx
(2) Adapter Kopfkamera, Vision Teach Station, Artikel-Nr. 03044405-xx
(3) Halterung, Kamera Typ 23, Artikel-Nr. 03039485-xx
(4) Einstellhilfe Fokuspunkt, Kamera Typ 23, Artikel-Nr. 03046388-xx
(5) BE-Auflage, Kamera Typ 23 kpl., Artikel-Nr. 03039498-xx
3 Bestellangaben und Lieferumfang Bedienungsanleitung Vision Teach Station 5.x.x
3.2 Kameras und Montagesätze Ausgabe 05/2019
18
HINWEIS 3
Die Abbildung 3.2 - 4
zeigt die Montageposition der BE-Kamera (Pos. 1) an der Vision Teach
Station. Am Bestückkopf ist die Kamera um die Horizontale und 180° gedreht.
3.2.3 Kamera-Typ 33 mit Montagesatz - Artikel-Nr. 03047372-xx
3
3
Abb. 3.2 - 5 Kamera-Typ 33 - Teile
3
Bedienungsanleitung Vision Teach Station 5.x.x 3 Bestellangaben und Lieferumfang
Ausgabe 05/2019 3.2 Kameras und Montagesätze
19
(1) BE-Kamera, stationär, P&P, Typ 33, 55 x 45, digital, Artikel-Nr. 03016339-xx
(2) Halterung Kamera, Typ 33/36, Artikel-Nr. 03039467-xx
(3) BE-Auflage Kamera Typ 25/33/36 kpl., Artikel-Nr. 03039504-xx
(4) Einstellhilfe Fokuspunkt, Kamera Typ 33/36, Artikel-Nr. 03046391-xx
Kabelsatz Vision Teach Station stationär, Artikel-Nr. 03040355-xx
HINWEIS 3
Die Abbildung 3.2 - 5
zeigt die Montageposition der BE-Kamera (Pos. 1) an der Vision Teach Sta-
tion. Am Bestückautomaten ist die Kamera um die Horizontale um 180° gedreht. Es können an
der Vision Teach Station nur Bauelemente geteacht werden, die nicht größer als das Gesichts-
feld der BE-Kamera sind (Einfachmessung). Mehrfachmessungen müssen am Automaten
durchgeführt werden. Die Orientierungserkennung asymmetrischer Gehäuseformen wird an der
Vision Teach Station nicht unterstützt.