AV131部品表(1) - 第124页
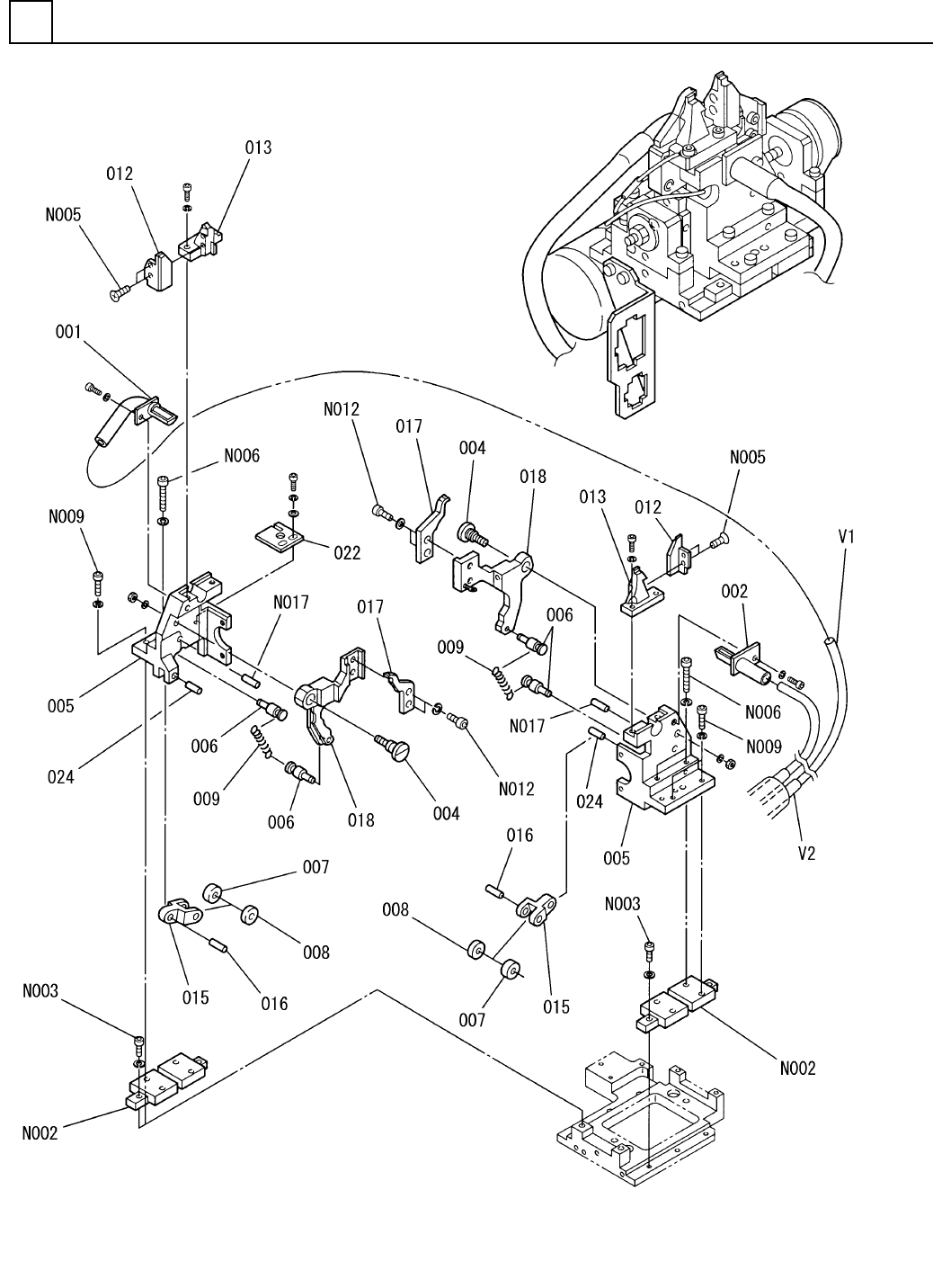
上部アンビル部 (2) UPPER ANVIL SECT.(2) 9 FN610052020AA _00-2 M105

PART NAME
REMARKS
Q'TY
9
上部アンビル部(1)
UPPER ANVIL SECT.(1)
イラスト
No.
REF
No.
PART No.
部 品 品 番 個数 備 考
R
1
R
2
1 N610052020AA
UPPER ANVIL UNIT ジョウフ
゙アンビルユニット
1
010 108712101001
MAIN BODY メインボディ
1
011 108712101101
BLOCK ブロック
1014 N210066754AA
BRACKET ブラケット
1019 108712300602
PULLEY フ
゚ーリー
1
020 108712102002
BRACKET ブラケット
1
021 108712300302
PULLEY プーリー
1023 108712102301
BLOCK フ
゙ロック
(MSMD5AZPJA) S
1
A001
N610052034AA
MOTOR モータ
1
A003
N610049596AA
CABLE ケーブル
M3X6-4.8 A2J (Trivalen
2
N004
N510018253AA
TRUSS HEAD SCREW トラスコネジ
MBF0602RL-2.7RRGT+107L
1
N007
N510019399AA
BALL SCREW ボ
ールネジ
195-3GT-6
1
N008
N6411953GT6
BELT(TIMING) ベルト(タイミング)
F605ZZ
1
N010
KXF0AL7AA00
BALL BEARING ボールベアリング
M5,SUS301,2-TYPE,SS400
2
N011
N510004700AA
LOCK-NUT ロックナット
M3X6-45H,A2S (Trivalen
1
N015
N510018425AA
HEX. SOCKET SET SCREW ロッカクアナツキトメネシ
゙
P914SA1
1
N016
N310P914SA1
SENSOR センサ
605ZZ
2
N018
N510003188AA
BALL BEARING ボールベアリング
RB010014005
1
N019
N510033488AA
SHIM シム
2X2X6,PARALLEL,B.S.R
1
N020
XPA2L2F6
SUNK KEY シズ
ミキー
M104
FN610052020AA_00-1

上部アンビル部(2)
UPPER ANVIL SECT.(2)
9
FN610052020AA_00-2
M105

PART NAME
REMARKS
Q'TY
9
上部アンビル部(2)
UPPER ANVIL SECT.(2)
イラスト
No.
REF
No.
PART No.
部 品 品 番 個数 備 考
R
1
R
2
1001 1087121001
PIPE ハ
゚イプ
1
002 108712100201
PIPE パイプ
2
004 1016323037
PIN ピン
2005 N210034873AA
BLOCK ブロック
4006 108712100601
PIN ヒ
゚ン
2
007 1010461017
ROLLER ローラ
2
008 1010461016
ROLLER ローラ
2009 1087121009
SPRING ハ
゙ネ
2012 101632300409
COVER カハ
゙ー
2
013 104132101501
BASE(CLINCH) ベース(クリンチ)
2015 108712101501
LEVER レバー
2016 1011368033
PIN ヒ
゚ン
2
017 1041321020
CUTTER & CLINCHER カッター & クリンチャ
2
018 N210057771AA
LEVER レバー
1022 108712102202
DOG FOR SENSOR ドグ
2024 N210061730AA
PIN ヒ
゚ン
2RSR7MUUC1S+65LHMS
2
N002
N5132RSR-A63
LINEAR MOTION UNIT リニアモーションユニット
M2X6-10.9 A2J (Trivale
6
N003
N510017260AA
HEX. SOCKET HEAD CAP BOLT ロッカクアナツキボルト
M2.5X5-4.8 A2J (Trival
4
N005
N510018123AA
FLUSH HEAD SCREW サラコネジ
M2X14-10.9 A2J (Trival
4
N006
N510022988AA
BOLT ボ
ルト
M2X8-10.9 A2J (Trivale
4
N009
N510017261AA
HEX. SOCKET HEAD CAP BOLT ロッカクアナツキボルト
FECAP-4X7-3CR
4
N012
N510023704AA
BOLT ボルト
MMS3-6
2
N017
N510020588AA
PIN ヒ
゚ン
D6.0XD10.0
1V 1 N434YYYY-003
TUBE チューフ
゙
TF225
1
V 2 N434TF225
TUBE チューブ
M106
FN610052020AA_00-2