AV131部品表(1) - 第126页
下部アンビル部 (1) UNDER ANVIL SECT.(1) 10 FN610052019AA _00-1 M107

PART NAME
REMARKS
Q'TY
9
上部アンビル部(2)
UPPER ANVIL SECT.(2)
イラスト
No.
REF
No.
PART No.
部 品 品 番 個数 備 考
R
1
R
2
1001 1087121001
PIPE ハ
゚イプ
1
002 108712100201
PIPE パイプ
2
004 1016323037
PIN ピン
2005 N210034873AA
BLOCK ブロック
4006 108712100601
PIN ヒ
゚ン
2
007 1010461017
ROLLER ローラ
2
008 1010461016
ROLLER ローラ
2009 1087121009
SPRING ハ
゙ネ
2012 101632300409
COVER カハ
゙ー
2
013 104132101501
BASE(CLINCH) ベース(クリンチ)
2015 108712101501
LEVER レバー
2016 1011368033
PIN ヒ
゚ン
2
017 1041321020
CUTTER & CLINCHER カッター & クリンチャ
2
018 N210057771AA
LEVER レバー
1022 108712102202
DOG FOR SENSOR ドグ
2024 N210061730AA
PIN ヒ
゚ン
2RSR7MUUC1S+65LHMS
2
N002
N5132RSR-A63
LINEAR MOTION UNIT リニアモーションユニット
M2X6-10.9 A2J (Trivale
6
N003
N510017260AA
HEX. SOCKET HEAD CAP BOLT ロッカクアナツキボルト
M2.5X5-4.8 A2J (Trival
4
N005
N510018123AA
FLUSH HEAD SCREW サラコネジ
M2X14-10.9 A2J (Trival
4
N006
N510022988AA
BOLT ボ
ルト
M2X8-10.9 A2J (Trivale
4
N009
N510017261AA
HEX. SOCKET HEAD CAP BOLT ロッカクアナツキボルト
FECAP-4X7-3CR
4
N012
N510023704AA
BOLT ボルト
MMS3-6
2
N017
N510020588AA
PIN ヒ
゚ン
D6.0XD10.0
1V 1 N434YYYY-003
TUBE チューフ
゙
TF225
1
V 2 N434TF225
TUBE チューブ
M106
FN610052020AA_00-2

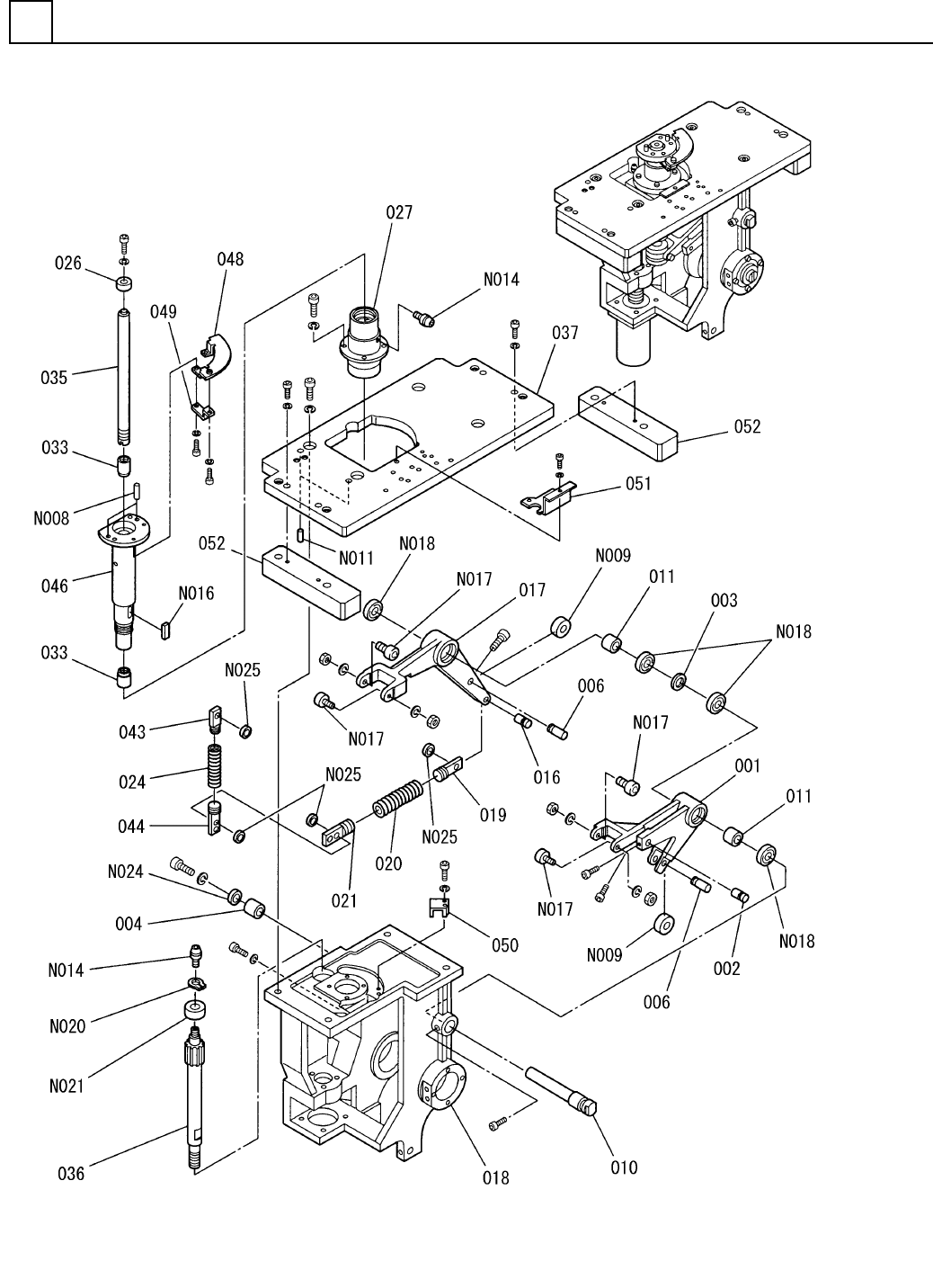
下部アンビル部(1)
UNDER ANVIL SECT.(1)
10
FN610052019AA_00-1
M107

PART NAME
REMARKS
Q'TY
10
下部アンビル部(1)
UNDER ANVIL SECT.(1)
イラスト
No.
REF
No.
PART No.
部 品 品 番 個数 備 考
R
1
R
2
1 N610052019AA
UNDER ANVIL UNIT カブ
アンビルユニット
1
001 104131200103
LEVER レバー
1
002 1041312002
PIN ピン
1003 1087109048
COLLAR カラー
1004 102460901701
COLLAR カラー
2
006 102460903701
PIN ピン
1
010 104131201001
SHAFT シャフト
2011 104131201101
COLLAR カラー
1016 1046912016
PIN ヒ
゚ン
1
017 104131201703
LEVER レバー
1018 108711201804
FRAME フレーム
1019 1087112019
PIN ヒ
゚ン
1
020 104131202002
SPRING バネ
1
021 1087112021
PIN ピン
1024 104131202403
SPRING バネ
1026 104131202603
COLLAR カラー
1
027 108711202702
FLANGE(ANVIL) フランジ(アンビル)
2
033 1087112033
BUSHING ブッシュ
1035 1087112035
ROD ロッド
1036 104131203601
SHAFT シャフト
1
037 N210065754AB
PLATE プレート
1
043 1087112043
PIN ピン
1044 1087112044
PIN ヒ
゚ン
1046 108711204603
UNDER ANVIL アンビル(
アンダー)
1
048 1087112048
PLATE プレート
1049 1087112049
BRACKET ブラケット
1050 108711205002
BRACKET フ
゙ラケット
1
051 108711205102
COVER カバー
2
052 N210065753AA
SPACER スペーサ
6X12,A-TYPE
2
N008
N986YYYY-510
PARALLEL PIN ヘイコウピン
NART10R-040010
2
N009
N531NART-016
ROLLER FOLLOWER ローラフォロア
10X30,m6A,STEEL
2
N011
XPK10A30FW
PARALLEL PIN ヘイコウピン
NGA-6075S
2
N014
N510022291AA
GREASE NIPPLE グリースニップル
8X7X18,STEEL,PARALLEL,
1
N016
XPA8L7F18
SUNK KEY シズミキー
CF6RA-840178
4
N017
N531CF6R-015
CAM FOLLOWER カムフォロア
6003ZZ
4
N018
XLC6003ZZ
BALL BEARING ボールベアリング
12,STEEL,P.C
1
N020
XUB12FP
RETAINING RING C-TYPE C ガタジクヨウトメワ
6201ZZ
1
N021
XLC6201ZZ
BALL BEARING ボールヘ
゙アリング
SSRW16
1
N024
N510021358AA
WASHER サ
゙ガネ
K5B0806
4
N025
N510022568AA
BUSHING ブッシュ
M108
FN610052019AA_00-1