00194567-01 - 第239页
Kasutusjuhend SIPLA CE F5/F5 HM 7 M ida teha, kui … Tarkvara vers ioon SR.407.xx 01/2001 EE väljaanne 7.9 Radade vigade vältimine 239 7.9.2 ... 8 mm li ndi S-sööturimooduli korral Æ Kunagi Ä RGE ava ge pöö ratavat k atte…

7 Mida teha, kui … Kasutusjuhend SIPLACE F5/F5 HM
7.9 Radade vigade vältimine Tarkvara versioon SR.407.xx 01/2001 EE väljaanne
238
7.9 Radade vigade vältimine
7.9.1 Üldinformatsioon
Æ Veenduge, et sööturite ümbrus ja sööturite alused pinnad oleksid puhtad ning et seal poleks
lahtisi komponente.
Æ Veenduge, et sööturite tugipinnad (eriti komponentide laua magnetrööpad) oleksid puhtad ja
horisontaalsed.
Æ Laadige seadmed koheselt komponentidega.
Æ Jätkake linte õigeaegselt. See tähendab üldreeglina seda, et jätkamisvahendid ja materjal
tuleb ette valmistada ajal, kui poolil on veel 1,5 m linti.
Æ Sööturite paigaldamisel või eemaldamisel laua küljest käsitsege söötureid ettevaatlikult, sest
need on täppisseadmed.
Æ Sööturite paigaldamisel olge tähelepanelik ja vältige programmeerimisnuppude juhuslikku
vajutamist. Nii võite muuta S-sööturimooduli sammu pikkuse näiteks 4 mm-lt 2 mm-le.
Æ Sulgege sööturite kaaned, kuna neid võib avatud olekus kergesti vigastada.
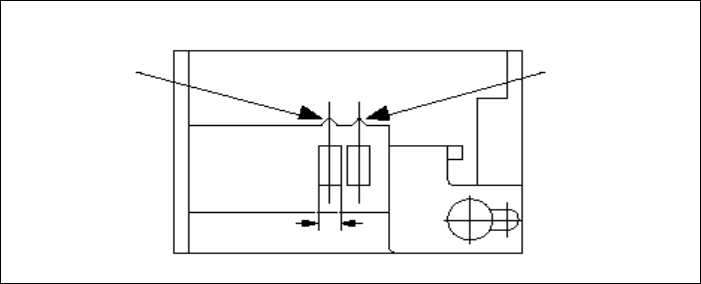
Æ 8 mm S-sööturimooduli korral kontrollige, et komponente haaramine toimuks õigest asendist
sõltuvalt komponentide mõõtudest (vt alltoodud näidet).
Näide 8mm S-sööturimooduli korral 7
7
Æ Kontrollige, et kõik sööturite pistikud oleksid ühendatud õigetesse pesadesse.
Haaramisasend
Haaramisasend
> 3 mm
korral
≤ 3 mm
korral
Laius
komponentide
komponentide

Kasutusjuhend SIPLACE F5/F5 HM 7 Mida teha, kui …
Tarkvara versioon SR.407.xx 01/2001 EE väljaanne 7.9 Radade vigade vältimine
239
7.9.2 ... 8 mm lindi S-sööturimooduli korral
Æ Kunagi ÄRGE avage pööratavat kattekaant enne, kui olete vabastanud kattefooliumi
eemaldaja pinge alt.
Æ Seadistage haaramisasend ja lindi paigutus vastavalt iga sööturimooduli juurde kuuluvas
lühikeses kasutusjuhendis toodud juhistele.
Æ Sisestage lint üle vedru lindisööturisse.
7.9.3 ... lindikarbi korral
Æ
Paigaldage jaotusplaadid ettenähtud viisil (joon. 7.5 - 2).
Æ Suurte lindipoolide korral paigaldage teljed.

7 Mida teha, kui … Kasutusjuhend SIPLACE F5/F5 HM
7.9 Radade vigade vältimine Tarkvara versioon SR.407.xx 01/2001 EE väljaanne
240
7.9.4 Komponentide koordinaatide süsteem ja haaramisnurk
7
Joon. 7.9 - 1 Komponendi asend ja selle haaramisnurk
Spetsiaal-
komponent
Kasett-
magasin:
Kiip-
komponendid,
polaarsed
0402
2220
Anood peab olema
suunatud +X
koordinaadi suunas.
Korpuse
väliskuju tüüp
Koordinaatide süsteem
Asend sööturil
Haaramisnurk/
imiotsaku nurk
Lint:
SOT23
Kasett-
magasin:
Lint:
Lint:
SO-IC
DIL-IC
SOT 194
Lint:
Avad
Y
X
Y
X
Y
X
Y
X
Y
X
90°
90°
0°
90°
-90°
0°