00196506-02_UM_X-Serie_SR705_IT - 第190页
Dati tecnici d el dispositivo automa tico Manuale per l'uso SI PLACE serie X Caricatori X A parti re dalla version e software SR. 70x.xx Edizione 01/2011 190 Posti o ccup ati d ei cari catori 3 3 Riserva c ompone nt…

Manuale per l'uso SIPLACE serie X Dati tecnici del dispositivo automatico
A partire dalla versione software SR.70x.xx Edizione 01/2011 Caricatori X
189
3.9.4.2 Adattatore per caricatori della serie X con caricatore a vibrazione longitudinale
ISTRUZIONE 3
Nella fornitura dell'adattatore per caricatori della serie X è compresa anche una piastra per adat-
tatore:
– La piastra per adattatore deve essere usata per altezze di componenti fino a 16,5 mm.
– A componenti con altezze comprese tra 16,5 mm e 25 mm si può lavorare senza piastra
per adattatore.
3
Fig. 3.9 - 15 Adattatore per caricatori della serie X con caricatore a vibrazione longitudinale
(1) Adattatore per caricatori di serie X (Articolo no. 00141305-xx )
(2) Piastra dell'adattatore 16,5 mm (compresa nella fornitura)
(3) Caricatore a vibrazione longitudinale, tipo 3 (articolo n. 00142031-xx)
Larghezza 34,4 mm
Tracce per caricatore 1, 2 o 3 3

Dati tecnici del dispositivo automatico Manuale per l'uso SIPLACE serie X
Caricatori X A partire dalla versione software SR.70x.xx Edizione 01/2011
190
Posti occupati dei caricatori 3 3
Riserva componenti per ogni caricatore a barre max. 150 pezzi, 3
a seconda della lunghezza del componente 3
Dati specifici caricatori a barre 9,5 mm larghezza / 3 pezzi 3
15 mm larghezza / 2 pezzi 3
> 15 mm larghezza / 1 pezzo 3
30 mm larghezza / 1 pezzo 3
Tempo di vibrazione con SIPLACE Pro, regolabile da 400 a
oltre 1.000 msec 3
3.9.4.3 Adattatore per caricatori della serie X con Reject Conveyor (modulo
di smaltimento)
3
Fig. 3.9 - 16 Adattatore per caricatori della serie X con Reject Conveyor
(1) Adattatore per caricatori di serie X (Articolo no. 00141305-xx )
(2) Piastra per adattatore per Reject Conveyor (Articolo no. 00141308-xx)
(3) Reject Conveyor (modulo di smaltimento)

Manuale per l'uso SIPLACE serie X Dati tecnici del dispositivo automatico
A partire dalla versione software SR.70x.xx Edizione 01/2011 Caricatori X
191
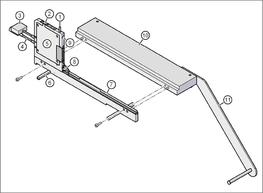
3.9.5 Interfaccia energia e dati per caricatori X
Articolo no. 00141247-xx Interfaccia energia e dati per caricatori X
3
Fig. 3.9 - 17 Interfaccia energia e dati per caricatori X
(1) Tasto di sbloccaggio per sbloccare il dente d'arresto
(2) Pannello di comando
(3) Cavo dati
(4) Cavo d'alimentazione della corrente
(5) Alloggiamento elettronica
(6) Piedi pieghevoli
(7) Profilo a omega per la guida dei caricatori
(8) Dente d'arresto
(9) Foro d'inserimento per il perno di centraggio anteriore del caricatore
(10) Piastra base
(11) Portabobina