Dual conveyor, fixed rail left_20211124_033755 - 第36页
Dual conveyor, fixed rail left Page 36 / 59 24.11.2021

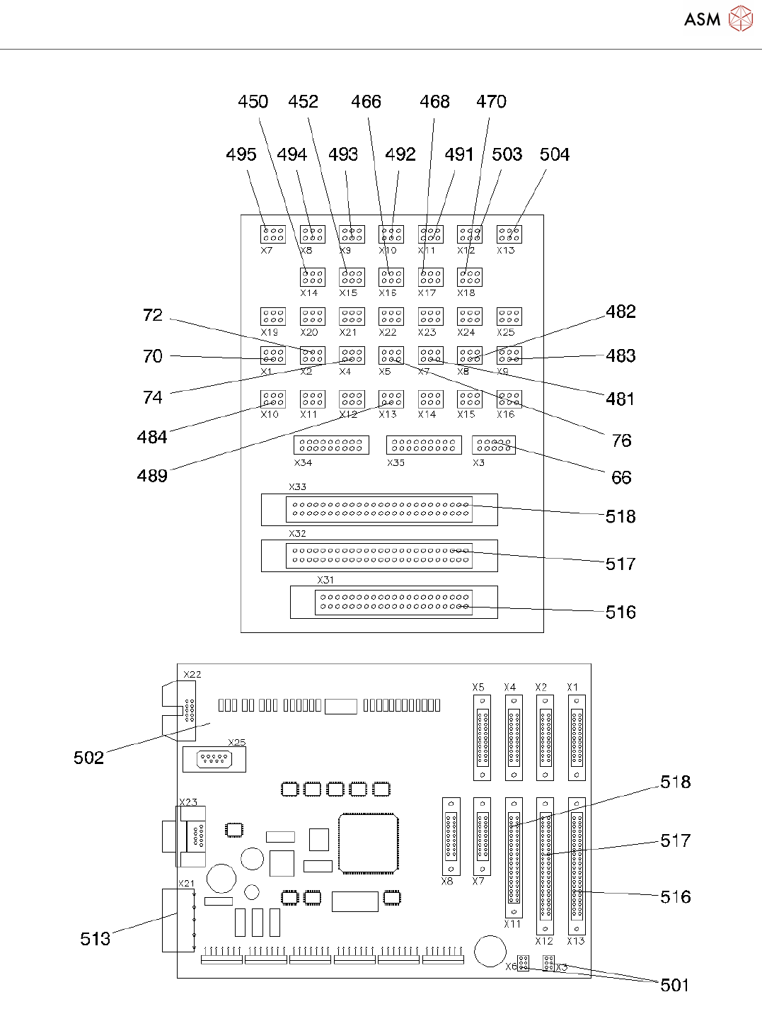
Dual conveyor, fixed rail left
Page 35 / 59 24.11.2021

Dual conveyor, fixed rail left
Page 36 / 59 24.11.2021

Dual conveyor, fixed rail left
Page 37 / 59 24.11.2021