00191327-01 - 第56页
1 Betriebssicherheit Betriebsanleitung SIPLACE 80S-20/F4/F5 1.1 Sicherheitshinweise Ausgabe 05/99 ab S oftwareversion SR.405.xx 1 - 18 1.1.9 Sicherhei t shinweise zum LP-Barcodeleser (Option) Abb. 1.1.10 LP-Barcodeleser …

Betriebsanleitung SIPLACE 80S-20/F4/F5 1 Betriebssicherheit
Ausgabe 05/99 ab Softwareversion SR.405.xx 1.1 Sicherheitshinweise
1 - 17
Das nachfolgende Bild zeigt die Lage der Sicherheitshinweise für den Betrieb des Koplanaritäts-Lasermodu-
les am SIPLACE 80F
4
- bzw. 80F
5
-Automaten. Diese Hinweise müssen an den mit Pfeil markierten Stellen,
gut sichtbar auf der Abdeckhaube aufgeklebt sein (siehe Abb. 1.1.9).
Abb. 1.1.9 Sicherheitshinweise an der SIPLACE 80F
4
- bzw. F
5
-Automaten
- Legende zu Abb. 1.1.9
Vorsicht!
Unsichtbare Laserstrahlung, wenn Abdeckung geöffnet
und Sicherheitsverriegelung überbrückt
Nicht dem Strahl aussetzen
1
2
"Fd"Fs

1 Betriebssicherheit Betriebsanleitung SIPLACE 80S-20/F4/F5
1.1 Sicherheitshinweise Ausgabe 05/99 ab Softwareversion SR.405.xx
1 - 18
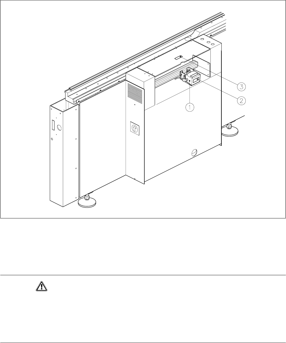
1.1.9 Sicherheitshinweise zum LP-Barcodeleser (Option)
Abb. 1.1.10 LP-Barcodeleser (unten)
- Legende zu Abb. 1.1.10
1 LP-Barcodeleser (unten) 2 Aufkleber ’Laserstrahlung...’ (Abb. 1.1.11)
3 Aufkleber ’Vorsicht ...’ (siehe Abb. 1.1.12)
VORSICHT
Der Lesestrahl des Barcodelesers hat eine Strahlungsleistung, die kleiner 1mW ist. Dadurch entspricht der
Barcodeleser der Laserklasse 2 und erfordert nach DIN EN 60825-1 keine besonderen Sicherheitseinrichtun-
gen und Schutzmaßnahmen. Blicken Sie niemals in den Laserstrahl! Darüberhinaus sorgt eine Sicherheits-
elektronik dafür, daß bei stehendem oder zu langsam drehenden Polygonrad die Laserdiode abgeschaltet
wird.

Betriebsanleitung SIPLACE 80S-20/F4/F5 1 Betriebssicherheit
Ausgabe 05/99 ab Softwareversion SR.405.xx 1.1 Sicherheitshinweise
1 - 19
Abb. 1.1.11 Aufkleber ‘Laserstrahlung...’
Abb. 1.1.12 Aufkleber ’Vorsicht ...’
1.1.10 Sicherheitshinweise zum BE-Tischwechsel
Der Bauelementetischwechsel ist in Abschnitt 10.3 "BE-Tische" beschrieben. Beachten Sie dabei unbedingt
die folgenden Sicherheitshinweise, um Schaden von Personen oder vom Automaten abzuwenden.
WARNUNG
Wenn Sie den BE-Tisch wechseln, halten Sie die beschriebene Reihenfolge ein, in der Sie die Stecker für die
Kommunikationseinheit abziehen bzw. wieder anschließen. Anderenfalls kann es zu Störungen am BE-Tisch
kommen.
WARNUNG
Fahren Sie das Portal aus dem Bereich des BE-Tisches über den LP-Transport. Sie beugen so einem Kopf-
crash vor.
GEFAHR
Drücken Sie den NOT-HALT-Pilzdrucktaster. Die Portalachsen werden freigeschaltet.
Damit vermeiden Sie ein unbeabsichtigtes Losfahren der Portale und eventuelle damit verbundene Verletzun-
gen oder Schäden.
Laserstrahlung
Nicht in den Strahl blicken
LASERKLASSE 2
Vorsicht
Laserstrahlung, wenn Abdeckung geöffnet
und Sicherheitsverriegelung überbrückt
Nicht in den Strahl blicken