P223001e - 第97页
95 Key No. P AR T No. P AR T NAME Q’ty REMARKS NOTE MODEL TDM-3500E-2 0209-001 5-2 1 630 067 1254 BRACKET(MOTOR) 1 687H--02B-010 2 630 003 2574 GEAR,REDUCTION 1 687H--02H-016 3 630 049 0831 MOTOR,REVERSIBLE 1 M2,3RK15GN-…

MODEL TDM-3500E-2
0209-001
94
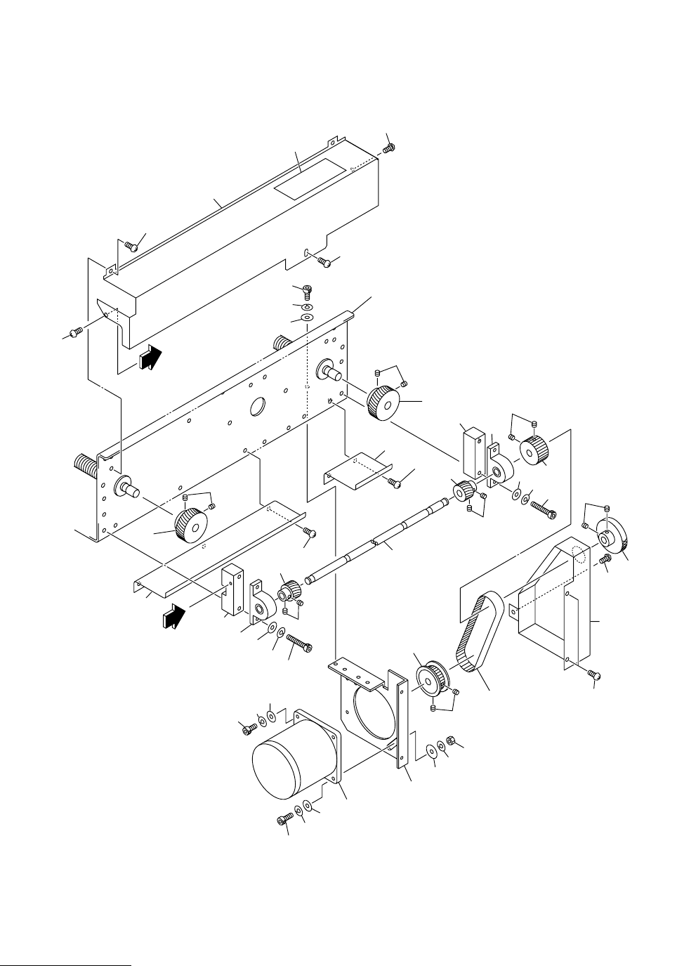
R コンベア部 R CONVEYOR SECTION
Fig. 5-2 コンベア駆動部 Conveyor Driver
Fig.5-2
TDM-3500E-2
See Fig.5-1
Key No.2
6
5
4
9
1
2
3
7
7
8
8
16
17
13
14
15

95
Key No. PART No. PART NAME Q’ty REMARKS
NOTE
MODEL TDM-3500E-2
0209-001
5-2
1 630 067 1254 BRACKET(MOTOR) 1 687H--02B-010
2 630 003 2574 GEAR,REDUCTION 1 687H--02H-016
3 630 049 0831 MOTOR,REVERSIBLE 1 M2,3RK15GN-AUL 100V
687H--02H-015
4 411 141 4107 WASHER V 5X10X1 2 FW5
5 411 141 6705 WASHER SPR 5 2 SW5
6 630 000 7824 BOLT,HEX-SCT 2 M5X45
7 630 009 2684 PULLEY,TIMING 2 687H--02H-017
8 630 000 8944 SET SCREW 4 M5X6 SET
9 630 066 9992 BELT,TIMING 1 687H--02H-036
13 630 001 0220 WASHER 2 687H--02H-027
14 411 141 6705 WASHER SPR 5 2 SW5
15 630 000 7756 BOLT,HEX-SCT 2 M5X12
16 630 061 0055 COVER(MOTOR) 1 687H--02B-032
17 411 051 1708 SCR TRS 4X6 1 M4X6 TRS

MODEL TDM-3500E-2
0209-001
96
R コンベア部 R CONVEYOR SECTION
Fig. 5-3 ドライブシャフト Driving Shaft
Fig.5-3
TDM-3500E-2
6-2
6-1
5
7
4
5
4
8
9
7
8
9
2
2
43
45
45
44
1
1
3
6
6
42
42
42
42
23
22
21
36
39
37
33
27
26
25
34
28
29
30
20
27-1
26
25
24
38
37
35
17
16
41
See Fig.5-1
Key No.2
A
A
50