RX-7-Rev07PDF - 第20页
A-15 A 7 架台 ASSY-4 Base frame assy - 4

A-14
A6
架台 ASSY-3
Base frame assy - 3
イラスト番号
Ref.No.
品番
Part Number
Description
品名
個数
Q'ty
備考
Remarks
1 EZ4-455-243-02 BRACKET (XA), CABLE (L) ケ-ブル ブラケツト (XA) (L) 1
2 EZ4-455-244-01 SUPPORT PLATE (X)
サポ-トプレ-ト (X)
1
3 EZ4-455-245-01 NUT PLATE (M5) イタ ナツト (M5) 2
4 EZ4-455-245-11 NUT PLATE (M4)
イタ ナツト (M4)
1
5 EZ4-455-246-01 CLAMP (LH), CABLE ケ-ブル クランプ LH 1
6 EZ4-455-247-01 CLAMP (RH), CABLE
ケ-ブル クランプ RH
1
7 EZ4-455-462-01 BRACKET, CABLE BARE ケ-ブル ベア ブラケツト 1
8 EZ4-455-463-01 CABLE RETAINER
ケ-ブル オサエ
2
9 EZ4-455-464-03 CABLE GUIDE ケ-ブル ガイド 1
10 EZ4-455-465-01 CLAMP PLATE (S)
クランプ プレ-ト (S)
1
11 EZ4-455-465-11 CLAMP PLATE (H) クランプ プレ-ト (H) 1
12 EZ4-455-691-01 BARE (TKR20H28W80R95), CABLE
ケ-ブル ベア (TKR20H28W80R95)
1
13 EZ4-455-721-02 BRACKET (XB), CABLE (L) ケ-ブル ブラケツト (XB) (L) 1
14 EZ4-458-968-01 PLATE, CLAMP BASE
クランプ ベ-ス プレ-ト
1
15 EZ4-459-118-01 SPACER (S), CLAMP クランプ スペ-サ (S) 2
16 EZ4-459-118-11 SPACER (L), CLAMP
クランプ スペ-サ (L)
2
17 EZ4-464-111-02 PLATE, CABLE RETAINER NUT ケ-ブル オサエ ナツト プレ-ト 2
18 EZ4-466-199-11 ARM , CABLE GUIDE (R)
ケ-ブル ガイド ア-ム (R)
1
19 EZ4-471-563-01 SUPPORT PLATE (X, L) サポ-ト プレ-ト (X, L) 1
20 EZ4-472-239-01 SPACER BLK, CABLE RETAINER
ケ-ブル オサエ スペ-サ BLK
2
21 EZ7-682-260-04 SCREW +K 4X6 +K 4X6 8
22 EZ7-683-401-04 BOLT,HEXAGON SOCKET 3X4
6 カクアナツキボルト 3X4
20
23 EZ7-683-419-04 BOLT HEXAGON SOCKET 4X8 6 カクアナツキボルト 4X8 6
24 EZ7-683-421-04 BOLT HEXAGON SOCKET 4X12
6 カクアナツキボルト(C4X12)
20
25 EZ7-683-425-04 BOLT,HEXAGON SOCKET 4X20 6 カクアナツキボルト 4X20 2
26 EZ7-683-428-04 BOLT, HEXAGON SOCKET 4X40
6 カクアナツキボルト 4X40
12
27 EZ7-683-435-04 BOLT,HEXAGON SOCKET 5X10 6 カクアナツキボルト 5X10 4
28 EZ7-683-437-04 BOLT,HEXAGON SOCKET 5X14
6 カクアナツキボルト 5X14
5
29 EZ1-492-202-12 BATTERY ASSY バツテリ- ASSY 1
30 EZ1-895-367-21 BOARD, BACKUP MONITORING
バツクアツプ モニタ- ボ-ド (Z)
1
31 EZ4-056-942-11 SPACER, MINIATURE CARD ミニ カ-ド スペ-サ- 2
32 EZ4-468-642-01 BATTERY BOX (Z, L)
バツテリ- BOX (Z, L)
1
33 EZ4-705-584-01 SPACER (SQ-7) スペ-サ (SQ-7) 2
34 EZ7-623-208-22 SW 3,TYPE 2
SW 3,TYPE 2
2
35 EZ4-455-628-01 BRACKET, CABLE CARRIER ケ-ブル キヤリア ブラケツト 1
36 EZ4-459-119-01 BASE, CABLE CLAMP
ケ-ブル クランプ ベ-ス
1
37 EZ4-472-252-01 COLLAR, CABLE RETAINER SPACER ケ-ブル オサエ スペ-サ カラ- 4
38 EZ7-683-452-04 BOLT,HEXAGON SOCKET 6X10
6 カクアナツキボルト 6X10
3

A-15
A7
架台 ASSY-4
Base frame assy - 4

A-16
A7
架台 ASSY-4
Base frame assy - 4
イラスト番号
Ref.No.
品番
Part Number
Description
品名
個数
Q'ty
備考
Remarks
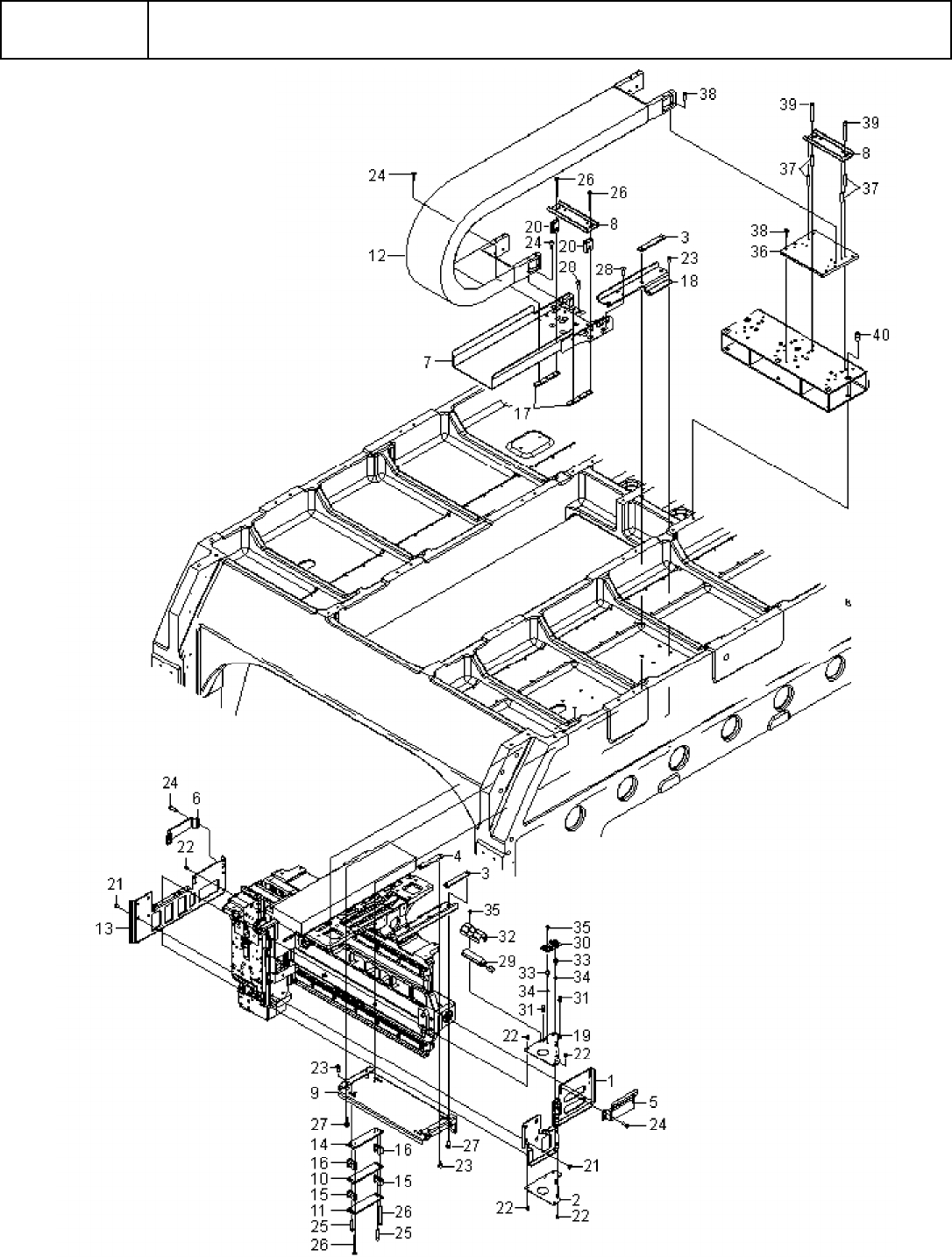
1 EZ4-455-243-12 BRACKET (XA), CABLE (R) ケ-ブルブラケット(XA)(R) 1
2 EZ4-455-244-01 SUPPORT PLATE (X) サポ-トプレ-ト(X) 1
3 EZ4-455-245-01 NUT PLATE (M5) イタナット(M5) 2
4 EZ4-455-245-11 NUT PLATE (M4) イタナット(M4) 1
5 EZ4-455-246-01 CLAMP (LH), CABLE ケ-ブルクランプLH 1
6 EZ4-455-247-01 CLAMP (RH), CABLE ケ-ブルクランプRH 1
7 EZ4-455-462-01 BRACKET, CABLE BARE ケ-ブルベアブラケット 1
8 EZ4-455-463-01 CABLE RETAINER ケ-ブルオサエ 2
9 EZ4-455-464-03 CABLE GUIDE ケ-ブルガイド 1
10 EZ4-455-465-01 CLAMP PLATE (S) クランププレ-ト(S) 1
11 EZ4-455-465-11 CLAMP PLATE (H) クランププレ-ト(H) 1
12 EZ4-455-691-01 BARE (TKR20H28W80R95), CABLE ケ-ブルベア(TKR20H28W80R95) 1
13 EZ4-455-721-12 BRACKET (XB), CABLE (R) ケ-ブルブラケット(XB)(R) 1
14 EZ4-458-968-01 PLATE, CLAMP BASE クランプベ-スプレ-ト 1
15 EZ4-459-118-01 SPACER (S), CLAMP クランプスペ-サ(S) 2
16 EZ4-459-118-11 SPACER (L), CLAMP クランプスペ-サ(L) 2
17 EZ4-464-111-02 PLATE, CABLE RETAINER NUT ケ-ブルオサエナットプレ-ト 2
18 EZ4-466-199-01 ARM , CABLE GUIDE ( ) ケ-ブルガイドア-ム(L) 1
19 EZ4-471-563-11 SUPPORT PLATE (X, R) サポ-トプレ-ト(X,R) 1
20 EZ4-472-239-01 SPACER BLK, CABLE RETAINER ケ-ブルオサエスペ-サBLK 2
21 EZ7-682-260-04 SCREW +K 4X6 +K4X6 8
22 EZ7-683-401-04 BOLT,HEXAGON SOCKET 3X4 6 カクアナツキボルト3X4 16
23 EZ7-683-419-04 BOLT HEXAGON SOCKET 4X8 6 カクアナツキボルト4X8 6
24 EZ7-683-421-04 BOLT HEXAGON SOCKET 4X12 6 カクアナツキボルト(C4X12) 10
25 EZ7-683-425-04 BOLT,HEXAGON SOCKET 4X20 6 カクアナツキボルト4X20 2
26 EZ7-683-428-04 BOLT, HEXAGON SOCKET 4X40 6 カクアナツキボルト4X40 8
27 EZ7-683-435-04 BOLT,HEXAGON SOCKET 5X10 6 カクアナツキボルト5X10 4
28 EZ7-683-437-04 BOLT,HEXAGON SOCKET 5X14 6 カクアナツキボルト5X14 5
29 EZ1-492-202-12 BATTERY ASSY バツテリ-ASSY 1
30 EZ1-895-367-21 BOARD, BACKUP MONITORING バツクアツプモニタ-ボ-ド(Z) 1
31 EZ4-056-942-11 SPACER, MINIATURE CARD ミニカ-ドスペ-サ- 2
32 EZ4-468-642-01 BATTERY BOX (Z, L) バツテリ-BOX(Z,L) 1
33 EZ4-705-584-01 SPACER (SQ-7) スペ-サ(SQ-7) 2
34 EZ7-623-208-22 SW 3,TYPE 2 SW3,TYPE2 2
35 EZ7-683-401-04 BOLT,HEXAGON SOCKET 3X4 6 カクアナツキボルト3X4 4
36 EZ4-459-119-01 BASE, CABLE CLAMP ケ-ブルクランプベ-ス 1
37 EZ4-472-252-01 COLLAR, CABLE RETAINER SPACER ケ-ブルオサエスペ-サカラ- 4
38 EZ7-683-421-04 BOLT HEXAGON SOCKET 4X12 6 カクアナツキボルト(C4X12) 10
39 EZ7-683-428-04 BOLT, HEXAGON SOCKET 4X40 6 カクアナツキボルト4X40 4
40 EZ7-683-452-04 BOLT,HEXAGON SOCKET 6X10 6 カクアナツキボルト6X10 3