RX-7-Rev07PDF - 第8页
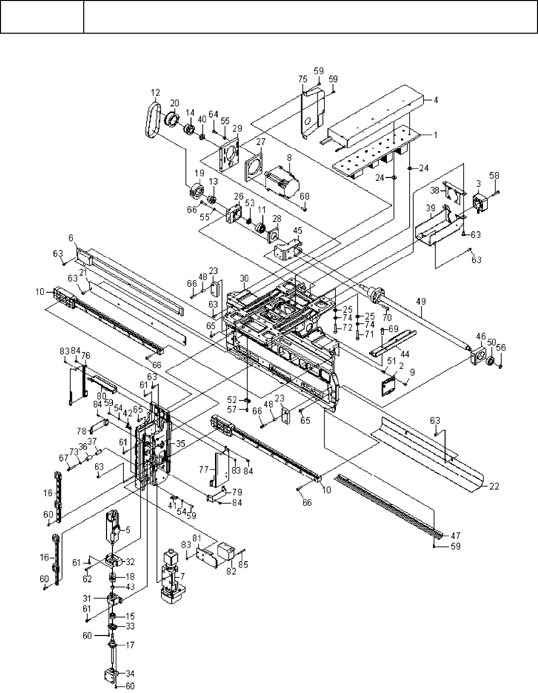
A-4 A 2 X フレ ーム ASSY 右 X frame as sy - Right

A-4
A2
X フレーム ASSY 右
X frame assy - Right

A-5
A2
X フレーム ASSY 右
X frame assy - Right
イラスト番号
Ref.No.
品番
Part Number
Description
品名
個数
Q'ty
備考
Remarks
1 EZX-2586-586-2 HEATSINK ASSY ヒ-トシンク ASSY 1
2 EZ1-492-149-11 DRIVER, PULSE MOTOR
パルス モ-タ ドライバ (AU9284N1)
1
3 EZ1-492-200-11 FAN ASSY (Y) FAN ASSY (Y ジク) R 1
4 EZ1-492-231-13 MOTOR ASSY (Y)
モ-タ ASSY (Y) R
1
5 EZ1-492-235-15 MOTOR ASSY (Z) モ-タ ASSY (Z) R 1
6 EZ1-492-237-13 SCALE ASSY (X)
スケ-ル ASSY (X) R
1
7 EZ1-492-245-11 UNIT,CAMERA PC BOARD(TS-479-*) キバン カメラ ユニツト (TS-479-100) 1
8 EZ1-855-265-11 MOTOR, SERVO (HG-KR23)
サ-ボ モ-タ (HG-KR23)
1
9 EZ2-580-592-01 SCREW, +PSW M3X8 SCREW, +PSW M3X8 4
10 EZ4-454-731-01 LINEAR ROLLERWAY (MXSG15C1R440)
リニア ロ-ラ- ウエイ (MXSG15C1R440)
1
11 EZ4-454-733-01 BEARING (7000), ANGULAR アンギユラ ベアリング (7000) 1
12 EZ4-454-734-01 BELT (275-EV5GT-12), TIMING
タイミング ベルト (275-EV5GT-12)
1
13 EZ4-454-735-01 LOCK (MC-8-19), MECHANICAL メカ ロツク (MC-8-19) 1
14 EZ4-454-736-01 LOCK (MC-14-26), MECHANICAL
メカ ロツク (MC-14-26)
1
15 EZ4-454-738-01 BEARING (MTA06-15), ANGULAR アンギユラ ベアリング (MTA06-15) 1
16 EZ4-454-739-02 LINEAR WAY (MLC9C2R180)
リニアウエイ (MLC9C2R180)
2
17 EZ4-454-740-01 SCREW (BLK0606S-3G1), BALL ボ-ル ネジ (BLK0606S-3G1) 1
18 EZ4-454-741-01 COUPLING (SFC-010SA2-5B-5B)
カツプリング (SFC-010SA2-5B-5B)
1
19 EZ4-454-946-01 X PULLEY X プ-リ 1
20 EZ4-454-947-01 PULLEY, X DRIVING
X クドウ プ-リ-
1
21 EZ4-455-207-02 GREASE COVER (X, A) グリス カバ- (X, A) 1
22 EZ4-455-208-12 GREASE COVER (X, B)
グリス カバ- (X, B)
1
23 EZ4-455-209-02 STOPPER (X, S) ストツパ- (X, S) 2
24 EZ4-455-210-01 COLLAR, HEAT INSULATING
ダンネツ カラ-
10
25 EZ4-455-211-01 WASHER, HEAT INSULATING ダンネツ ワツシヤ 10
26 EZ4-455-238-02 BEARING HOLDER (X, F)
ベアリング ホルダ- (X, F)
1
27 EZ4-455-239-01 MOTOR BRACKET (X) モ-タ- ブラケツト (X) 1
28 EZ4-455-241-01 BEARING RETAINER (X)
ベアリング オサエ (X)
1
29 EZ4-455-242-12 TENSION PLATE (X) テンシヨン プレ-ト (X) 1
30 EZ4-455-248-14 X FRAME (R)
X フレ-ム (R)
1
31 EZ4-455-277-02 HOLDER (Z), BEARING ベアリング ホルダ- Z 1
32 EZ4-455-279-02 BRACKET, MOTOR
モ-タ- ブラケツト
1
33 EZ4-455-283-02 RETAINER, BEARING ベアリング オサエ 1
34 EZ4-455-284-01 HOLDER, NUT (Z)
ナツト ホルダ- (Z)
1
35 EZ4-455-285-13 Z FRAME (R) Z フレ-ム (R) 1
36 EZ4-455-293-01 URETHANE STOPPER, Z
Z ウレタン ストツパ-
4
37 EZ4-455-294-01 COLLAR, Z STOPPER Z ストツパ- カラ- 4
38 EZ4-455-668-01 FAN, BRACKET
FAN ブラケツト
1
39 EZ4-455-670-02 FAN, DUCT FAN ダクト 1
40 EZ4-461-729-01 COLLAR (FWSSB-D17-V14-T5)
カラ- (FWSSB-D17-V14-T5)
1
41 EZ4-461-775-11 COVER (RZ, R), GREASE グリス カバ- (RZ, R) 1
42 EZ4-461-776-11 COVER (RZ, L), GREASE
グリス カバ- (RZ, L)
1
43 EZ4-463-629-01 NUT (Z), BEARING ベアリング ナツト (Z) 1
44 EZ4-466-199-11 ARM , CABLE GUIDE (R)
ケ-ブル ガイド ア-ム (R)
1
45 EZ4-467-281-11 BALL SCREW NUT HOLDER (X, R) ボ-ルネジ ナツト ホルダ- (X, R) 1
46 EZ4-467-284-01 BEARING HOLDER (X, S)
ベアリング ホルダ- (X, S)
1
47 EZ4-467-686-01 GREASE COVER (X, BT) グリ-ス カバ- (X, BT) 1
48 EZ4-467-695-01 COLLAR (X), STOPPER
ストツパ- カラ- (X)
4
49 EZ4-468-933-01 SCREW (SDA1520), BALL ボ-ル ネジ (SDA1520) 1
50 EZ4-700-061-01 BEARING (6000ZZ)
ベアリング (6000ZZ)
1