BM123 Mechanical20071204 - 第173页
PART NAME REMARKS Q'TY 23 CNTノズル部(S) CNT NOZZLE SEC T.(S) イラスト No. REF No. PART No. 部 品 名 品 番 個数 備 考 R 1 R 2 1 10807GH817AF NOZZLE UNIT(C NT) ノズルユニット(CNT) 1 1 1081709810AF NOZZLE UNIT ノズルユニット NON SUPPLY 1 2 10807…

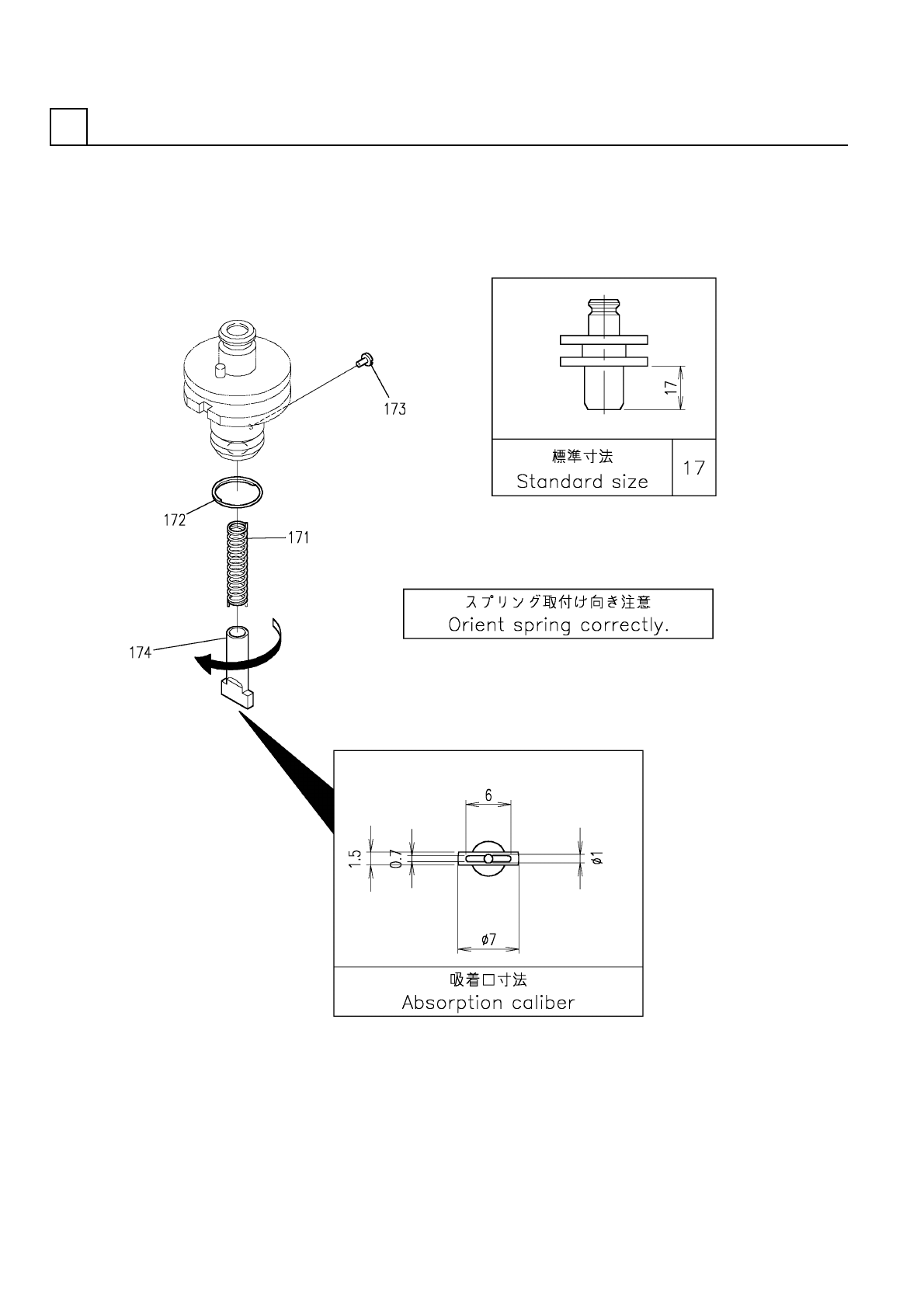
CNTノズル部(S)
CNT NOZZLE SECT.(S)
23
F10807-GH-817-AF
M149

PART NAME
REMARKS
Q'TY
23
CNTノズル部(S)
CNT NOZZLE SECT.(S)
イラスト
No.
REF
No.
PART No.
部 品 名 品 番 個数 備 考
R
1
R
2
1 10807GH817AF
NOZZLE UNIT(CNT) ノズルユニット(CNT)
1
1 1081709810AF
NOZZLE UNIT ノズルユニット
NON SUPPLY
1
2 1080788170
NOZZLE UNIT(CNT) ノズルユニット(CNT)
M150
F10807-GH-817-AF

CNTノズル部(専用部)
CNT NOZZLE SECT.(EXCLUSIVE SECT.)
23
F10807-88-170
M151