BM123 Mechanical20071204 - 第205页
PART NAME REMARKS Q'TY 24 本体部(チ ッフ ゚厚み検出セ ンサ取付対 応) MAIN BODY SECT .(SPECIFICATION F OR CHIP THICKNESS D ETECTOR SENSO R) イラスト No. REF No. PART No. 部 品 名 品 番 個数 備 考 R 1 R 2 1 1086201260 SENSOR ATTACH MENT UNIT センサトリツ…

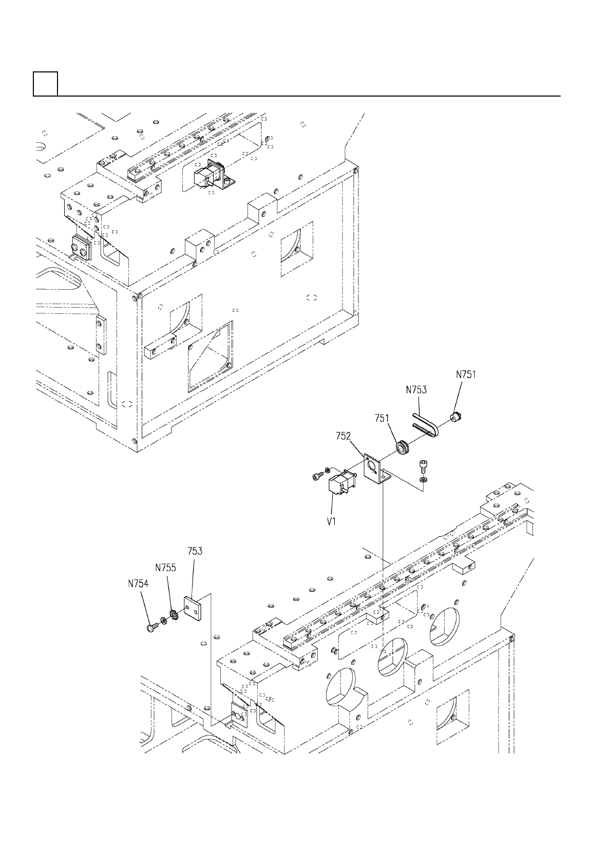
本体部(チップ厚み検出センサ取付対応)
MAIN BODY SECT.(SPECIFICATION FOR CHIP THICKNESS DETECTOR SENSOR)
24
F10862-01-260-AA_02
M181

PART NAME
REMARKS
Q'TY
24
本体部(チップ厚み検出センサ取付対応)
MAIN BODY SECT.(SPECIFICATION FOR CHIP THICKNESS DETECTOR SENSOR)
イラスト
No.
REF
No.
PART No.
部 品 名 品 番 個数 備 考
R
1
R
2
1 1086201260
SENSOR ATTACHMENT UNIT センサトリツケユニット
1
261 N210048629AA
BRACKET ブラケット
M182
F10862-01-260-AA_02

プリント基板搬送部(自動幅寄せ部)
P.C.B. TRANSFER SECT.(AUTO WIDTH ADJUSTMENT SECT.)
25
F10862-05-750-AC_B
M183