BM123 Mechanical20071204 - 第221页
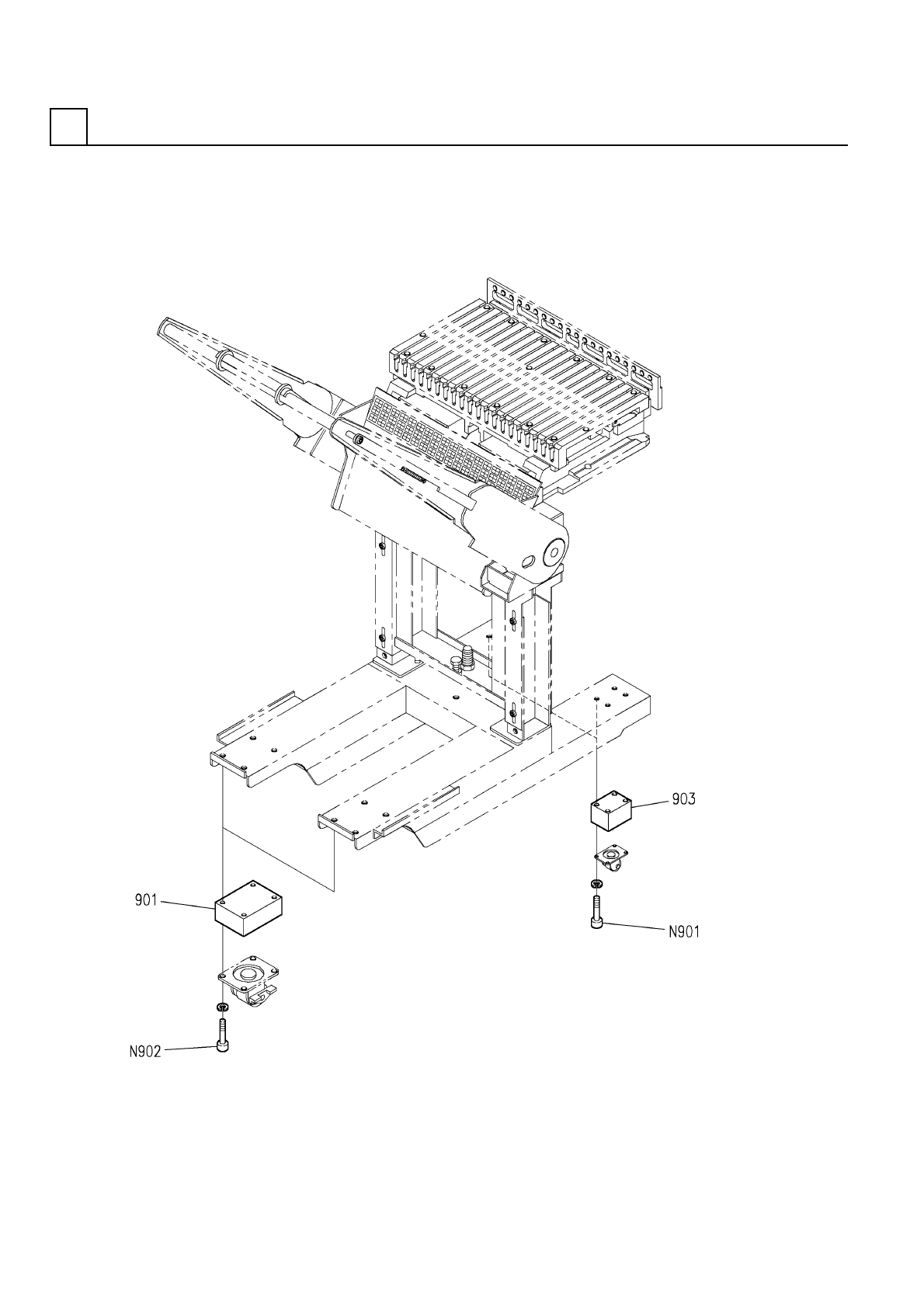
PART NAME REMARKS Q'TY 29 一括交換カ ート部( 高さ対応部) BATCH EXCHANGE CART SECT.(HEIGH T TYPE SECT.) イラスト No. REF No. PART No. 部 品 名 品 番 個数 備 考 R 1 R 2 1 1086217900 HEIGHT TYPE U NIT タカサタイオウユニット 2 901 1086217901 BLOCK ブロック 2 …

一括交換カート部(高さ対応部)
BATCH EXCHANGE CART SECT.(HEIGHT TYPE SECT.)
29
F10862-17-900-AA
M197

PART NAME
REMARKS
Q'TY
29
一括交換カート部(高さ対応部)
BATCH EXCHANGE CART SECT.(HEIGHT TYPE SECT.)
イラスト
No.
REF
No.
PART No.
部 品 名 品 番 個数 備 考
R
1
R
2
1 1086217900
HEIGHT TYPE UNIT タカサタイオウユニット
2
901 1086217901
BLOCK ブロック
2
903 1086217903
BLOCK ブロック
M5X50-10.9 A2J (Trival
8
N901
N510017409AA
HEX. SOCKET HEAD CAP BOLT ロッカクアナツキボルト
M6X50-10.9 A2J (Trival
8
N902
N510017446AA
HEX. SOCKET HEAD CAP BOLT ロッカクアナツキボルト
M198
F10862-17-900-AA

回収コンベア部(1<32mm>)
RECOVERY CONVEYER SECT.(1<32mm>)
30
F10896-80-400-AD_A-1
M199