BM123 Mechanical20071204 - 第40页
カバー 部(5) COVER SECT.(5) 2 FN610063347AA_03-5 M17

PART NAME
REMARKS
Q'TY
2
カバー部(4)
COVER SECT.(4)
イラスト
No.
REF
No.
PART No.
部 品 名 品 番 個数 備 考
R
1
R
2
S
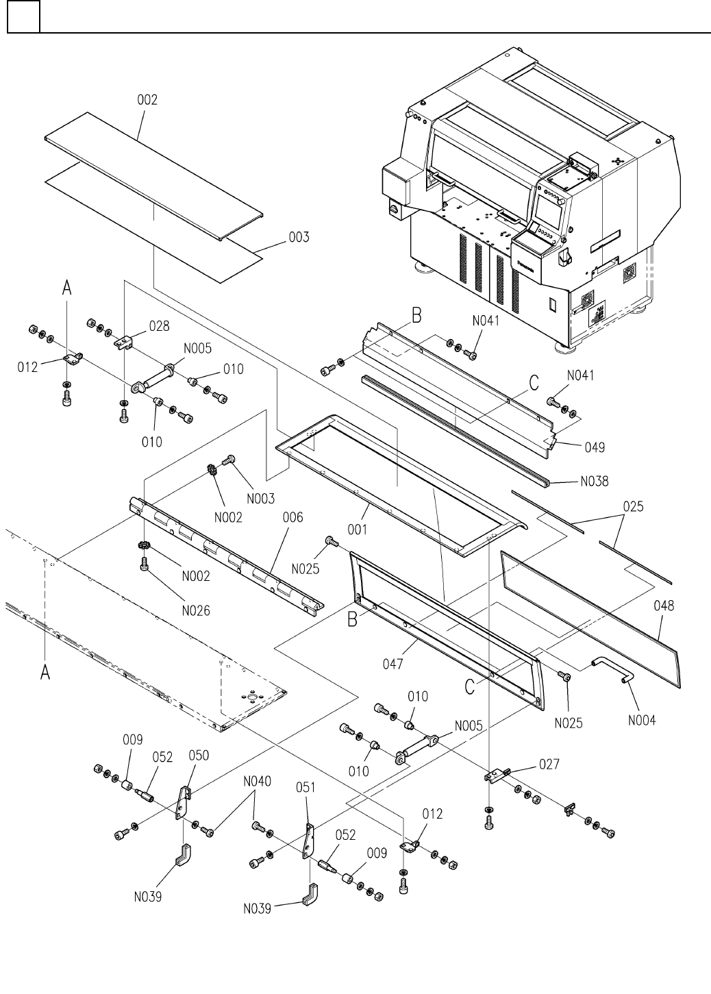
1001 1086202602
UPPER COVER カハ
゙ー(UPPER)
S
1
002 1086202203
UPPER COVER カバー(UPPER)
1
003 1086202204
SEAL シール
S
1004 108620220502
FRONT COVER カバー(FRONT)
S
1005 1086202206
FRONT COVER カハ
゙ー(FRONT)
1
006 1086202214
HINGE ヒンジ
2
008 1086202231
PIN(ROLLER) ピン(ローラ)
2009 1086202232
ROLLER ローラ
4010 1086202235
BUSHING フ
゙ッシュ
2
012 N210060812AA
BRACKET ブラケット
2024 1086202533
BRACKET ブラケット
1025 1086207121
LABEL ラヘ
゙ル
S
1
027 108620261701
BRACKET ブラケット
1
028 1086202518
BRACKET ブラケット
5 External toothed Ste
12
N002
N510018765AA
TOOTHED LOCK WASHER ハツキザガネ
M5X8-4.8 A2J (Trivalen
6
N003
N510018302AA
TRUSS HEAD SCREW トラスコネシ
゙
THA-31-13-TAP LEG
2
N004
N982THA3413A
DRAWER PULL トッテ
KSF50-10 S
2
N005
N510012927AA
GAS SPRING ガススプリング
M6X10
2
N025
N986YYYY-K24
SCREW ネジ(ゴクテイトウロッカクアナツキ)
M5X20-4.8 A2J (Trivale
6
N026
N510018292AA
TRUSS HEAD SCREW トラスコネシ
゙
M16
FN610063347AA_03-4

カバー部(5)
COVER SECT.(5)
2
FN610063347AA_03-5
M17

PART NAME
REMARKS
Q'TY
2
カバー部(5)
COVER SECT.(5)
イラスト
No.
REF
No.
PART No.
部 品 名 品 番 個数 備 考
R
1
R
2
S
1001 1086202602
UPPER COVER カハ
゙ー(UPPER)
S
1
002 1086202203
UPPER COVER カバー(UPPER)
1
003 1086202204
SEAL シール
1006 1086202214
HINGE ヒンジ
2009 1086202232
ROLLER ローラ
4
010 1086202235
BUSHING ブッシュ
2
012 N210060812AA
BRACKET ブラケット
1025 1086207121
LABEL ラヘ
゙ル
S
1027 108620261701
BRACKET フ
゙ラケット
1
028 1086202518
BRACKET ブラケット
S
1047 N210051621AA
REAR COVER カバー(REAR)
S
1048 N210051622AA
REAR COVER カハ
゙ー(REAR)
S
1
049 N210075065AB
COVER カバー
S
1
050 N210051628AA
BRACKET ブラケット
S
1051 N210078291AA
BRACKET ブラケット
2052 N210067090AA
PIN(ROLLER) ピ
ン(ローラ)
5 External toothed Ste
12
N002
N510018765AA
TOOTHED LOCK WASHER ハツキザガネ
M5X8-4.8 A2J (Trivalen
6
N003
N510018302AA
TRUSS HEAD SCREW トラスコネジ
THA-31-13-TAP LEG
2
N004
N982THA3413A
DRAWER PULL トッテ
KSF50-10 S
2
N005
N510012927AA
GAS SPRING ガススフ
゚リング
M6X10
2
N025
N986YYYY-K24
SCREW ネジ(ゴクテイトウロッカクアナツキ)
M5X20-4.8 A2J (Trivale
6
N026
N510018292AA
TRUSS HEAD SCREW トラスコネジ
75-08-W-5T
1
N038
N510021679AA
TRIM トリム
75-32-W-5T
2
N039
N510023004AA
TRIM トリム
SSS 003 M6X10-10.9 A2J
2
N040
N510017554AA
HEX. SOCKET BUTTON HEAD BOL ロッカクアナツキボタンボルト
M5X8-10.9 A2J (Trivale
2
N041
N510017553AA
HEX. SOCKET BUTTON HEAD BOL ロッカクアナツキボタンボルト
M18
FN610063347AA_03-5