BM123 Mechanical20071204 - 第56页
Y軸部( 本体部1) Y-AXIS SECT.(M AIN BODY SECT.-1) 4 F10862-04-200-AL_0 2-1 M33

PART NAME
REMARKS
Q'TY
3
X軸部(配線配管部)
X-AXIS SECT.(WIRING & PIPING SECT.)
イラスト
No.
REF
No.
PART No.
部 品 名 品 番 個数 備 考
R
1
R
2
1 N610016824AA
WIRING & PIPING UNIT ハイセン・ハイカンユニット
1
301 108620430104
GUIDE ガイド
3
305 108620430502
BRACKET ブラケット
1306 N210027909AA
BRACKET ブラケット
1307 108620430702
SHEET シート
1
308 108620430805
BRACKET ブラケット
1
310 108620431004
BRACKET(CONNECTOR) ブラケット(コネクタ)
1311 108620431102
BRACKET(CONNECTOR) ブラケット(コネクタ)
1312 108620431202
STAND スタンド
1
313 N210027910AA
BRACKET ブラケット
1314 108620431401
BRACKET(CONNECTOR) ブラケット(コネクタ)
1315 108620431501
COVER カバー
1
316 1086204316
BRACKET ブラケット
280.12.075HF-14-2900.1
1
N301
N986280.-T37
FLEXIBLE DUCT フレキシブルダクト
M4X10-4.8 A2J (Trivale
1
N302
N510018164AA
FLUSH HEAD SCREW サラコネジ
3050.ZC
2
N303
N9863050.ZC
CLAMP クランプ
M4-6H-4T A2J (Trivalen
1
N304
N510017855AA
NUT ナット
M32
FN610016824AA_02

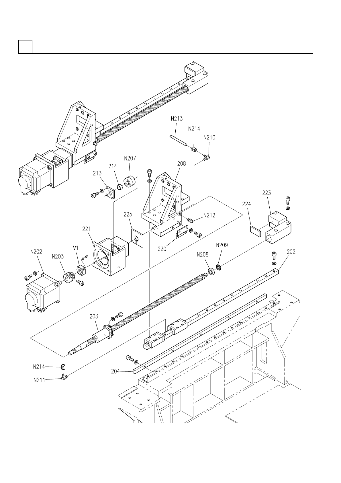
Y軸部(本体部1)
Y-AXIS SECT.(MAIN BODY SECT.-1)
4
F10862-04-200-AL_02-1
M33

PART NAME
REMARKS
Q'TY
4
Y軸部(本体部1)
Y-AXIS SECT.(MAIN BODY SECT.-1)
イラスト
No.
REF
No.
PART No.
部 品 名 品 番 個数 備 考
R
1
R
2
1 1086204200
Y-AXIS UNIT Yジクユニット
1
202 1086204202
LINEAR MOTION UNIT リニアモーションユニット
1
203 108620420304
BALL SCREW ボールネジ
1204 108620420401
PLATE プレート
1208 N210074030AA
JOINT(LEFT) ジョイント(LEFT)
1
213 1080704481
BEARING WEIGHT ベアリングウエイト
1
214 1086204214
COLLAR カラー
1220 108621422001
BRACKET ブラケット
1221 N210023694AA
BRACKET(MOTOR) ブラケット(モータ)
1
223 N210023695AA
BLOCK ブロック
1224 N210023790AA
STOPPER ストッパ
1225 1086204209
STOPPER ストッパ
HC-SFS102 S
1
N202
N606HCSFS102
MOTOR モータ
SFC-050SA2-17B-24B
1
N203
N510024077AA
COUPLING カップリング
7204ADFCP10
1
N207
N510003514AA
BEARING ベアリング
6003ZZ
1
N208
N510003167AA
BEARING ベアリング
FU03SS
1
N209
KXF0236AA00
LOCK-NUT ロックナット
106915
1
N210
N431106915
FITTING ツギテ
106916
1
N211
N431106916
FITTING ツギテ
A-MT6X1
1
N212
N560AMT6-130
GREASE NIPPLE グリースニップル
NYLON4
1
N213
N434SH0W-048
TUBE チューブ
PZ4
2
N214
N434PZ4
BAND バンド
RN20
1V 1 N986RN20
LOCK-NUT ロックナット
M34
F10862-04-200-AL_02-1