BM123 Mechanical20071204 - 第79页
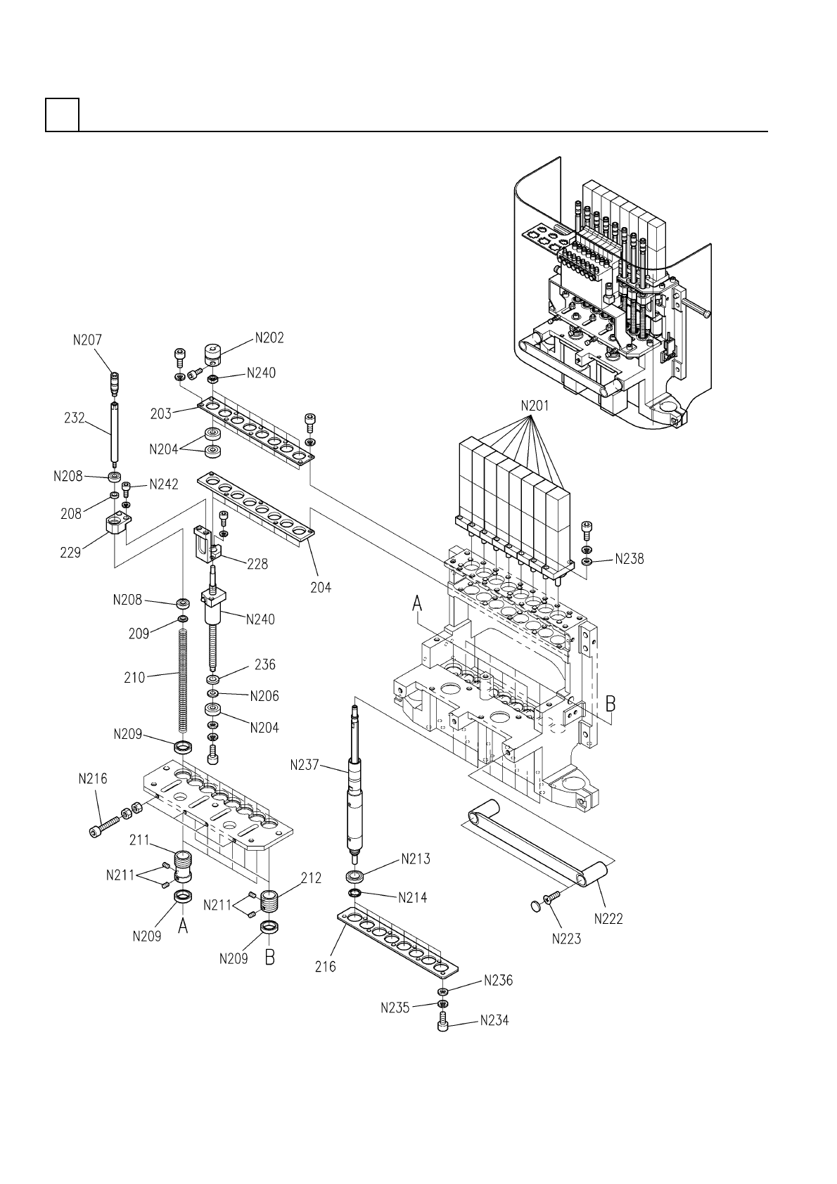
PART NAME REMARKS Q'TY 7 ヘッド部(駆動部2) HEAD SECT.(DRI VING SECT.-2) イラスト No. REF No. PART No. 部 品 名 品 番 個数 備 考 R 1 R 2 1 203 108620910501 PLATE プレート 1 204 1086209106 PLATE プレート 8 208 108620900702 COLLAR カラー 8 209 10…

ヘッド部(駆動部2)
HEAD SECT.(DRIVING SECT.-2)
7
FN610061358AA_00-2
M55

PART NAME
REMARKS
Q'TY
7
ヘッド部(駆動部2)
HEAD SECT.(DRIVING SECT.-2)
イラスト
No.
REF
No.
PART No.
部 品 名 品 番 個数 備 考
R
1
R
2
1203 108620910501
PLATE プレート
1
204 1086209106
PLATE プレート
8
208 108620900702
COLLAR カラー
8209 108620900801
COLLAR カラー
8210 1086209043
SPRING スプリング
4
211 108620916201
PULLEY プーリー
4
212 108620916301
PULLEY プーリー
1216 N210046993AA
COVER カバー
8228 108620922802
HANGER ハンガー
8
229 1086289291
HOUSING ハウジング
8232 108628946101
SHAFT シャフト
8236 1086209236
STOPPER ストッパ
HC-BH0236-S11 S
8
N201
N510029993AA
MOTOR モータ
SFC-010DA-T006
8
N202
N644SFC0-195
COUPLING カップリング
626ZZ
24
N204
XLC626ZZ
BALL BEARING ボールベアリング
WSSB13-6-2
8
N206
N986WSSB1362
WASHER ザガネ
KSH04-M5
8
N207
N431KSH04M5
FITTING ツギテ
696ZZ1MC2
16
N208
N510003424AA
BEARING ベアリング
6702LLF
16
N209
N510003270AA
BEARING ベアリング
M3X3-45H A2J (Trivalen
16
N211
N510018358AA
HEX. SOCKET SET SCREW ロッカクアナツキトメネジ
6801ZZC2
8
N213
N510003278AA
BEARING ベアリング
ISTW-12
8
N214
KXF0DAYAA00
RETAINING RING C-TYPE, SHAF マル S ガタ トメワ
ACB3-35
4
N216
N986ACB335
BOLT ボルト
A-42-J-3
1
N222
N980A42J3
KNOB トッテ
M6X20-4.8 A2J (Trivale
2
N223
N510018204AA
FLUSH HEAD SCREW サラコネジ
M3X8-10.9 A2S (Trivale
9
N234
N510017342AA
HEX. SOCKET HEAD CAP BOLT ロッカクアナツキボルト
No.2 3 S A2S (Trivalen
9
N235
N510018328AA
SPRING WASHER バネザガネ
3 10H A2S (Trivalent)
9
N236
N510018495AA
ROUND PLAIN WASHER ミガキマルヒラザガネ
LSAGT8C2R236E671
8
N237
N513LSAG-B29
BALL SPLINE ボールスプライン
4 10H A2J (Trivalent)
16
N238
N510018479AA
ROUND PLAIN WASHER コガカマルヒラザガネ
BNK0812S-3GS+156.5LC7T
8
N240
N643BNK0-610
BALL SCREW ボールネジ
M3X10
16
N242
N986YYYY-866
SCREW ネジ(テイトウロッカクアナツキ)
M56
FN610061358AA_00-2

ヘッド部(駆動部3)
HEAD SECT.(DRIVING SECT.-3)
7
FN610061358AA_00-3
M57