BM123 Mechanical20071204 - 第87页
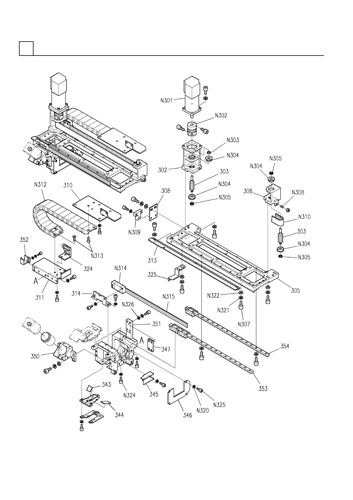
PART NAME REMARKS Q'TY 7 ヘッド部(ノズルホルダ部) HEAD SECT.(NOZ ZLE HOLDER SECT.) イラスト No. REF No. PART No. 部 品 名 品 番 個数 備 考 R 1 R 2 1 1086109520 NOZZLE HOLDER UNIT ノズルホルダユニット 1 521 108070997601 PUSHER プッシャ 1 522 108628…

ヘッド部(ノズルホルダ部)
HEAD SECT.(NOZZLE HOLDER SECT.)
7
F10861-09-520-AE_01
M63

PART NAME
REMARKS
Q'TY
7
ヘッド部(ノズルホルダ部)
HEAD SECT.(NOZZLE HOLDER SECT.)
イラスト
No.
REF
No.
PART No.
部 品 名 品 番 個数 備 考
R
1
R
2
1 1086109520
NOZZLE HOLDER UNIT ノズルホルダユニット
1
521 108070997601
PUSHER プッシャ
1
522 108628937902
HOLDER ホルダ
1523 N210047269AA
WASHER ザガネ
1524 1080709514
PAD パッド
1
525 1080709925
SPRING バネ
8,STEEL,P.C
1
N002
XUC8FP
RETAINING RING E-TYPE E ガタトメワ
2
3
N003
N506D2
STEEL BALL コウキュウ
M3X8
2
N004
N986YYYY-T83
BOLT トルクスアナツキボタンボルト
M64
F10861-09-520-AE_01

ヘッド部(S軸部)
HEAD SECT.(S-AXIS SECT.)
7
FN610013920AA_00_A
M65