QE64C-E-MPA-57 - 第163页
Ref No. Remarks R 1 Q'ty 7 ラインカ メラ Line Camera イラスト No. Part No. 品 名 品番 数量 R 2 パー ツ リ スト Kit No. キ ット 品番 Kit Name キ ット 名称 KXFX036BA00 Part Name 備 考 セクション No . PARTS LIST Section No. R 3 POST 2 1 KXFB02NHA00 POST 1 2…

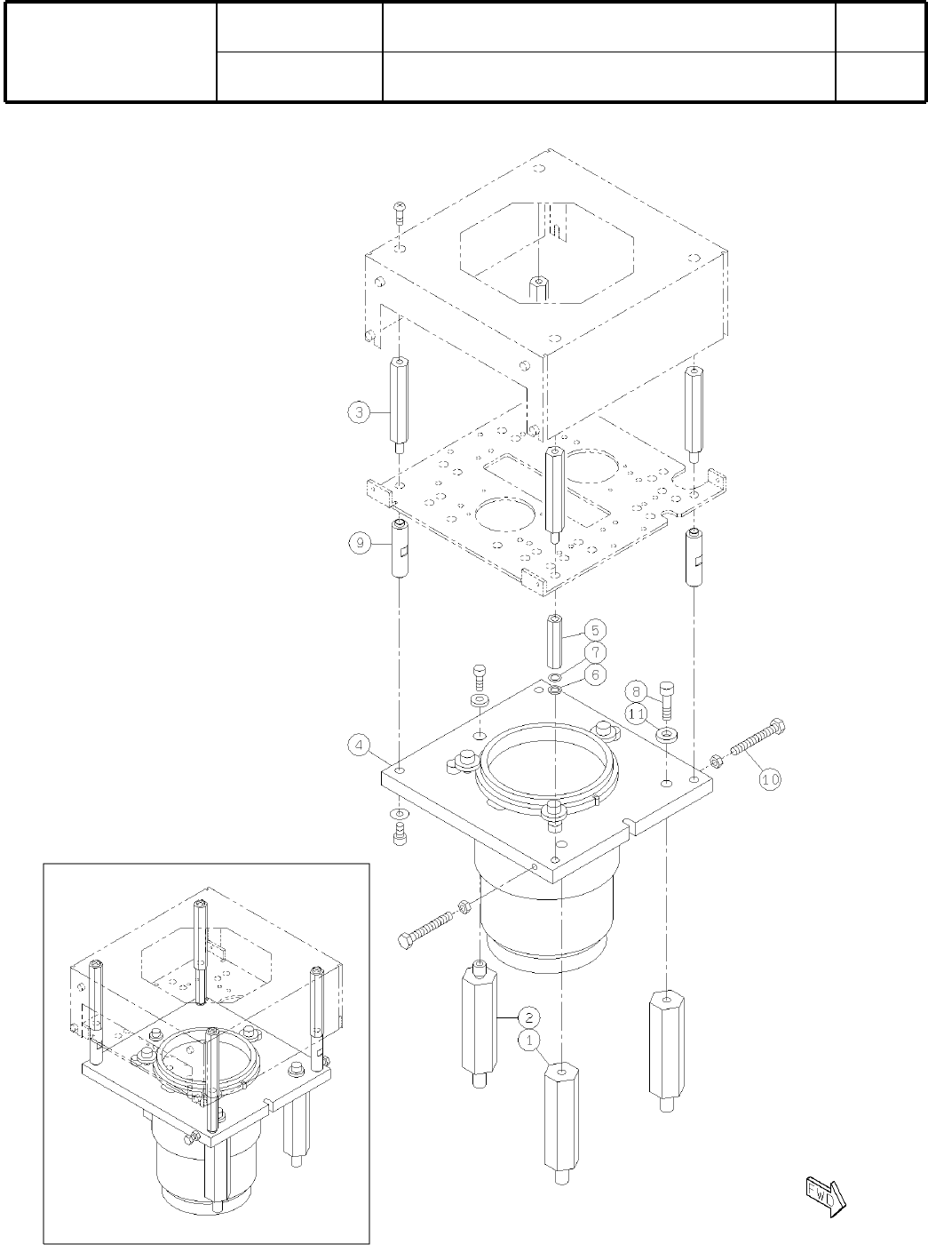
7
ラインカメラ
Line Camera
パーツレイアウト
Kit No.
キット
品番
Kit Name
キット
名称
KXFX036BA00
セクション
No
.
PARTS LAYOUT
Section No.
-
-
S35
( KKXFX036BA00-05 )

Ref
No.
Remarks
R
1
Q'ty
7
ラインカメラ
Line Camera
イラスト
No.
Part No.
品 名品番 数量
R
2
パーツリスト
Kit No.
キット
品番
Kit Name
キット名称
KXFX036BA00
Part Name
備 考
セクション
No
.
PARTS LIST
Section No.
R
3
POST
2
1 KXFB02NHA00
POST
1
2 KXFB02NJA01
POST
4
3 KXFB022ZA00
LENS
1
4 KXF0DVFAB01 KOM-F4IR(DA KXF0DVFAB01)
SPACER
2
5 N510008558AA ASF-535E
WASHER
2
6 KXF0BCCAA00 MSRB5.5-1.0
WASHER
2
7 KXF0CJ9AA00 MSRB5.5-0.5
BOLT
2
8 KXFB04K8A00
POST
2
9 KXFB04LDA00
BOLT
2
10 N510018857AA
Hexagon head bolt Best class M4X30-6g 4T A2J (Trivalent) Full thread
WASHER
2
11 KXF0DY0GA00 WSSB13-6-3
S36
-
-
( KKXFX036BA00-05 )

8
セラミック
基板対応
F
;
L→R
/
R
;
R→L
Ceramic PCB Capable(FR Ref;L->R/INR Ref;R->L)
パーツレイアウト
Kit No.
キット
品番
Kit Name
キット
名称
KXFX036SA00
セクション
No
.
PARTS LAYOUT
Section No.
-
-
S37
( KKXFX036SA00-02 )