QE64C-E-MPA-57 - 第296页
43 基板下受 ブロ ック ( Dual ) Board Support Block for Dual Conveyor パー ツレイ アウト Kit No. キ ット 品番 Kit Name キ ット 名称 N610003688AA セクション No . PARTS LAYOUT Section No. - - S169 ( KN610003688AA-02 )

Ref
No.
Remarks
R
1
Q'ty
42-B
基板
ストッパ
(
Dual
)
Board Stopper(Dual)
イラスト
No.
Part No.
品 名品番 数量
R
2
パーツリスト
Kit No.
キット
品番
Kit Name
キット名称
N610002282AA
Part Name
備 考
セクション
No
.
PARTS LIST
Section No.
R
3
STOPPER
1
1 KXFB04XXA01
BLOCK
1
2 KXFB04XYA00
BRACKET
1
3 N210004615AA
BRACKET
1
4 N210009231AA
BRACKET
1
5 KXFB04Y7A00
SPEED-CONTROLLER
1
6 KXF00Z1AA00 AS1311F-M5-04
SPRING
1
7 N510002515AA BWY6-35
BOLT
4
8 KXF0DY7VA00 NACB4-10
CYLINDER
1
9 KXF0DY8SA00 CJ2B16-DCG0805G-20(DDA)
PIN
1
10 KXF0DM5AA00 STEHN5.5A
PIN
1
11 N610002284AA
PIN
1
12 N610002286AA
SENSOR(150mm 220mm)
1
13 N610002290AA
SENSOR(300mm)
1
14 N610002291AA
RING
1
15 KXF08ZYAA00 R2.5X0.5
S168
-
-
( KN610002282AA-03-2 )

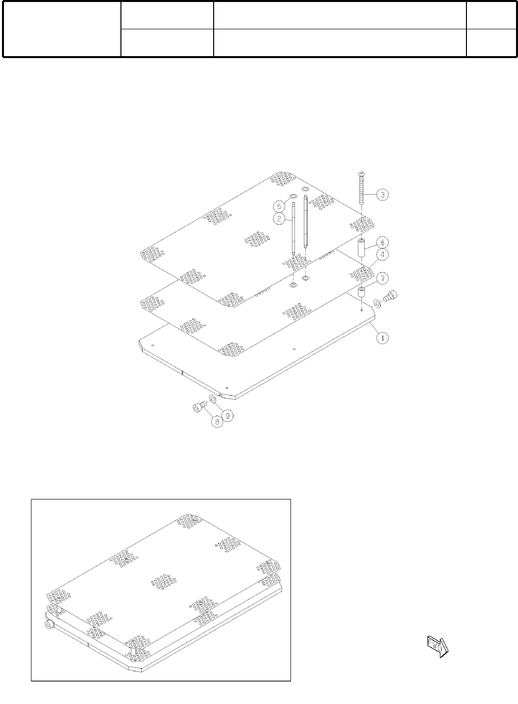
43
基板下受
ブロック
(
Dual
)
Board Support Block for Dual Conveyor
パーツレイアウト
Kit No.
キット
品番
Kit Name
キット
名称
N610003688AA
セクション
No
.
PARTS LAYOUT
Section No.
-
-
S169
( KN610003688AA-02 )

Ref
No.
Remarks
R
1
Q'ty
43
基板下受
ブロック
(
Dual
)
Board Support Block for Dual Conveyor
イラスト
No.
Part No.
品 名品番 数量
R
2
パーツリスト
Kit No.
キット
品番
Kit Name
キット名称
N610003688AA
Part Name
備 考
セクション
No
.
PARTS LIST
Section No.
R
3
PLATE
1
1 N210004322AA
PIN
20
2 KXFB00VCA01
SCREW
6
3 KXFB00UPA00
PLATE
2
4 KXFB04Z7A00
O-RING
40
5 KXF0DHMAA00 ID2XW0.5 gray NBR60deg
SPACER
6
6 N510017088AA CB-2614E
SPACER
6
7 N510017087AA CB-2606E
BOLT
2
8 XVE26B5FTC
Hexagon socket head cap screw M2.6X5-12.9 SOB
WASHER
2
9 N510018476AA
Small round-plain washer 2.6 10H A2J (Trivalent)
S170
-
-
( KN610003688AA-02 )