P-213-001e.pdf - 第157页
MODEL TIM-5100 0008-001 Key No. P AR T No. P AR T NAME Q’ ty REMARKS NOTE BD-1 15 630 001 0220 W ASHER 8 BW 5 17 41 1 141 6705 WASHER SPR 5 8 SW 5 19 630 000 7756 BOL T ,HEX-SCT 8 M5X12 36 41 1 1 19 1909 W ASHER V 3X7X0.…

MODEL TIM-5100
0008-001
ドライバ部 DRIVER SECTION
Fig. BD-1 ドライバAレイアウト Driver A Layout

MODEL TIM-5100
0008-001
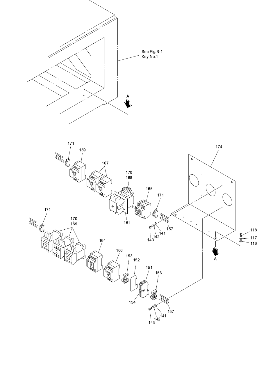
Key No. PART No. PART NAME Q’ty REMARKS
NOTE
BD-1
15 630 001 0220 WASHER 8 BW5
17 411 141 6705 WASHER SPR 5 8 SW5
19 630 000 7756 BOLT,HEX-SCT 8 M5X12
36 411 119 1909 WASHER V 3X7X0.5 6 FW3 F
37 411 086 4408 WASHER SPR 3 6 SW3 F
38 411 040 6202 SCR PAN 3X10 6 M3X10 PAN
46 411 088 1702 WASHER V 5X10X1 17 FW5 F
47 411 008 2109 WASHER SPR 5 17 SW5 F
48 411 043 6803 SCR PAN 5X12 17 M5X12 PAN
51 630 093 9026 UNIT,DRIVER 1 741BD-11D-051
52 630 073 5390 UNIT,DRIVER 1 741BD-11D-052
53 630 062 9026 UNIT,DRIVER 2 741BD-11D-053
54 630 054 5357 UNIT,POWER 3 741BD-11D-054
61 630 078 3179 UNIT,DRIVER 1 741BD-11D-158
71 630 084 3262 BRACKET 1 741BD-11V-071
72 630 084 3279 BRACKET 1 741BD-11V-072
75 630 084 3293 BRACKET 1 741BD-11V-075

MODEL TIM-5100
0008-001
ドライバ部 DRIVER SECTION
Fig. BD-2
ドライバAパネルレイアウト
Driver A Panel Layout