P-213-001e.pdf - 第162页
MODEL TIM-5100 0008-001 ドライバ部 DRIVER SECTION Fig. BD-4 ドライバBパネルレイアウト Driver B Panel Layout

MODEL TIM-5100
0008-001
Key No. PART No. PART NAME Q’ty REMARKS
NOTE
BD-3
215 630 001 0220 WASHER 8 BW5
217 411 141 6705 WASHER SPR 5 8 SW5
219 630 000 7756 BOLT,HEX-SCT 8 M5X12
236 411 119 1909 WASHER V 3X7X0.5 4 FW3 F
237 411 086 4408 WASHER SPR 3 4 SW3 F
238 411 040 6202 SCR PAN 3X10 4 M3X10 PAN
246 411 088 1702 WASHER V 5X10X1 14 FW5 F
247 411 008 2109 WASHER SPR 5 14 SW5 F
248 411 043 6803 SCR PAN 5X12 14 M5X12 PAN
251 630 093 9026 UNIT,DRIVER 1 741BE-11D-051
252 630 073 5390 UNIT,DRIVER 1 741BE-11D-052
253 630 062 9026 UNIT,DRIVER 2 741BE-11D-053
254 630 054 5357 UNIT,POWER 2 741BE-11D-054
271 630 084 3262 BRACKET 1 741BE-11V-071
272 630 084 3279 BRACKET 1 741BE-11V-072
275 630 084 3293 BRACKET 1 741BE-11V-075

MODEL TIM-5100
0008-001
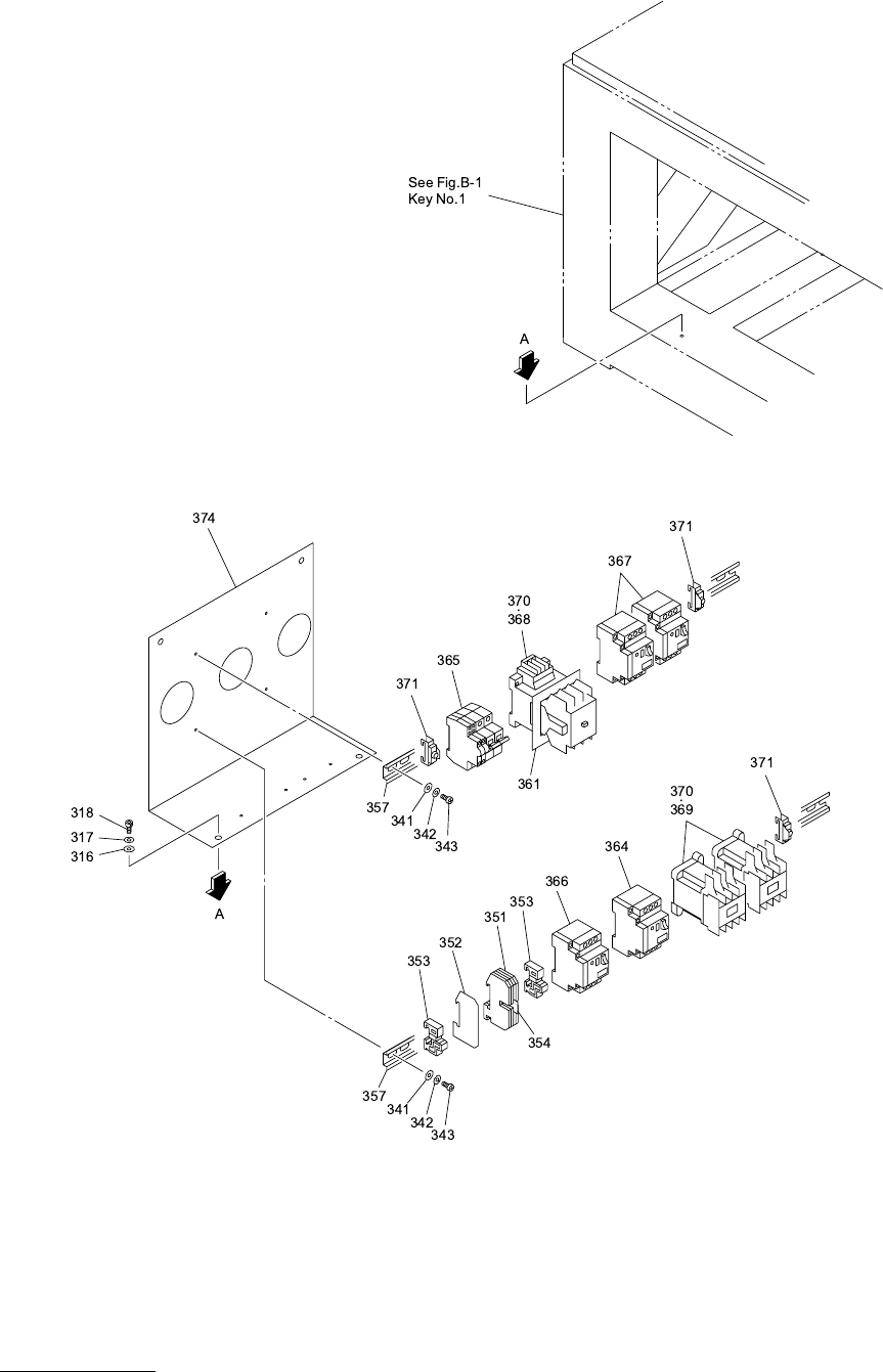
ドライバ部 DRIVER SECTION
Fig. BD-4
ドライバBパネルレイアウト
Driver B Panel Layout

MODEL TIM-5100
0008-001
Key No. PART No. PART NAME Q’ty REMARKS
NOTE
BD-4
316 630 001 0220 WASHER 3 BW5
317 411 141 6705 WASHER SPR 5 3 SW5
318 630 000 7756 BOLT,HEX-SCT 3 M5X12
341 411 119 2104 WASHER V 4X9X0.8 6 FW4 F
342 411 008 1706 WASHER SPR 4 6 SW4 F
343 411 043 5004 SCR PAN 4X8 6 M4X8 PAN
351 630 083 5472 TERMINAL 4 741BE-11D-151
352 630 083 5519 ACCESSORY,WIRING 1 741BE-11D-152
353 630 049 3672 BRACKET,WIRING 2 741BE-11D-153
354 630 083 5564 ACCESSORY,WIRING 1 741BE-11D-154
357 630 094 4419 RAIL,WIRING 2
361 630 049 2132 COVER 1 741BE-11D-161
364 630 085 3698 CIRCUIT PROTECTOR 1 741BE-11D-061
365 630 089 7555 CIRCUIT PROTECTOR 1 741BE-11D-055
366 630 083 5410 CIRCUIT PROTECTOR 1 741BE-11D-056
367 630 083 5397 CIRCUIT PROTECTOR 2 741BE-11D-057
368 630 053 8595 EM-CONTACTOR 1 741BE-11D-058
369 630 053 8588 EM-CONTACTOR 2 741BE-11D-059
370 630 000 1853 COMP,CR 3 741BE-11D-060
371 630 000 1051 BRACKET,WIRING 3 741BE-11D-251
374 630 084 3286 PANEL 1 741BE-11V-074