P-213-001e.pdf - 第57页
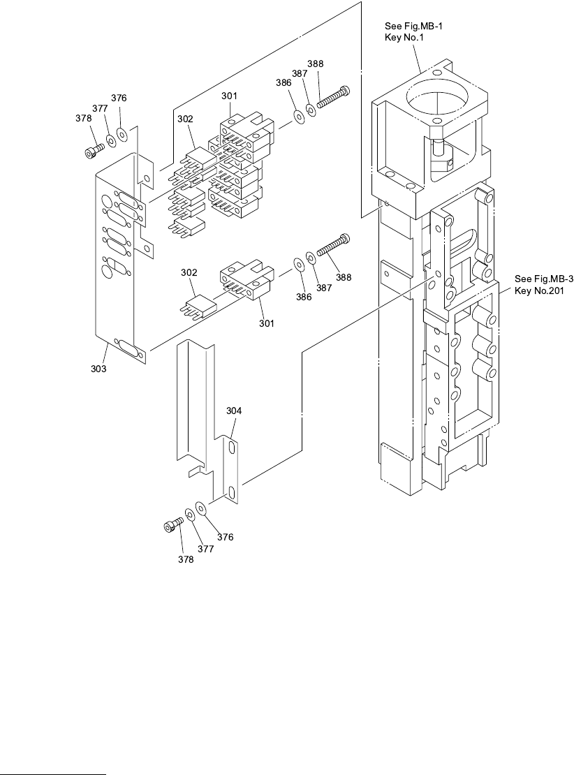
MODEL TIM-5100 0008-001 Key No. P AR T No. P AR T NAME Q’ ty REMARKS NOTE MB-4 2 unit/1 machine 301 630 000 0245 SENSOR,PHOTO 7 741MB-1 1H-301 302 630 000 0269 SENSOR,PHOTO(CONNECT OR) 7 741MB-1 1H-302 303 630 076 3836 B…

MODEL TIM-5100
0008-001
異形ヘッドL部 DEFORM HEAD L SECTION
Fig. MB-4 L軸レベル検出部 L Axis Level Detector

MODEL TIM-5100
0008-001
Key No. PART No. PART NAME Q’ty REMARKS
NOTE
MB-4 2 unit/1 machine
301 630 000 0245 SENSOR,PHOTO 7 741MB-11H-301
302 630 000 0269 SENSOR,PHOTO(CONNECTOR) 7 741MB-11H-302
303 630 076 3836 BRACKET 1 741MB-11B-708
304 630 074 0981 PLATE 1 741MB-11B-707
376 411 141 3902 WASHER V 3X7X0.5 4 FW3
377 411 141 2806 WASHER SPR 3 4 SW3
386 411 119 1909 WASHER V 3X7X0.5 14 FW3 F
387 411 086 4408 WASHER SPR 3 14 SW3 F
388 411 162 1604 SCR PAN 3X20 14 M3X20 PAN

MODEL TIM-5100
0008-001
異形ヘッドL部 DEFORM HEAD L SECTION
Fig. MB-5 ノズルクランプ部 Nozzle Clamp Section