P-213-001e.pdf - 第61页
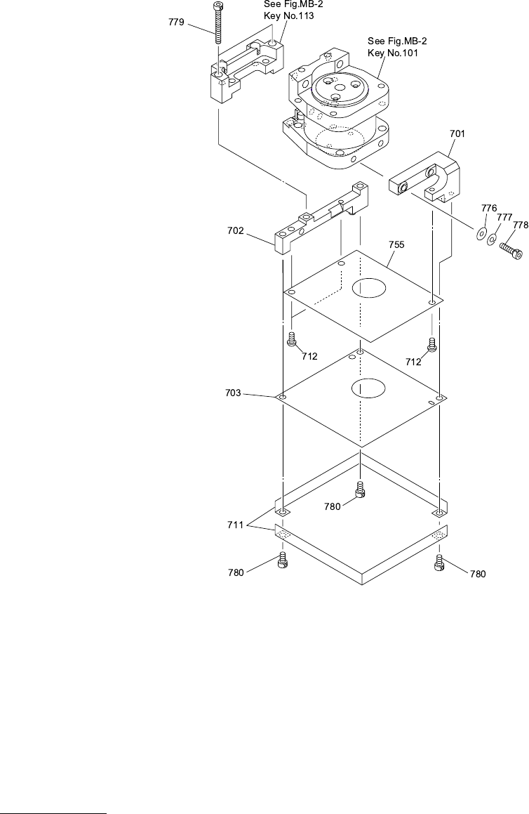
MODEL TIM-5100 0008-001 Key No. P AR T No. P AR T NAME Q’ ty REMARKS NOTE MB-8 2 unit/1 machine 701 630 074 1537 BRACKET 1 741MB-1 1B-701 702 630 074 1544 BRACKET 1 741MB-1 1B-702 703 630 074 0974 PLA TE 1 741MB-1 1B-703…

MODEL TIM-5100
0008-001
異形ヘッドL部 DEFORM HEAD L SECTION
Fig. MB-8 ヘッド照明部 Head Lighting Section

MODEL TIM-5100
0008-001
Key No. PART No. PART NAME Q’ty REMARKS
NOTE
MB-8 2 unit/1 machine
701 630 074 1537 BRACKET 1 741MB-11B-701
702 630 074 1544 BRACKET 1 741MB-11B-702
703 630 074 0974 PLATE 1 741MB-11B-703
711 630 075 1802 BRACKET 2 741MB-11B-711
712 630 069 0644 BOLT 3 741MB-11H-114
754 630 070 3641 LIGHTING UNIT 1 741MB-11D-054
776 411 141 3902 WASHER V 3X7X0.5 2 FW3
777 411 141 2806 WASHER SPR 3 2 SW3
778 630 000 7534 BOLT,HEX-SCT 2 M3X12
779 630 000 7572 BOLT,HEX-SCT 2 M3X25
780 630 000 7503 BOLT,HEX-SCT 3 M3X6

MODEL TIM-5100
0008-001
異形ヘッドL部 DEFORM HEAD L SECTION
Fig. MB-9 マニホールド Manihold