P-213-001e.pdf - 第73页
MODEL TIM-5100 0008-001 Key No. P AR T No. P AR T NAME Q’ ty REMARKS NOTE MC-5 2 unit/1 machine 401 630 082 1505 BLOCK 1 741MC-1 1B-401 402 630 067 8598 LEVER 2 741MC-1 1B-402 403 630 074 2817 SPRING,COMP 2 741MC-1 1B-40…

MODEL TIM-5100
0008-001
異形ヘッドR部 DEFORM HEAD R SECTION
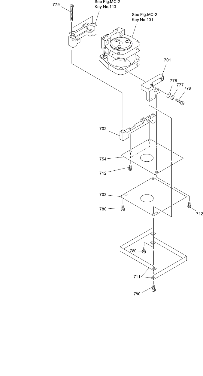
Fig. MC-5 ノズルクランプ部 Nozzle Clamp Section

MODEL TIM-5100
0008-001
Key No. PART No. PART NAME Q’ty REMARKS
NOTE
MC-5 2 unit/1 machine
401 630 082 1505 BLOCK 1 741MC-11B-401
402 630 067 8598 LEVER 2 741MC-11B-402
403 630 074 2817 SPRING,COMP 2 741MC-11B-403
404 630 067 7188 PIN,HINGE 2 741MC-11B-404
405 630 083 4130 ROD 2 741MC-11B-405
406 630 082 1529 NUT 1 741MC-11B-406
407 630 076 5106 CAP 1 741MC-11B-407
408 630 068 6982 RING 4 741MC-11B-408
409 630 007 1740 BEARING,RADIAL 8 741MC-11H-409
410 616 900 0172 RING E 1 8 741MC-11H-410
411 630 076 5090 SEAL 1 741MC-11H-411
412 630 069 5816 AIR LINE EQPT 1 741MC-11H-412

MODEL TIM-5100
0008-001
異形ヘッドR部 DEFORM HEAD R SECTION
Fig. MC-8 ヘッド照明部 Head Lighting Section