P-213-001e.pdf - 第97页
MODEL TIM-5100 0008-001 Key No. P AR T No. P AR T NAME Q’ ty REMARKS NOTE P-2 101 630 083 2396 BASE 1 741P--1 1B-101 102 630 074 0721 BASE 1 741P--1 1B-102 103 630 075 8481 PIN,LOCA TE 20 741SA-1 10-101 171 41 1 141 4008…

MODEL TIM-5100
0008-001
バックアップベ-ス部 BACK-UP BASE SECTION
Fig. P-2 バックアップベ-ス Back-up Base

MODEL TIM-5100
0008-001
Key No. PART No. PART NAME Q’ty REMARKS
NOTE
P-2
101 630 083 2396 BASE 1 741P--11B-101
102 630 074 0721 BASE 1 741P--11B-102
103 630 075 8481 PIN,LOCATE 20 741SA-110-101
171 411 141 4008 WASHER V 4X9X0.8 20 FW4
172 411 141 2905 WASHER SPR 4 20 SW4
173 630 000 7633 BOLT,HEX-SCT 20 M4X12

MODEL TIM-5100
0008-001
バックアップベ-ス部 BACK-UP BASE SECTION
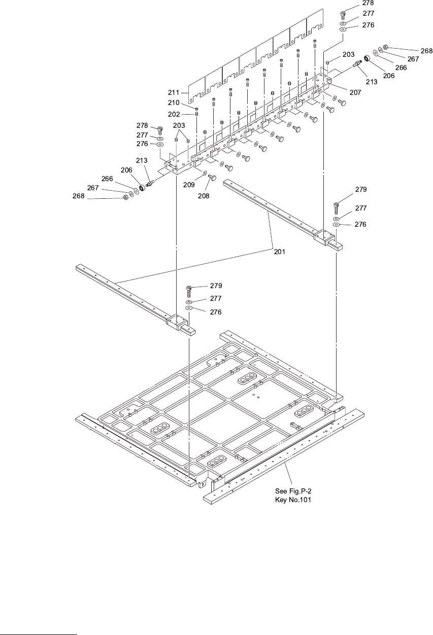
Fig. P-3 位置決めユニット(可動側) Locating Unit (Movable Side)