JM-10_使用说明书 - 第351页
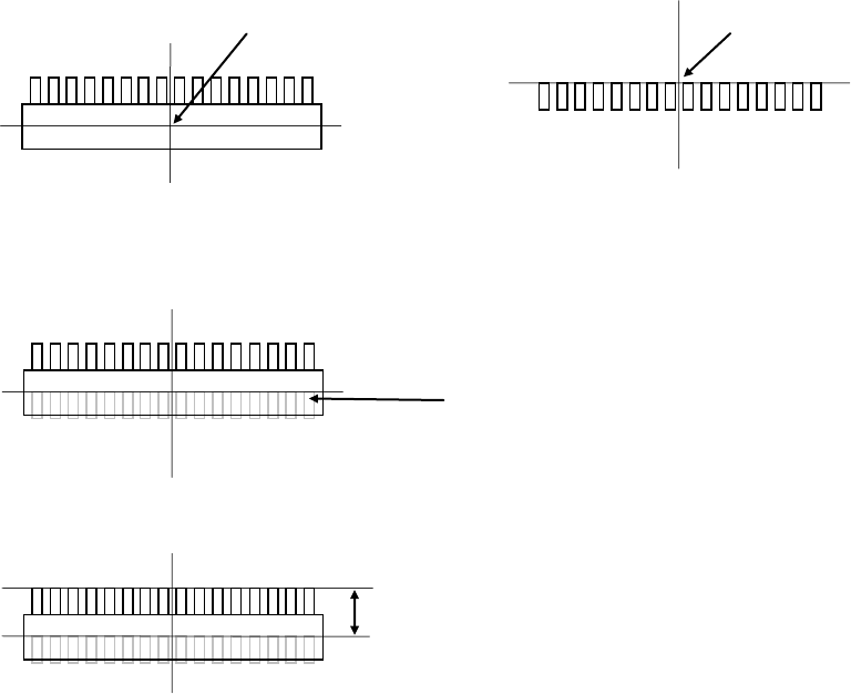
第 1 部 基本篇 第 4 章 制作生产程序 4- 69 例 2) 以下面的元件为例,输 入偏移值 。数值的单位 为“ mm( 毫米 ) ”。 ( ( 无色 ) => 引脚部、 ( 带颜色 ) => 模部、 ( 粗线 ) => Pad ( 焊盘 ) 贴片坐标点 激光高度 基板上的 Pad (焊 盘) 从上面看元件时 从横向 ( 近前方向 ) 看元件时 因贴片坐标点和激光定中心的中心位置不同 ,如这样贴片,会发生贴 片偏…

第 1 部 基本篇 第 4 章 制作生产程序
4-68
2)
θ
轴
设置吸嘴在吸取元件状态下的θ轴速度。
① 测量(选择激光定中心时)
设置激光识别时θ轴的加速度。
② 其他(选择激光定中心时)
设置激光识别以外(激光定中心后的贴片角度的旋转等)的θ轴的加速度。
3) 贴片偏移量
激光定中心方式,是通过激光观察到的元件外形来捕捉元件的中心。
另一方面,CAD数据等,是以元件的实际贴装图形(称为底座或焊盘)的中心为贴片坐标。
由于存在这种关系,元件的引脚部分与基板的底座(或焊盘)可能发生位置偏差。将该差
值作为贴片偏差输入,可将元件贴片到正确的位置。
图像定中心时,在「图像数据」的“控制”中有贴片偏移项。
例
1) 单向引脚连接器
※贴片角度为0度
激光定中心 贴片坐标点
从上面看元件时 基板上的 Pad(焊盘)
如果不输入贴片偏移量而进行贴片,则将出现下述情况。
基板上的 Pad 焊盘
在上图的状态下(贴片角度0度,贴片偏移0),以贴片坐标点为起点,到实际元件贴片坐标
点位置的尺寸,测量后输入到贴片偏移值中。
按上述做法,如输入贴片偏移值,贴片多个同名元件时,即使各贴片角度不是0度,也会自
动变更贴片位置,使元件被贴在正确的位置上。
贴片偏移
-Y(X 为 0)

第 1 部 基本篇 第 4 章 制作生产程序
4-69
例
2) 以下面的元件为例,输入偏移值。数值的单位为“mm(毫米)”。
( (无色) => 引脚部、 (带颜色) => 模部、 (粗线) => Pad(焊盘)
贴片坐标点 激光高度
基板上的 Pad(焊盘) 从上面看元件时 从横向(近前方向)看元件时
因贴片坐标点和激光定中心的中心位置不同,如这样贴片,会发生贴片偏差。因此,请将
贴片坐标点和激光定中心的中心位置的
偏差部分作为偏移值,输入到“贴片偏移值”中
。
在无偏移值状态下贴片时的情况如下:
激光定中心的中心位置
此例中,输入其偏移值使引脚的前端处于Pad(焊盘)的中央位置。
在“贴片偏移”处输入“X=-5.5、Y=-10”后,则按如下方法贴片。
5.5
3
10
2
2
5
5
2

第 1 部 基本篇 第 4 章 制作生产程序
4-70
激光定
中心的中心位置
贴片坐标点
激光定中心的中心位置
激光定中心的中心位置
贴片坐标点
注 1) “贴片偏移”值,请输入从激光定中心的中心位置到贴片坐标点的距离。值的符号如下
(箭头为到贴片坐标点的距离)
例) 按下图贴片时,将贴片偏移输入为“X=0,Y=+3”。
注 2) 偏移值以贴片角度“0”为基准输入。
例) 元件的贴片角度为“90”时,假定贴片角度为“0”,输入“贴片偏移值”。在下列情
况时(贴片角度“90”),输入“X=0、Y=2”。
注 3) 偏移值的输入方法有如本书所述的从「元件数据」的“贴片偏移”输入偏移值和在「贴
片数据」的“X、Y 坐标”上调整偏移值两种方法。
但贴片数据中需要输入各个贴片点的偏移值。因此,当 1 种元件的贴片点数量很多时,
或不想变更贴片数据时,请用「元件数据」的“贴片偏移”输入偏移值。
注 4) 根据元件不同,通过变更「元件数据」—「详述(扩展)」的“激光高度”,有可能改变
定中心的中心位置。因此,有时不输入“贴片偏移”值,改变“激光高度”也能调整贴
片位置。但这种情况下需要在能稳定定中心的位置上设置“激光高度”。
+Y
+X
-
X
-
Y
3
2