00191684-01 - 第10页
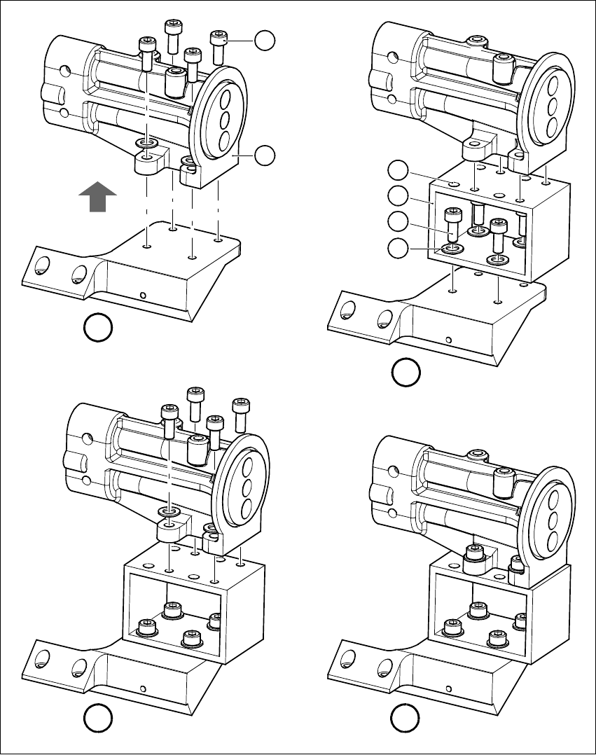
DLM1-Revolverkopf für S-23 HM Umrüstanleitung S-23 H M 5 Vakuumerzeuger höher setzen Ausgabe 10/99 10 5 V akuumerzeuger höher setzen 5 Abb. 5 - 1 Vakuumerzeuger höher se tzen 1 D C B 2 5 3 4 6 A

Umrüstanleitung S-23 HM DLM1-Revolverkopf für S-23 HM
Ausgabe 10/99 4 Vakuumschläuche verlängern
9
Abb. 4 - 1 Vakuumschläuche verlängern
ACHTUNG
Kontrollieren Sie noch einmal anhand Abb. 4 - 1, ob Sie die Vakuumschläuche richtig angeschlos-
sen haben. Es könnte zu Funktionsfehlern am Revolverkopf kommen. 4
5
6
9
8
7
3
4
1
2
10
11
4
6
2

DLM1-Revolverkopf für S-23 HM Umrüstanleitung S-23 HM
5 Vakuumerzeuger höher setzen Ausgabe 10/99
10
5 Vakuumerzeuger höher setzen
5
Abb. 5 - 1 Vakuumerzeuger höher setzen
1
D
C
B
2
5
3
4
6
A

Umrüstanleitung S-23 HM DLM1-Revolverkopf für S-23 HM
Ausgabe 10/99 6 Flachbandkabel ’Vakuumerzeuger’ fixieren
11
Å Lösen Sie die Innensechskantschraube M2,5 x 6 (Pos. 6 in Abb. 3 - 1) der Abdeckung (Pos. 5
in Abb. 3 - 1) und heben Sie die Abdeckung ab.
Å Lösen Sie die vier Innensechskantschrauben (Pos. 1 in Abb. 5 - 1) zur Befestigung des Vaku-
umerzeugers (Pos. 2 in Abb. 5 - 1).
Å Heben Sie den Vakuumerzeuger etwas an (Schritt A in Abb. 5 - 1).
Å Befestigen Sie den im Beipack enthaltenen Aluminium-Vierkant (Pos. 3 in Abb. 5 - 1) mit den
mitgelieferten vier Schnorrscheiben und vier Innensechskantschrauben M4 x 10 (Pos. 4 und
Pos. 6 in Abb. 5 - 1, Schritte B und C in Abb. 5 - 1) auf dem Sockel.
Å Befestigen Sie den Vakuumerzeuger auf dem Aluminium-Vierkant (Schritt D in Abb. 5 - 1)
Å Befestigen Sie die Abdeckung auf dem Vakuumerzeuger.
5
5
5
6 Flachbandkabel ’Vakuumerzeuger’ fixieren
Å Ziehen Sie die Schutzfolie von der Klebefläche des Klettverschlusses ab (Pos. 1 in Abb. 6 - 1).
Å Bringen Sie den Klettverschluß an der Unterseite der Kopfplatine (Pos. 3 in Abb. 6 - 1) unter-
halb des Steckers ’Anschluß Vakuumplatine’ an (Pos. 4 in Abb. 6 - 1).
Å Formen Sie das Flachbandkabel ’Vakuumplatine’ (Pos. 2 in Abb. 6 - 1) zu einer Schlaufe.
Å Ziehen Sie die Folie von der Klebeseite des Klettverschlusses ab (Pos. 1 in Abb. 6 - 1) und
drücken Sie das Kabel vorsichtig gegen die Klebeseite.
VORSICHT 6
Üben Sie gleichzeitig von oben und unten Druck auf die Platine aus, wenn Sie das Kabel mit
dem Klettverschluß befestigen. Sie vermeiden so, daß sich die Platine verbiegt oder bricht.6