Terminal board left side_20211119_101044 - 第2页

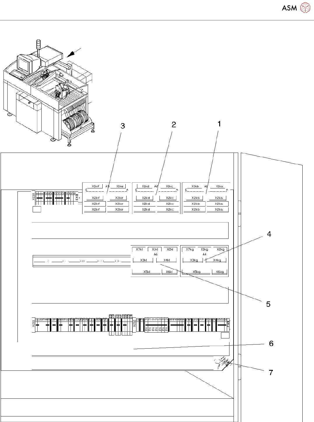
Terminal board left side Page 2 / 2 19.11.2021 Pos. Item no. Description Part marking 00344265-02 TERMINAL BOARD (LEFT SIDE) 80S4 1 00327250-01 TERMINAL CARD COMBINATION A1 2 00327251-01 TERMINAL CARD COMBINATION A2 3 00…

100%1 / 2
Terminal board left side
Page 1 / 2 19.11.2021
Terminal board left side
Page 2 / 2 19.11.2021
Pos. Item no. Description Part marking
00344265-02 TERMINAL BOARD (LEFT SIDE) 80S4
1 00327250-01 TERMINAL CARD COMBINATION A1
2 00327251-01 TERMINAL CARD COMBINATION A2
3 00327252-01 TERMINAL CARD COMBINATION A3
4 00327283-02 OPTICAL DECOUPLING UNIT SPARE PART
5 00327284-02 OPTICAL DECOUPLING UNIT SPARE PART
6 00321526-01 TERMINAL BOARD (LEFT SIDE) WITH
CABLE CH
7 00344639-01 GROUND CONNECTION M4
Powered by TCPDF (www.tcpdf.org)