P-0219-001 - 第20页
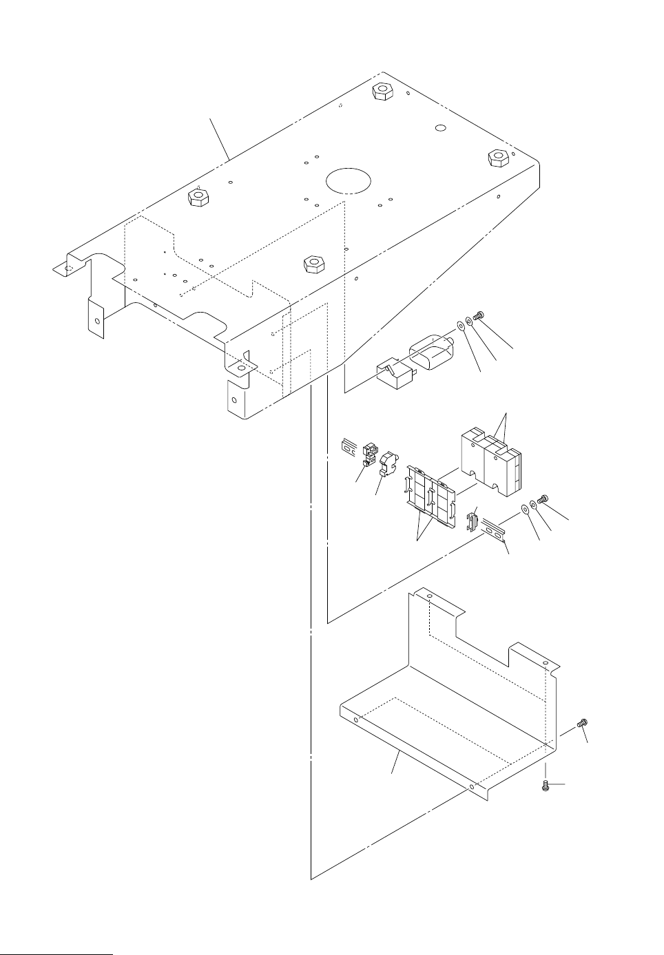
MODEL CV-5062FR 0208-001 延長コンベアFR Extended Conveyor FR Fig. HR-4 電装部品 Electrical Parts 351 355 353 . 354 352 356 357 326 327 328 319 319 317 331 332 333 Fig.HR-4 CV-5062FR See Fig.HR-1 Key No.16

Key No. PART No. PART NAME Q’ty REMARKS
NOTE
MODEL CV-5062FR
0208-001
HR-3
213 630 060 6973 SENSOR,PHOTO 2 -BPH641,-BPH642 742HRF11H-013
227 630 075 2311 BRACKET 1 742HRF11B-027
228 630 075 2328 BRACKET 1 742HRF11B-028
229 630 075 2335 BLOCK 2 742HRF11B-029
232 630 086 6728 BRACKET 1 742HRF11B-032
234 630 075 1055 CYLINDER 1 -YSV601 742HRF11H-034
235 630 075 1772 VALVE 1 -YSV601 742HRF11H-035
236 630 003 5124 AIR LINE EQPT 2 742HRF11H-036
237 630 071 9192 AIR LINE EQPT 2 742HRF11H-037
266 411 141 4107 WASHER V 5X10X1 2 FW5
267 411 141 6705 WASHER SPR 5 2 SW5
268 630 000 7749 BOLT,HEX-SCT 2 M5X10
271 411 141 4008 WASHER V 4X9X0.8 8 FW4
272 411 141 2905 WASHER SPR 4 8 SW4
273 630 000 7619 BOLT,HEX-SCT 4 M4X8
274 630 000 7657 BOLT,HEX-SCT 4 M4X16
276 411 119 1909 WASHER V 3X7X0.5 10 FW3 F
277 411 086 4408 WASHER SPR 3 10 SW3 F
278 411 113 0700 SCR PAN 3X16 6 M3X16 PAN
279 411 054 6809 NUT HEX 3 4 M3 F

MODEL CV-5062FR
0208-001
延長コンベアFR Extended Conveyor FR
Fig. HR-4 電装部品 Electrical Parts
351
355
353
.
354
352
356
357
326
327
328
319
319
317
331
332
333
Fig.HR-4
CV-5062FR
See Fig.HR-1
Key No.16

Key No. PART No. PART NAME Q’ty REMARKS
NOTE
MODEL CV-5062FR
0208-001
HR-4
317 630 075 2243 COVER 1 742HRF11B-017
319 411 140 8007 SCR TRS 5X6 4 M5X6 TRS
326 411 088 1702 WASHER V 5X10X1 2 FW5 F
327 411 008 2109 WASHER SPR 5 2 SW5 F
328 411 113 2803 SCR PAN 5X8 2 M5X8 PAN
331 411 119 2104 WASHER V 4X9X0.8 1 FW4 F
332 411 008 1706 WASHER SPR 4 1 SW4 F
333 411 043 5004 SCR PAN 4X8 1 M4X8 PAN
351 630 049 1210 RELAY 2 -KSSR601,-KSSR602
742HRF11D-051
352 630 049 1661 BRACKET,WIRING 2 742HRF11D-052
353 630 049 1173 FUSE HOLDER 1 742HRF11D-053
354 423 025 1904 FUSE 250V 1.6A 1 -F601 742HRF11D-054
355 630 049 3672 BRACKET,WIRING 1 742HRF11D-055
356 630 000 1051 BRACKET,WIRING 1 742HRF11D-056