KE-3020_KE-3020R-Rev07 - 第135页
- - REF.NO NOTE PARTNO DESCRIPTION Qty 1 400-71448 FPI3020FRONTASSY 1 2 400-94866 FPI_ASSY_F (1) 3 400-94868 FPI_BRACKET_B (1) 4 400-94869 FPI_COVER_B (1) 5 SM-6030402-TN SCREWM3X4 (7) 6 E6025-729-…

- -
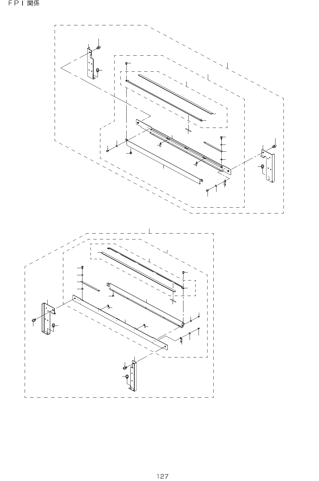
64.FPICOMPONENTS
4
5
5
6
7
8
9
1 2
1 3
1 4
1 5
1 6
1 8
3
2
2 2
2 1
2 1
3 3
3 4
3 2
3 8
3 9
4 0
2 5
3 6
2 6
2 7
2 8
2 9
3 1
3 5
4 2
4 4
4 3
4 4
2 5
2 4
2 3
3 7
1
1 7
1 1
2 0
2 1
2 1
4 4
4 4
1 0
1 9
1 0
3 0
3 0
4 1

- -
REF.NO NOTE PARTNO DESCRIPTION Qty
1 400-71448 FPI3020FRONTASSY 1
2 400-94866 FPI_ASSY_F (1)
3 400-94868 FPI_BRACKET_B (1)
4 400-94869 FPI_COVER_B (1)
5 SM-6030402-TN SCREWM3X4 (7)
6 E6025-729-0A0 FPICOVERU20ASM. (1)
7 E6025-729-000 FPICOVERU20 (1)
8 E6028-729-000 FPIPLATE20 (1)
9 SM-6030402-TN SCREWM3X4 (2)
10 400-94870 HARNESS_CLAMP_A (2)
11 SM-6030402-TN SCREWM3X4 (4)
12 E8626-729-0A0 FPILEDBOARDASM. (4)
13 SM-5030801-SC SCREWM3X0.5L=8 (8)
14 E2143-715-000 TIMERSPACERA (8)
15 E4901-760-000 POLYSLIDERTHRUSTWASHER (8)
16 WP-0320501-SC WASHERM3 (2)
17 WP-0320501-SC WASHERM3 (4)
18 E6033-729-000 FPIINSULATIONSHEET (0.2)
19 400-94871 HARNESS_CLAMP_B (2)
20 400-94872 FPI_SIDE_BRACKET_L (1)
21 SL-6061292-TN SCREW (6)
22 400-94873 FPI_SIDE_BRACKET_R (1)
23 400-71449 FPI3020REARASSY 1
24 400-94867 FPI_ASSY_R (1)
25 SM-6030402-TN SCREWM3X4 (7)
26 E6025-729-0A0 FPICOVERU20ASM. (1)
27 E6025-729-000 FPICOVERU20 (1)
28 E6028-729-000 FPIPLATE20 (1)
29 SM-6030402-TN SCREWM3X4 (2)
30 400-94870 HARNESS_CLAMP_A (2)
31 SM-6030402-TN SCREWM3X4 (4)
32 E8626-729-0A0 FPILEDBOARDASM. (4)
33 SM-5030801-SC SCREWM3X0.5L=8 (8)
34 E2143-715-000 TIMERSPACERA (8)
35 E4901-760-000 POLYSLIDERTHRUSTWASHER (8)
36 WP-0320501-SC WASHERM3 (2)
37 WP-0320501-SC WASHERM3 (4)
38 E6033-729-000 FPIINSULATIONSHEET (0.2)
39 400-94868 FPI_BRACKET_B (1)
40 400-94869 FPI_COVER_B (1)
41 400-94871 HARNESS_CLAMP_B (2)
42 400-94872 FPI_SIDE_BRACKET_L (1)
43 400-94873 FPI_SIDE_BRACKET_R (1)
44 SL-6061292-TN SCREW (6)

- -
65.CVSCOMPONENTS
4
6
6
7
7
7
8
1 2
1 2
1 0
1 0
1 0
1 0
1 0
1 1
1 1
1 1
1 1
1 2
1 3
1 4
1 5
1 6
1 7
1 8
1 2
3
5
6
9
9
9
9
1
2 1
2
2 0
1 9