00191027-01 - 第290页
7 Visionsystems Istruzioni per l’uso SIPLACE 80 S/F/G 7.7 Breve guida descrittiva delle f orme involucro Edizione 07/97 Versione software dalla SR.010.xx 7 - 98 Preparato re Fig. 7.7. 2 Trasm issione dati GF con manipola…

Istruzioni per l’uso SIPLACE 80 S/F/G 7 Visionsystems
Edizione 07/97 Versione software dalla SR.010.xx 7.7 Breve guida descrittiva delle forme involucro
Preparatore 7 - 97
7.7 Breve guida descrittiva delle forme involucro
7.7.1 Trasmissione dati ed interprete GF
Se un file GF viene trasmesso alla stazione senza file.SST, l‘interprete GF fa uso di determinati settaggi per la
misura della GF che si basano sulla descrizione di GF.
Fig. 7.7.1 Trasmissione dati GF senza manipolazione GF
Nel controller della macchina dei dispositivi automatici di montaggio SIPLACE 80 S-15/F3 si trova l‘interprete GF.
I componenti di comunicazione trasmettono i segnali per la gestione dell’illuminazione dall‘MC alle telecamere.
Compiti dell‘interprete GF
–
selezione automatica di modalità di misura appropriate
–
selezione automatica dei parametri di misura
–
analisi automatica differenziata cubico/non cubico
–
impostazione automatica dell’illuminazione
L‘interprete GF opera automaticamente con componenti standard e con determinati componenti speciali. Altri
componenti dovranno eventualmente essere perfezionati in seguito. Se è necessario manipolare i settaggi
della forma involucro, tali modifiche verranno salvate nel file.SST e ritrasmesse poi al calcolatore di linea.
Manipolatore GF
CL
●
Biblioteca GF
●
Descrizione GF e componenti
●
Assegnazione pipette
●
Selezione telecamere
Disco fisso
.OGF
Interprete GF
●
Selezione autom. modalità misura
●
Selezione modalità misura
CS
MVS

7 Visionsystems Istruzioni per l’uso SIPLACE 80 S/F/G
7.7 Breve guida descrittiva delle forme involucro Edizione 07/97 Versione software dalla SR.010.xx
7 - 98 Preparatore
Fig. 7.7.2 Trasmissione dati GF con manipolazione dati GF
Se una forma involucro viene trasmessa alla stazione con un file.SST, per misurare le forme involucro ver-
ranno impiegati i settaggi del file.SST. L‘interprete GF rimarrà inattivo.
7.7.2 Diagrammi a blocchi per la programmazione ed il controllo di
una forma involucro (GF)
Nei dispositivi automatici di montaggio SIPLACE, il centraggio dei componenti viene effettuato con sistema
ottico, per il quale si deve innanzitutto generare la descrizione della forma involucro del componente nel cal-
colatore di linea SIPLACE. Per le definizione le misure delle forme involucro Vi consigliamo di consultare
sempre il foglio dati.
I settaggi GF potranno essere modificati nella stazione. Si possono impiegare diversi metodi di misura.
Insieme ai metodi di misura variano anche i settaggi dell‘illuminazione. Combinando bene tutte le possibilità di
configurazione del sistema ottico è possibile centrare quasi tutti i componenti.
Fate tuttavia attenzione, perché moltissime forme involucro sono già definite in via standard, quindi la manipo-
lazione di forme involucro nella stazione dovrebbe rimanere un‘eccezione.
Per questo motivo Vi offriamo come servizio la definizione GF di componenti speciali e di componenti difficili
da centrare. In caso di necessità siete pregati di rivolger Vi al nostro servizio di applicazione.
CL
.OGF
CS
MVS
.SST
IMPORTANTE:
La manipolazione di componenti nella stazione dovrà rimanere un‘eccezione.
In generale si dovranno modificare solo pochi componenti.
Disco fisso
●
Biblioteca GF
●
Descrizione GF e componenti
●
Assegnazione pipette
●
Selezione telecamere
Interprete GF
●
Selezione autom. modalità misura
●
Selezione modalità misura
Manipolatore GF

Istruzioni per l’uso SIPLACE 80 S/F/G 7 Visionsystems
Edizione 07/97 Versione software dalla SR.010.xx 7.7 Breve guida descrittiva delle forme involucro
Preparatore 7 - 99
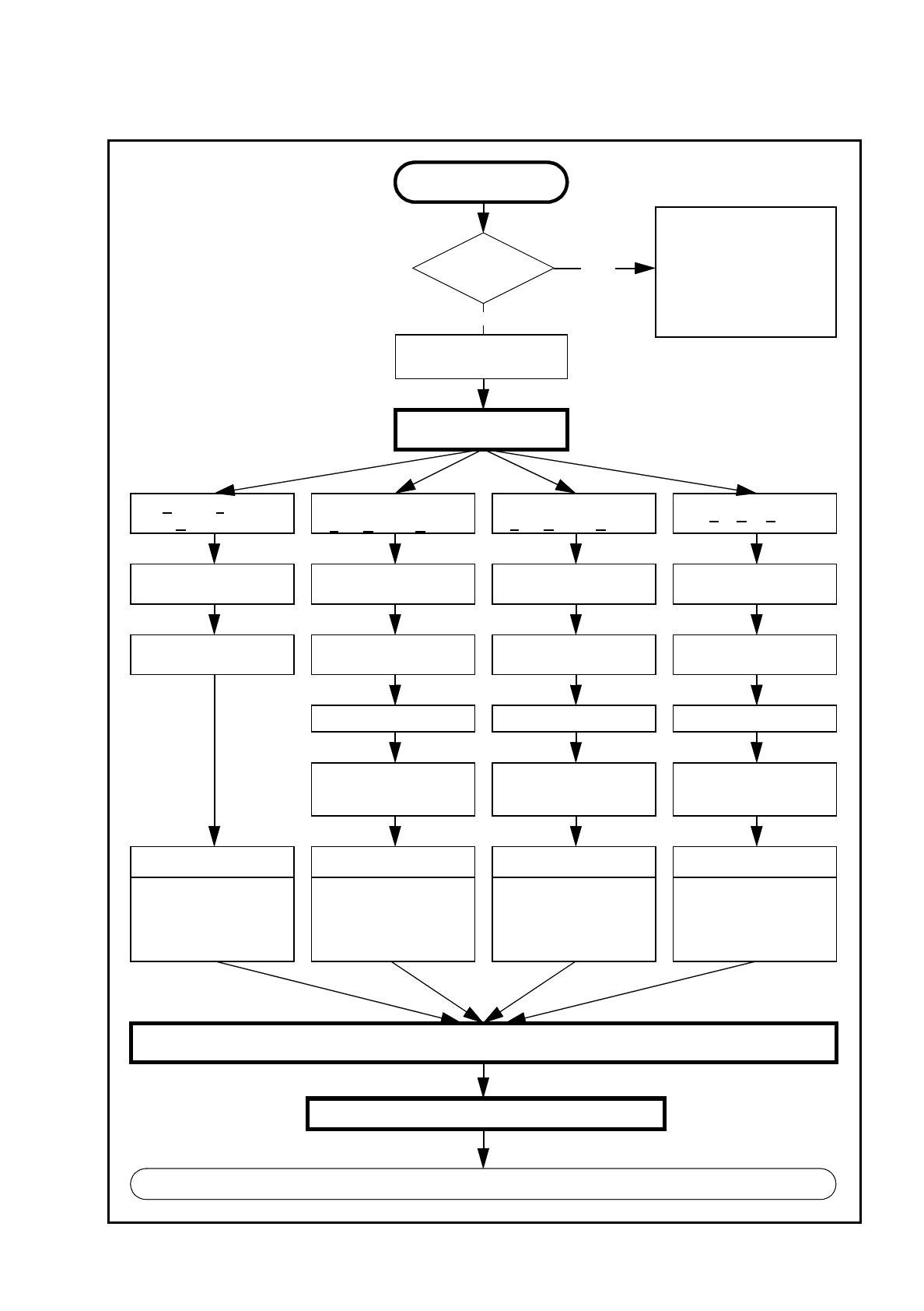
Fig. 7.7.3 Diagramma a blocchi "Programmazione e controllo di una forma involucro (GF)", Parte 1 - calcolatore di linea
Fate attenzione al fatto che
nel caso degli FI standard si
può modificare il riconosci-
mento del CO con TESTA
CO (se necessario copiare
il file FI trasformandolo in
un altro file [_file.SST])
Si
File
GF disponi-
bile?
Programmare il file FI
con il n. >1499
No
Selezione tipo involucro
FDC irregolari
F
ully Defined Comp.
FDC
regolari
F
ully Defined Comp.
Partially defined
C
omponent
Ball Grid Array
Inserire
commento utente
Inserire
commento utente
Inserire
commento utente
Inserire
commento utente
Misure nominali GF e
valori di tolleranza
Misure nominali GF e
valori di tolleranza
Misure nominali GF e
valori di tolleranza
Misure nominali GF e
valori di tolleranza
Dimensioni dei corpiDimensioni dei corpi Dimensioni dei corpi
Programm. gruppi
di piedini e
dati modelli piedini
Programm. gruppi
di piedini e
dati modelli piedini
Programm. griglia ball
e dati modello ball
Nuovo componente
Dati di lavorazione
tipo pipette (telecamera)/
tipo sistema sensori/
controlli vuoto/ parametri
di lavor./ ridurre acceler.
Dati di lavorazione
tipo pipette (telecamera)/
tipo sistema sensori/
controlli vuoto/ parametri
di lavor./ ridurre acceler.
Dati di lavorazione
tipo pipette (telecamera)/
tipo sistema sensori/
controlli vuoto/ parametri
di lavor./ ridurre acceler.
Dati di lavorazione
tipo pipette (telecamera)/
tipo sistema sensori/
controlli vuoto/ parametri
di lavor./ ridurre acceler.
SALVARE
Continuazione della programmazione nella stazione (vedi Fig. 7.7.4)
Programmare informazioni supplementari file