00191027-01 - 第452页
Istruzioni per l’uso SIPLACE 80 S/F/G 9 Manutenzione Edizione 07/97 Versione software dalla SR.010.xx 9.7 Scambiatore automatico di vassoi 9 - 93 - Didascal ia del la Fig. 9 .7.3 1 Pi astr a di acc ettazione per i suppo …

9 Manutenzione Istruzioni per l’uso SIPLACE 80 S/F/G
9.7 Scambiatore automatico di vassoi Edizione 07/97 Versione software dalla SR.010.xx
9 - 92
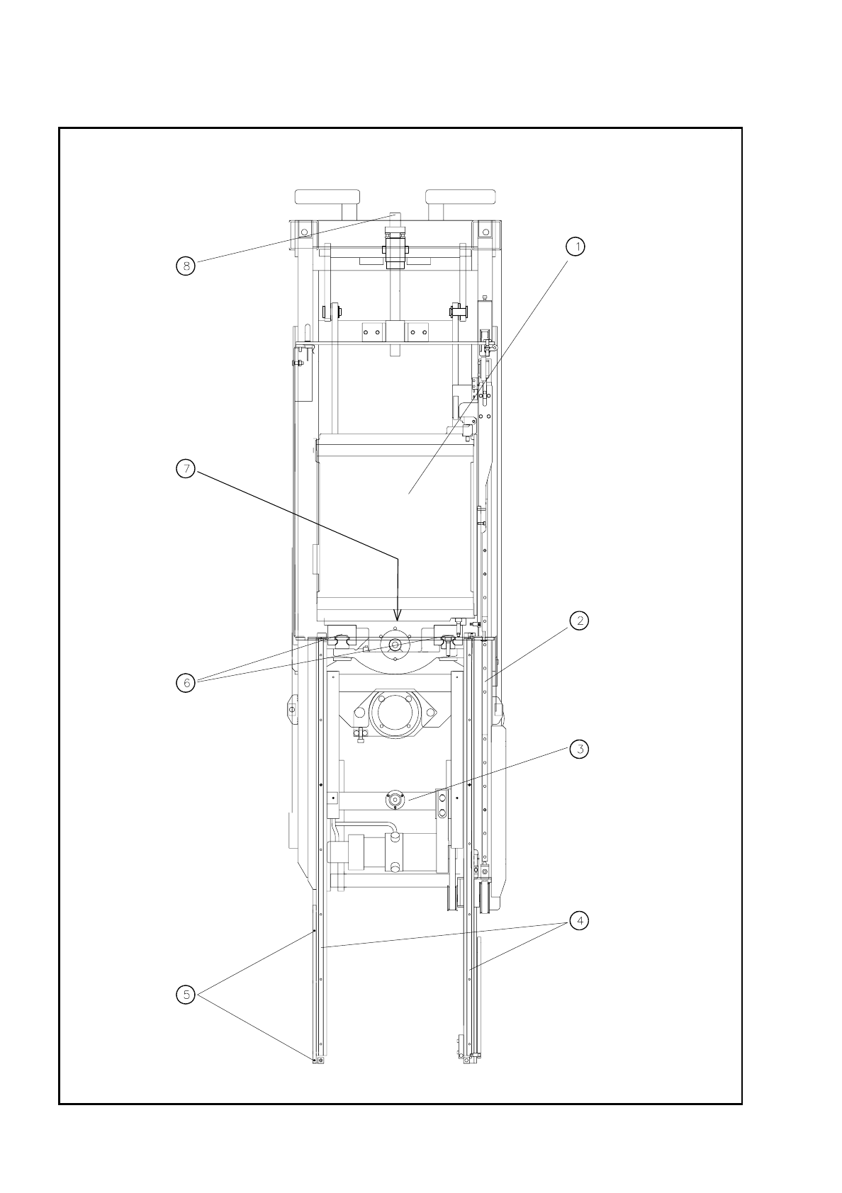
Fig. 9.7.3 Manutenzione delle guide e dell’asse z di sollevamento dello scamb. autom. di vassoi

Istruzioni per l’uso SIPLACE 80 S/F/G 9 Manutenzione
Edizione 07/97 Versione software dalla SR.010.xx 9.7 Scambiatore automatico di vassoi
9 - 93
- Didascalia della Fig. 9.7.3
1 Piastra di accettazione per i supporti dei caricatori
2 Guida per carrello
3 Livella a bolla d’aria della macchina
4 Listello per l’appoggio dei supporti caricatore
5 Fiducial di riferimento
6 Guide dell’asse di sollevamento z
7 Ingrassatore dell’asse di sollevamento
8 Sollevare/abbassare
9.7.6 Operazioni conclusive
●
Inserite il SAV con il carrello elevatore nel dispositivo automatico, come viene descritto nel Capitolo
„Messa a disposizione dei componenti“.
●
Controllate poi l’indicazione della livella a bolla d’aria nello scambiatore automatico di vassoi.
●
Se necessario rispingete i supporti dei caricatori inclusi i caricatori nella traccia giusta.
●
AssicurateVi che i caricatori siano disposti di nuovo nel modo giusto.
INDICAZIONE
Nel rimontare i supporti dei caricatori, fate attenzione a rispingere il caricatore n. 1 nella posizione di rota-
zione precedente della traccia 1 (ecc...)! In caso contrario quando riprenderà il montaggio si avrà una con-
dizione indefinita che potrà portare a guasti nell’accettazione dei componenti da parte dello scambiatore
automatico di vassoi.
Non è quindi sufficiente che controlliate solamente l’assegnazione dei CO rispetto alle tracce dello scam-
biatore automatico di vassoi con l’aiuto della visualizzazione ATTUALE dell’allestimento dello scambia-
tore automatico di vassoi nel menu Funzioni singole.
●
Ripristinate il collegamento a spina dell’interfaccia e dell’alimentazione di corrente nello statore della mac-
china.
●
Dopo l’avvio di un programma di montaggio che preleva anche componenti dallo scambiatore automatico
di vassoi, la videocamera CS passerà automaticamente sopra alla fiducial nello scambiatore automatico di
vassoi e calcolerà la sua posizione.

9 Manutenzione Istruzioni per l’uso SIPLACE 80 S/F/G
9.7 Scambiatore automatico di vassoi Edizione 07/97 Versione software dalla SR.010.xx
9 - 94