00191027-01 - 第551页
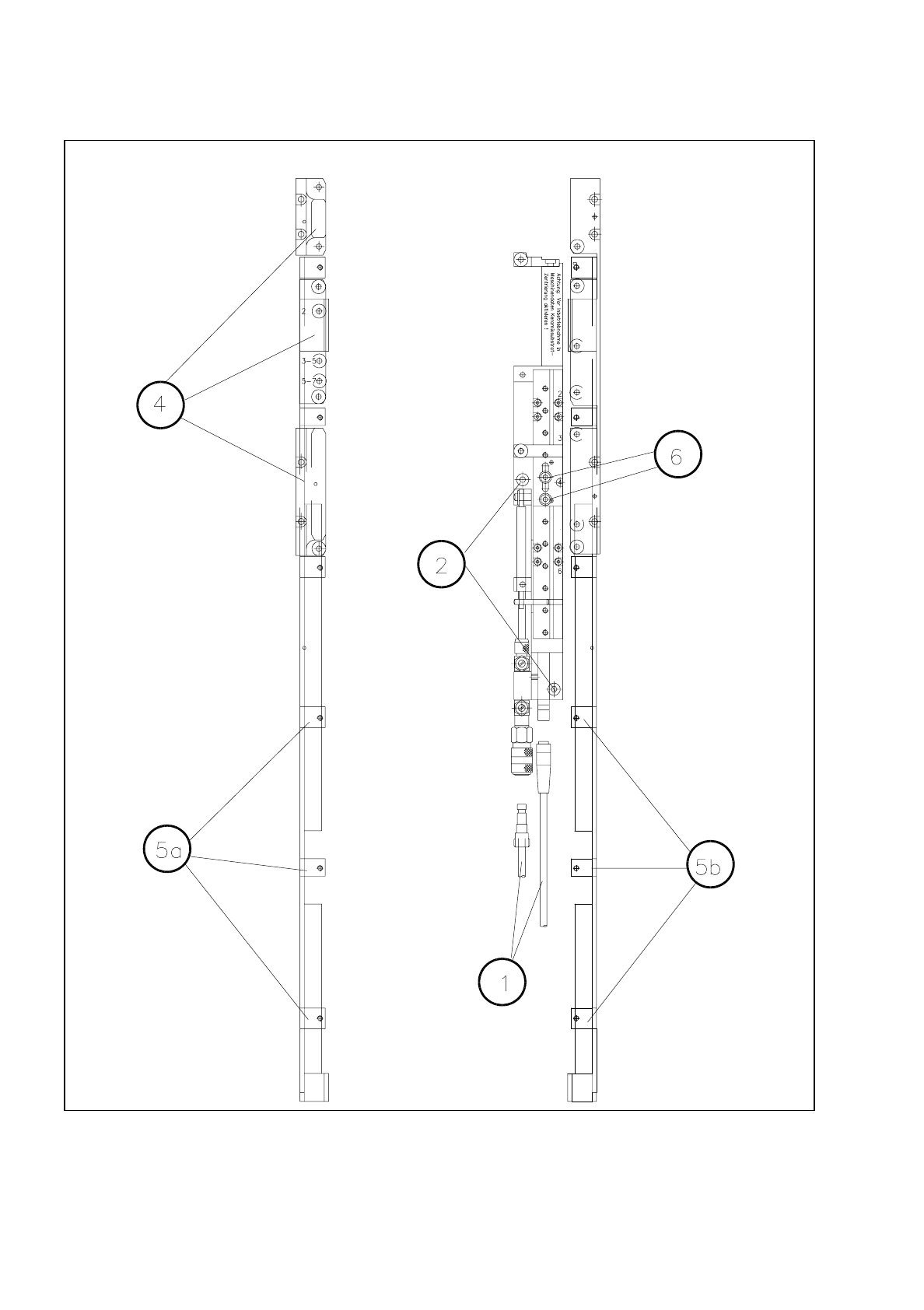
11 Aggiunte alla Stazione Istruzioni per l’uso SIPLACE 80 S/F/G 11.6 Centraggio del substrato in ceramica Edizione 07/97 Versione software dalla SR.010.xx 11 - 26 Fig. 11.6.1 Raffiguraz ione complessiva (vista dall’alto)

Istruzioni per l’uso SIPLACE 80 S/F/G 11 Aggiunte alla Stazione
Edizione 07/97 Versione software dalla SR.010.xx 11.6 Centraggio del substrato in ceramica
11 - 25
11.6 Centraggio del substrato in ceramica
11.6.1 In generale
Il centraggio del substrato in ceramica viene utilizzato per arrestare in direzione x ed y substrati in ceramica in
modo tale che la loro posizione sia stabile e salvaguardando il materiale. Inoltre i substrati in ceramica
potranno essere montati fino al margine del substrato.
11.6.2 Cambio del substrato in ceramica con circuito scheda
●
Staccate la conduttura pneumatica e la linea elettrica di collegamento (vedi Punto
1
nella
Fig. 11.6.1
).
●
Estraete il centraggio del substrato in ceramica (vedi Punto
2
nella
Fig. 11.6.1
).
●
Smontate la base del centraggio del substrato in ceramica (vedi Punto
3
nella
Fig. 11.6.2
).
●
Estraete i tre pezzi di fissaggio (vedi Punto
4
nella
Fig. 11.6.1
) e montate in questo punto la guida stan-
dard.
●
Montate l'angolo di abbassamento (vedi Punto
5a
e
5b
nella
Fig. 11.6.1
).
●
Settate le misure del circuito scheda (vedi Punto
6
nella
Fig. 11.6.1
).
●
Per i comandi nelle "Funzioni singole" consultate anche la
sezione 6.4 "Funzioni di trasporto dell'80 S"
di
questo manuale d'uso.
11.6.3 Manutenzione
-
La guida rotante delle sfere nel centraggio X deve essere pulita ed ingrassata.
-
All'occorrenza controllare il funzionamento dell'azionamento pneumatico.
-
Eseguite la manutenzione del trasporto come è stata descritta nella
sezione 9.3.2 "Trasporto dei circuiti
scheda"
.

11 Aggiunte alla Stazione Istruzioni per l’uso SIPLACE 80 S/F/G
11.6 Centraggio del substrato in ceramica Edizione 07/97 Versione software dalla SR.010.xx
11 - 26
Fig. 11.6.1 Raffigurazione complessiva (vista dall’alto)

Istruzioni per l’uso SIPLACE 80 S/F/G 11 Aggiunte alla Stazione
Edizione 07/97 Versione software dalla SR.010.xx 11.6 Centraggio del substrato in ceramica
11 - 27
Fig. 11.6.2 Centraggio del substrato in ceramica (vista di lato)
11.6.4 Dati tecnici
Misure di substrato utilizzabili 50mm x 50mm (2" x 2") fino a mass. 7"
Altre misure su richiesta
Alimentazione pneumatica 5 bar
❒