FX-3-Rev11(-J) - 第41页
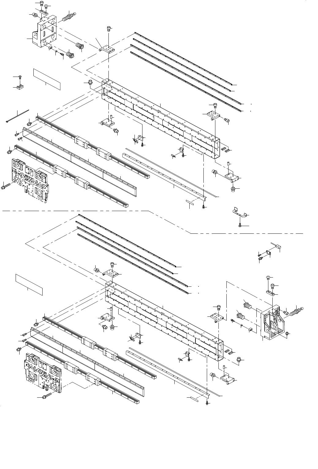
- 36 - REF.NO NOTE PART NO D E S C R I P T I O N 品 名 Qty 1 400-0217 1 YL OR G SENS ASM YL 原点センサ組 2 2 400-46708 LINEAR_GUIDE_Y リニアガイド Y 2 3 400-47984 Y LINE AR MOTOR ASM Y リニアモータ組 2 4 400-48018 LINEAR MOTOR STATOR リニアモータ固…

- 35 -
18.X-Y COMPONENTS (3)(RIGHT STATION)
X − Y 関係(3)(右ステーション)
4
5
6
6
7
7
6
8
9
10
11
9
8
10
11
7
8
10
9
11
15
14
16
17
26
27
34
33
36
35
38
37
39
40
41
95
43
42
45
46
46
45
34
33
32
40
39
41
35
43
43
44
44
42
46
36
47
47
49
49
48
48
51
50
51
50
53
52
53
52
53
53
52
57
56
55
54
57
56
54
55
79
58
58
59
59
95
3
31
13
13
63
64
65
65
65
66
66
66
67
67
67
68
69
70
70
69
68
68
69
70
37
38
72
71
1
76
78
75
74
94
76
78
75
23
77
71
80
80
84
83
85
87
25
88
90
96
96
3
82
B
72
1
18
81
77
65
67
66
69
70
68
15
14
16
17
97
73
6
7
8
10
9
11
2
2
42
32
43
47
49
47
49
44
44
95
42
95
46
45
52
45
60
61
89
19
24
20
21
30
28
28
30
62
93
28
30
29
30
61
60
12
22
98
82
92
91
91
88
87
86
84
83
B
85
31

- 36 -
REF.NO NOTE PART NO D E S C R I P T I O N
品 名
Qty
1 400-02171 YL ORG SENS ASM
YL 原点センサ組
2
2 400-46708 LINEAR_GUIDE_Y
リニアガイド Y
2
3 400-47984 Y LINEAR MOTOR ASM
Y リニアモータ組
2
4 400-48018 LINEAR MOTOR STATOR
リニアモータ固定子
2
5 SM-6051602-TN BOLT
六角穴ボルト
64
6 400-46713 Y STOPPER
Y ストッパ
4
7 SM-6126002-TN SCREW M12 L=60
六角穴ボルト M 12 L =60
4
8 PA-9000740-00 SHOCK ABSORBER
ショック アブソーバ
4
9 E2778-721-000 STOPPER RUBBER
ストッパゴム
4
10 E2779-721-000 STOPPER COLLAR
ストッパカラー
4
11 SL-6031292-TN BOLT
座金付き六角穴ボルト
4
12 400-82670 Y FRAME END FAN CABLE B ASM
Y フレームエンドファンケーブル B 組
1
13 400-46708 LINEAR GUIDE Y
リニアガイド Y
2
14 400-46720 FSD BRACKET
FSD ブラケット
2
15 SL-6051292-TN BOLT
座金付き六角穴ボルト
4
16 E2157-729-000 FSD SPACER
FSD スペーサ
2
17 SL-4031481-SC SCREW M3 X 14
なべ小ねじセムス M 3 X 0.5 L =14
8
18 400-47498 FD-FLOAT(FR)RECEIVE SENS ASM
フィーダ浮きセンサ(FR)受光組
1
19 HX-0034400-00 HARNESS PARTS
束線パーツ
1
20 SM-3040652-TN SCREW M4 L=6
丸ねじ M 4 L =6
1
21 WP-0450816-SC WASHER
ヒラザガネ
1
22 400-82676 Y FRAME END FAN CABLE E ASM
Y フレームエンドファンケーブル E 組
1
23 400-47495 FD-FLOAT(FF)SENS ASM
フィーダ浮きセンサ(FF)投光組
1
24 NM-6040003-SC NUT M4
六角ナット M 4
1
25 400-81949 CABLE CLAMP YN
ケーブルクランプ YN
1
26 400-47496 FD-FLOAT(FF)RECEIVE SENS ASM
フィーダ浮きセンサ(FF)受光組
1
27 400-47497 FD-FLOAT(FR)SENS ASM
フィーダ浮きセンサ(FR)投光組
1
28 HX-0029400-00 FIXED BASE
固定ベース
3
29 HX-0034400-00 HARNESS PARTS
束線パーツ
1
30 SL-4030691-SC SCREW M3X6
なべ小ねじセムス M 3 X 0.5 L =6
4
31 400-46735 Y LINEAR BASE S ASM
Y リニアベース S 組
2
32 400-47385 Y LINEAR BASE S
Y リニアベース S
(1)
33 SM-6051602-TN BOLT
六角穴ボルト
(16)
34 SL-6052592-TN BOLT
座金付き六角穴ボルト
(6)
35 SM-6051602-TN BOLT
六角穴ボルト
(12)
36 SL-6052592-TN BOLT
座金付き六角穴ボルト
(3)
37 HX-0029400-00 FIXED BASE
固定ベース
(7)
38 SM-4040601-SC SCREW M4X0.7 L=6
なべ小ねじ M 4 X 0.7 L =6
(7)
39 E2778-721-000 STOPPER RUBBER
ストッパゴム
(1)
40 E2779-721-000 STOPPER COLLAR
ストッパカラー
(2)
41 SL-6031292-TN BOLT
座金付き六角穴ボルト
(2)
42 400-46717 Y MSH BRACKET S
YMSH ブラケット S
(2)
43 SL-6041292-TN SCREW
座金付き六角穴ボルト
(4)
44 SL-6030892-TN SCREW
座金付き六角穴ボルト
(4)
45 400-46719 Y MSW BRACKET S
YMSW ブラケット S
(2)
46 SL-6041292-TN SCREW
座金付き六角穴ボルト
(4)
47 400-47390 MSU BRACKET
MSU ブラケット
(2)
48 SL-6040892-TN BOLT
座金付き六角穴ボルト
(2)
49 SL-6030692-TN BOLT
座金付き六角穴ボルト
(4)
50 400-47387 LINEAR SCRAPER BRACKET
リニアスクレイパブラケット
(1)
51 SL-6041292-TN SCREW
座金付き六角穴ボルト
(2)
52 400-47388 LINEAR SCRAPER
リニアスクレイパ
(2)
53 SL-6030892-TN SCREW
座金付き六角穴ボルト
(4)
54 400-66149 Y FAN60 BRACKET S
Y ファン60ブラケット S
(1)
55 SL-6040892-TN BOLT
座金付き六角穴ボルト
(4)
56 400-66151 Y HEAT SINK S
Y ヒートシンク S
(1)
57 SL-6041292-TN SCREW
座金付き六角穴ボルト
(3)
58 400-93510 Y FAN GUARD C
ファンガード60
(2)
59 SL-4042591-SC SCREW M4 L=25
座金付きなべ小ねじ M 4 L =25
(8)
60 SM-4040801-SC SCREW M4X0.7 L=8
なべ小ねじ M 4 X 0.7 L =8
(2)
61 HX-0034400-00 HARNESS PARTS
束線パーツ
(2)
62 HX-0005600-0A SPACER B
スペ−サ− B
1
63 400-48018 LINEAR MOTOR STATOR
リニアモータ固定子
2
64 SM-6051602-TN BOLT
六角穴ボルト
64
65 400-46713 Y STOPPER
Y ストッパ
4
66 SM-6126002-TN SCREW M12 L=60
六角穴ボルト M 12 L =60
4
67 PA-9000740-00 SHOCK ABSORBER
ショック アブソーバ
4
68 E2778-721-000 STOPPER RUBBER
ストッパゴム
4
69 E2779-721-000 STOPPER COLLAR
ストッパカラー
4
70 SL-6031292-TN BOLT
座金付き六角穴ボルト
4
71 400-46718 Y ORG BRACKET
YORG ブラケット
2
72 SL-6051292-TN BOLT
座金付き六角穴ボルト
4
73 400-70397 FD-FLOAT(RF)SENS ASM
フィーダ浮きセンサ(RF)投光組
1
74 400-70398 FD-FLOAT(RF)RECEIVE SENS ASM
フィーダ浮きセンサ(RF)受光組
1
75 400-46720 FSD BRACKET
FSD ブラケット
2
76 SL-6051292-TN BOLT
座金付き六角穴ボルト
4
77 E2157-729-000 FSD SPACER
FSD スペ−サ
2
78 SL-4031481-SC SCREW M3 X 14
なべ小ねじセムス M 3 X 0.5 L =14
8
79 400-82672 Y FRAME END FAN CABLE D ASM
Y フレームエンドファンケーブル D 組
1
80 400-47389 MSC GUARD S
MSC ガード S
2
81 SL-6051092-TN BOLT
座金付き六角穴ボルト
6
82 400-46709 CABLE BEAR Y
ケーブルベア Y
2
83 SL-6061292-TN SCREW
座金付き六角穴ボルト
8
84 400-46721 PLASTIC RAIL SUPPORT Y
プラスチックレールサポート Y
2
85 SM-3061252-TN SCREW M6 L=12
丸ねじ M 6 L =12
8
86 401-02721 CABLE_CLAMP_YF
ケーブルクランプ YF
1
87 400-47386 CABLE CLAMP RUBBER Y
ケーブルクランプラバー Y
2
88 SL-6061292-TN SCREW
座金付き六角穴ボルト
4
89 400-46722 CB BRACKET YC
CB ブラケット YC
1
90 SL-6062592-TN SCREW
座金付き六角穴ボルト
2
91 400-46727 CB BRACKET YSA
CB ブラケット YSA
2
92 SL-6061292-TN SCREW
座金付き六角穴ボルト
4
93 NM-6030001-SC NUT M3
六角ナット M 3 X 0.5 1種
1
94 400-70399 FD-FLOAT(RR)SENS ASM
フィーダ浮きセンサ(RR)投光組
1
95 400-44532 MAGNETIC SCALE Y SENOR UNIT
マグネチックスケール Y センサユニット
4
96 400-91396 MAGNETIC SCALE Y
マグネスケール Y
2
97 400-70400 FD-FLOAT(RR)RECEIVE SENS ASM
フィーダ浮きセンサ(RR)受光組
1
98 400-82671 Y FRAME END FAN CABLE C ASM
Y フレームエンドファンケーブル C 組
1

- 37 -
19.X-Y COMPONENTS (4)
X − Y 関係(4)
3 53
3
53
2
4
4
2
8
8
9
10
8
8
3
53
3
53
4
2
14
15
15
14
22
22
13
13
13
23
16
16
17
19
20
11
10
27
29
29
30
30
31
31
34
34
33
26
35
12
35
36
36
20
37
37
40
40
41
51
41
17
38
39
51
32
32
39
38
16
23
42
43
44
45
24
46
47
47
48
48
50
49
21
28
28
18
36
1
1
2
25
25
25
25
4
9
9
9
52
26
20
18
51
52
5
5
6
7
7
6
7
7
36
11
51
23
33