Base for basic unit SIPLACE 80S3_20211119_035129 - 第17页
Base for basic unit SIPLACE 80S3 Page 17 / 23 19.11.2021

Base for basic unit SIPLACE 80S3
Page 16 / 23 19.11.2021

Base for basic unit SIPLACE 80S3
Page 17 / 23 19.11.2021

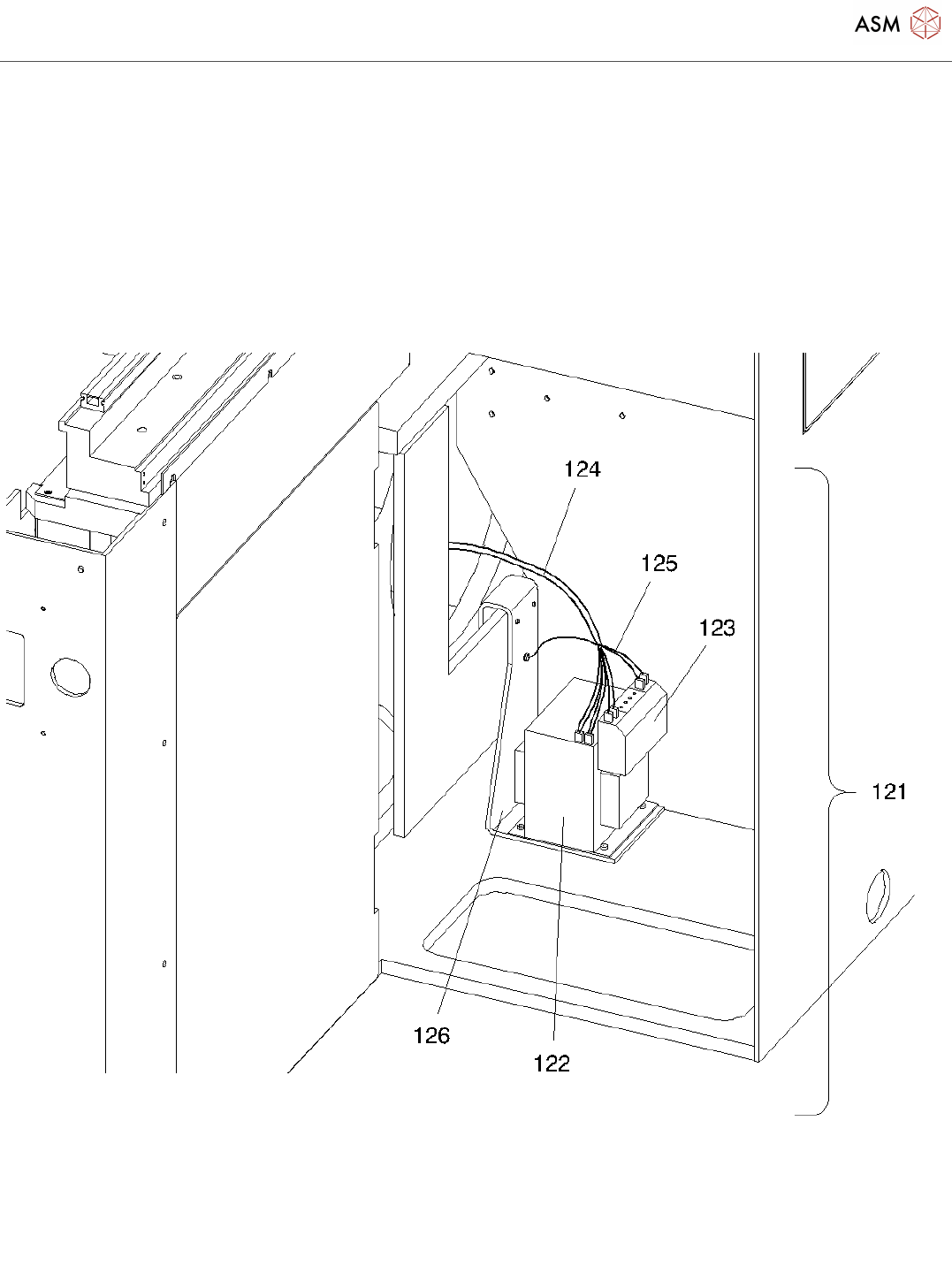
Base for basic unit SIPLACE 80S3
Page 18 / 23 19.11.2021
Pos. Item no. Description Part marking
00312346-01 FRAME - BASE UNIT SIPLACE S3
COMPL.
00303903-03 FRAME - BASIC UNIT
3 00316758-03 CONTAINER, SMALL
4 00200964-17 WELDED FRAME
5 00300479-06 U-SECTION W. MOTOR POWER OFF
6 00300480-06 U-SECTION W. SOCKET-OUTLET
7 00300483-07 COVER
8 00300484-06 COVER
9 00300485-04 COVER
10 00300486-05 PROTECTION
13 00300494-04 U-SECTION
14 00300495-03 U-SECTION
15 00316921-01 MACHINE FOOT RD 120 M24
00304184-01 LOCK WITH DOUBLE BIT / BAR
00304191-01 DIN 43668 - 3 - C35 STANDARD PARTS
18 00304400-02 COVER ANGLE SPARE
19 00308717-01 COVER
20 00304635-02 SLIDING PLATE
21 00322191-03 SLIDING PLATE
22 00322190-02 SLIDING PLATE
23 00312348-01 STRIP WITH GUIDE RAIL
24 00300478-09 STRIP
25 00305671-01 GUIDE RAIL TKD25N 1780MM LONG
26 00304590-04 GUIDING UNIT
27 00315594-01 CAM ROLLER KR 16 X SPARE PART
28 00316720-09 MONITOR SUPPORT (2)
29 00304251-01 SQUARE PLUG
30 00200170-03 CROSSHEAD
31 00307420-01 GROMMET
32 00317563-01 MAIN ERROR DISPLAY
00808033-01 LAMP 24V/4W
00305809-02 CABLE: MAIN ERROR DISPLAY
38 00200171-01 BOLT
39 00317965-07 SUPPORT ARM