N7201A005C - 第21页
CM602-L 安装手册 1.1 设置准备 Page 1-3 1.1.3 搬送 ∗ 在搬送之前,请务必将 整体交换台车以及直 接托盘供料器从主体 上拆卸。 A) 往载重汽车上装 卸时使用叉车或吊 车。 使用叉车时 请操作叉车,以使如下 图所示的中心标签与 货叉中心相吻合。 使用吊车时 ( 需用特殊的吊起工具。 ) ∗ 1 : 带孔螺栓,请务必确实地拧紧至 螺栓根部。 4Z4C-814E 特殊的吊起工具 钢丝绳 带孔螺栓 ∗ 1 …

CM602-L
安装手册
1.1
设置准备
Page 1-2
1.
1.1
设置准备
1.1.1
设置场所的选择
1.
将机器放置于水平的场所。
2.
基础
设置的基础必须为水平的混凝土地板。
请确认地基有无足够的耐久力。
∗
地基的耐久力
: 6570 N/m
2
以上
3.
条件
(
应无水汽凝结
)
•
温度
:
10
°
C ~ 35
°
C
•
湿度
: 25% RH ~ 75% RH
4.
其它条件
参照由客户准备的配置图,并确保维修作业所需的足够空间。
1.1.2
配置图
使用由客户准备的配置图,划机器的基准线。
EJM8A-C-IMB01-A01-00

CM602-L
安装手册
1.1
设置准备
Page 1-3
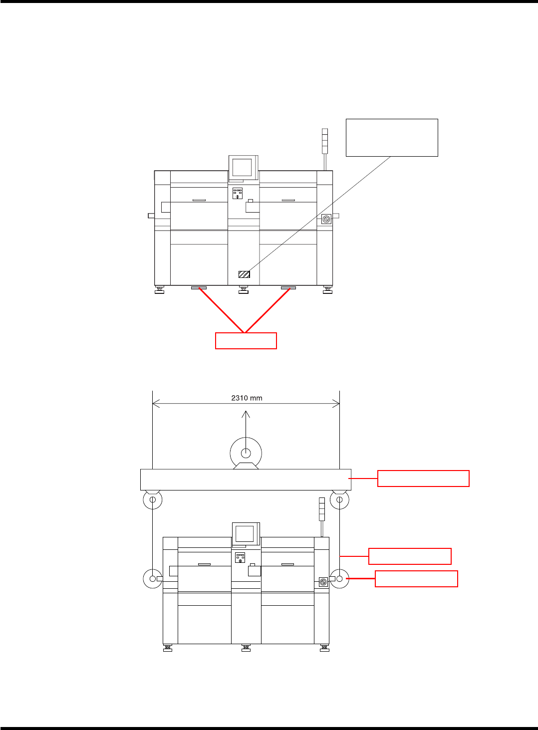
1.1.3
搬送
∗
在搬送之前,请务必将整体交换台车以及直接托盘供料器从主体上拆卸。
A)
往载重汽车上装卸时使用叉车或吊车。
使用叉车时
请操作叉车,以使如下图所示的中心标签与货叉中心相吻合。
使用吊车时
(
需用特殊的吊起工具。
)
∗
1
:
带孔螺栓,请务必确实地拧紧至螺栓根部。
4Z4C-814E
特殊的吊起工具
钢丝绳
带孔螺栓
∗
1
EJM8A-C-IMB01-A01-00
4Z4C-805E
MASS: 3400 kg
CENTER
6
货叉

CM602-L
安装手册
1.1
设置准备
Page 1-4
B)
工厂内移动时
(
单位
: mm)
1.
转动水平衬垫的调整螺栓,使机器下面高于托盘台车
(H)
。
2.
把托盘台车插到机器下面。
3.
此时,为使货叉的中心与下面的标签箭头相吻合
,
把货叉放入机器下面。
4.
使托盘台车上升,托起机器。
5.
运送至合适位置。
4Z4C-805E
货叉
MASS: 3400 kg
CENTER
6
EJM4A-150E
基板搬送高度
锁定螺母
水平衬垫
调整螺栓
EJM8A-C-IMB01-A01-00